CN202823953U - Cleaning device for battery panel of solar street light - Google Patents
Cleaning device for battery panel of solar street light Download PDFInfo
- Publication number
- CN202823953U CN202823953U CN201220380674.5U CN201220380674U CN202823953U CN 202823953 U CN202823953 U CN 202823953U CN 201220380674 U CN201220380674 U CN 201220380674U CN 202823953 U CN202823953 U CN 202823953U
- Authority
- CN
- China
- Prior art keywords
- solar
- water pipe
- panel
- solar battery
- battery panel
- Prior art date
- Legal status (The legal status is an assumption and is not a legal conclusion. Google has not performed a legal analysis and makes no representation as to the accuracy of the status listed.)
- Expired - Lifetime
Links
- 238000004140 cleaning Methods 0.000 title claims abstract description 13
- XLYOFNOQVPJJNP-UHFFFAOYSA-N water Substances O XLYOFNOQVPJJNP-UHFFFAOYSA-N 0.000 claims abstract description 23
- 239000007921 spray Substances 0.000 claims abstract description 11
- 239000000428 dust Substances 0.000 abstract description 11
- 230000000694 effects Effects 0.000 abstract description 5
- 238000005406 washing Methods 0.000 abstract description 4
- 230000009286 beneficial effect Effects 0.000 abstract description 2
- 238000011086 high cleaning Methods 0.000 abstract description 2
- 238000000034 method Methods 0.000 description 4
- 238000009825 accumulation Methods 0.000 description 1
- 239000012530 fluid Substances 0.000 description 1
- 238000011010 flushing procedure Methods 0.000 description 1
- 238000005507 spraying Methods 0.000 description 1
Images
Classifications
-
- Y—GENERAL TAGGING OF NEW TECHNOLOGICAL DEVELOPMENTS; GENERAL TAGGING OF CROSS-SECTIONAL TECHNOLOGIES SPANNING OVER SEVERAL SECTIONS OF THE IPC; TECHNICAL SUBJECTS COVERED BY FORMER USPC CROSS-REFERENCE ART COLLECTIONS [XRACs] AND DIGESTS
- Y02—TECHNOLOGIES OR APPLICATIONS FOR MITIGATION OR ADAPTATION AGAINST CLIMATE CHANGE
- Y02E—REDUCTION OF GREENHOUSE GAS [GHG] EMISSIONS, RELATED TO ENERGY GENERATION, TRANSMISSION OR DISTRIBUTION
- Y02E10/00—Energy generation through renewable energy sources
- Y02E10/50—Photovoltaic [PV] energy
Landscapes
- Cleaning By Liquid Or Steam (AREA)
Abstract
一种太阳能路灯电池板清扫装置,包括灯杆、灯杆上的太阳能电池板,本实用新型在太阳能电池板上端设置喷淋水管;喷淋水管通过设置在灯杆上的水管与加压泵连接;加压泵与水源连接;在喷淋水管上设置有均匀分布的一排小孔或一长槽缝,该小孔或长槽缝对着太阳能电池板的表面。本实用新型的有益效果为,可将太阳能电池板表面的灰尘冲刷干净,使电池板上的灰尘在冲刷过程中得到清除,以达到清洁的效果。且清扫方便,随时可清扫;率投入少成本低,省时省力省机械;清扫工作效高;变高空作业为地面作业,安全可靠。
A solar street light battery board cleaning device, including a light pole and a solar battery panel on the light pole. The utility model is provided with a spray water pipe on the top of the solar battery board; the spray water pipe is connected to a pressure pump through a water pipe arranged on the light pole The booster pump is connected to the water source; a row of small holes or a long slot evenly distributed are arranged on the spray water pipe, and the small holes or long slots face the surface of the solar panel. The beneficial effect of the utility model is that the dust on the surface of the solar battery panel can be washed away, so that the dust on the solar battery panel can be removed during the washing process, so as to achieve the effect of cleaning. It is convenient to clean and can be cleaned at any time; low investment and low cost, saving time, labor and machinery; high cleaning efficiency; changing high-altitude operations to ground operations, safe and reliable.
Description
技术领域 technical field
本实用新型属于一种太阳能电池板清扫装置结构技术领域,尤其属于一种太阳能路灯电池板清扫装置结构技术领域。 The utility model belongs to the structural technical field of a solar panel cleaning device, in particular to the structural technical field of a solar street lamp battery panel cleaning device.
背景技术 Background technique
太阳能路灯已被广泛采用,但在一些灰尘较在的地区使用,短短三、四个月时间太阳能电池板上就会积起一层厚的灰尘,使得太阳能的效果降低,此时需要将太阳板上积尘清除,改善太阳板的工作条件。因灯杆过高清扫不是很方便,传统做法用升降机把人举起到太阳能电池板的高度清扫灰尘,这一做法效率低,投入大,还存在安全隐患。 Solar street lights have been widely used, but in some dusty areas, a thick layer of dust will accumulate on the solar panels in just three or four months, which will reduce the effect of solar energy. The dust accumulated on the board is removed to improve the working conditions of the solar panel. Because it is not very convenient to sweep the light poles in high definition, the traditional method is to lift people up to the height of the solar panels to clean the dust. This method is inefficient, requires a lot of investment, and has potential safety hazards.
发明内容 Contents of the invention
本实用新型正是为了解决上述问题,提供一种太阳能电池板清扫装置。本实用新型可将太阳能电池板表面的灰尘冲刷干净,使电池板上的灰尘在冲刷过程中得到清除,以达到清洁的效果。 The utility model provides a solar battery panel cleaning device in order to solve the above problems. The utility model can wash away the dust on the surface of the solar battery panel, so that the dust on the solar battery panel can be removed during the washing process, so as to achieve the effect of cleaning.
本实用新型采用如下技术方案实现。 The utility model adopts following technical scheme to realize.
一种太阳能路灯电池板清扫装置,包括灯杆、灯杆上的太阳能电池板,本实用新型在太阳能电池板上端设置喷淋水管;喷淋水管通过设置在灯杆上的水管与加压泵连接;加压泵与水源连接;在喷淋水管上设置有均匀分布的一排小孔或一条长槽缝,该小孔或长槽缝对着太阳能电池板的表面。 A solar street light battery board cleaning device, including a light pole and a solar battery panel on the light pole. The utility model is provided with a spray water pipe on the top of the solar battery board; the spray water pipe is connected to a pressure pump through a water pipe arranged on the light pole The booster pump is connected to the water source; a row of small holes or a long slot evenly distributed are arranged on the spray water pipe, and the small holes or long slots face the surface of the solar panel.
本实用新型的有益效果为,可将太阳能电池板表面的灰尘冲刷干净,使电池板上的灰尘在冲刷过程中得到清除,以达到清洁的效果。且清扫方便,随时可清扫;率投入少成本低,省时省力省机械;清扫工作效高;变高空作业为地面作业,安全可靠。 The beneficial effect of the utility model is that the dust on the surface of the solar battery panel can be washed away, so that the dust on the solar battery panel can be removed during the washing process, so as to achieve the effect of cleaning. It is convenient to clean and can be cleaned at any time; low investment and low cost, saving time, labor and machinery; high cleaning efficiency; changing high-altitude operations to ground operations, safe and reliable.
下面结合附图和具体实施方式对本实用新型做进一步解释。 Below in conjunction with accompanying drawing and specific embodiment, the utility model is further explained.
附图说明 Description of drawings
图1为本实用新型结构示意图。 Fig. 1 is the structural representation of the utility model.
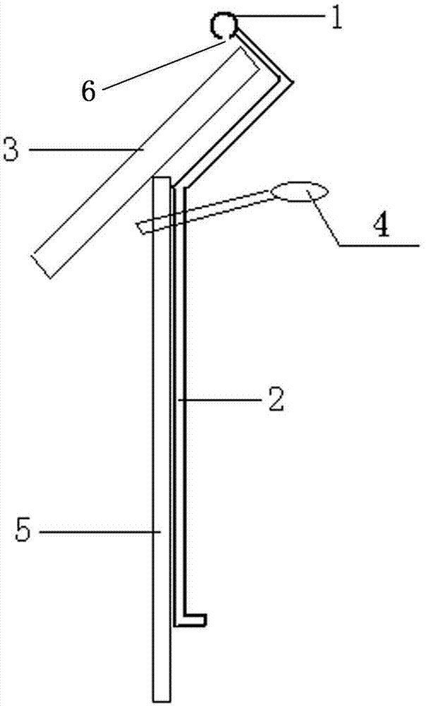
图中:1、喷淋水管;2、输水管;3、太阳能电池板;4、路灯;5灯杆;6、小孔或长槽缝。 In the figure: 1. Sprinkler water pipe; 2. Water delivery pipe; 3. Solar panel; 4. Street lamp; 5. Light pole; 6. Small hole or long slot.
具体实施方式 Detailed ways
见图1,一种太阳能路灯电池板清扫装置,包括灯杆、灯杆上的太阳能电池板,本实用新型在太阳能电池板上端设置喷淋水管;喷淋水管通过设置在灯杆上的水管与加压泵连接;加压泵与水源连接;在喷淋水管上设置有均匀分布的一排小孔或一条长槽缝,该小孔或长槽缝对着太阳能电池板的表面。 See Fig. 1, a kind of solar street light battery panel cleaning device, comprises light pole, the solar battery panel on the light pole, the utility model is provided with spraying water pipe on the upper end of solar battery board; The booster pump is connected; the booster pump is connected with the water source; a row of small holes or a long slot evenly distributed are arranged on the spray water pipe, and the small holes or long slots face the surface of the solar panel.
安装在太阳能电池板上边沿的管子下方钻一排小孔或开一长槽,使其对着太阳板上表面,管子两端封闭,用一加压泵桶将水或清洗液送到路灯最高点,当水从管中喷出时开成水帘(幕),并带有一定压力喷洒到太阳能电池板的表面,即可将太阳能电池板表面的灰尘冲刷干净,使电池板上的灰尘在冲刷过程中得到清除,以达到清洁的效果。 Drill a row of small holes or open a long slot under the tube installed on the edge of the solar panel so that it faces the surface of the solar panel. The two ends of the tube are closed, and a pressurized pump bucket is used to send water or cleaning fluid to the street lamp. When the water sprays out from the pipe, it forms a water curtain (curtain) and sprays it on the surface of the solar panel with a certain pressure, which can wash away the dust on the surface of the solar panel, so that the dust on the panel It is removed during the flushing process to achieve the cleaning effect.
另外,本实用新型也可以在太阳能电池板下端设置有一个积水槽,方便冲洗完的水收集后沿设置在灯杆上排水管排下。 In addition, the utility model can also be provided with a water accumulation tank at the lower end of the solar cell panel, so that the water after washing is conveniently collected and discharged along the drainpipe arranged on the light pole.
Claims (1)
Priority Applications (1)
| Application Number | Priority Date | Filing Date | Title |
|---|---|---|---|
| CN201220380674.5U CN202823953U (en) | 2012-08-02 | 2012-08-02 | Cleaning device for battery panel of solar street light |
Applications Claiming Priority (1)
| Application Number | Priority Date | Filing Date | Title |
|---|---|---|---|
| CN201220380674.5U CN202823953U (en) | 2012-08-02 | 2012-08-02 | Cleaning device for battery panel of solar street light |
Publications (1)
| Publication Number | Publication Date |
|---|---|
| CN202823953U true CN202823953U (en) | 2013-03-27 |
Family
ID=47935749
Family Applications (1)
| Application Number | Title | Priority Date | Filing Date |
|---|---|---|---|
| CN201220380674.5U Expired - Lifetime CN202823953U (en) | 2012-08-02 | 2012-08-02 | Cleaning device for battery panel of solar street light |
Country Status (1)
| Country | Link |
|---|---|
| CN (1) | CN202823953U (en) |
Cited By (5)
| Publication number | Priority date | Publication date | Assignee | Title |
|---|---|---|---|---|
| CN103406315A (en) * | 2013-09-02 | 2013-11-27 | 山东理工大学 | Automatic road lamp cleaning machine |
| CN104438179A (en) * | 2014-10-17 | 2015-03-25 | 德翰智慧科技有限公司 | Cleaning device for insulator of power transmission tower |
| CN105057238A (en) * | 2015-07-10 | 2015-11-18 | 成都科力夫科技有限公司 | Method for automatically washing surface of outdoor suspended object |
| CN108734968A (en) * | 2018-05-08 | 2018-11-02 | 深圳市乐业科技有限公司 | A kind of electronic police monitoring device having for traffic safety |
| CN111795344A (en) * | 2020-07-23 | 2020-10-20 | 漳州市灿华电子科技有限公司 | Intelligent control safety street lamp |
-
2012
- 2012-08-02 CN CN201220380674.5U patent/CN202823953U/en not_active Expired - Lifetime
Cited By (7)
| Publication number | Priority date | Publication date | Assignee | Title |
|---|---|---|---|---|
| CN103406315A (en) * | 2013-09-02 | 2013-11-27 | 山东理工大学 | Automatic road lamp cleaning machine |
| CN104438179A (en) * | 2014-10-17 | 2015-03-25 | 德翰智慧科技有限公司 | Cleaning device for insulator of power transmission tower |
| CN104438179B (en) * | 2014-10-17 | 2016-09-28 | 德翰智慧科技有限公司 | Cleaning device for insulator of power transmission tower |
| CN105057238A (en) * | 2015-07-10 | 2015-11-18 | 成都科力夫科技有限公司 | Method for automatically washing surface of outdoor suspended object |
| CN108734968A (en) * | 2018-05-08 | 2018-11-02 | 深圳市乐业科技有限公司 | A kind of electronic police monitoring device having for traffic safety |
| CN111795344A (en) * | 2020-07-23 | 2020-10-20 | 漳州市灿华电子科技有限公司 | Intelligent control safety street lamp |
| CN111795344B (en) * | 2020-07-23 | 2022-01-18 | 漳州市灿华电子科技有限公司 | Intelligent control safety street lamp |
Similar Documents
| Publication | Publication Date | Title |
|---|---|---|
| CN204503681U (en) | An electric automatic control cleaning device | |
| CN202823953U (en) | Cleaning device for battery panel of solar street light | |
| CN207185356U (en) | A kind of green cultivating and growing wall | |
| CN206046531U (en) | A kind of salted egg cleaning machine of energy-conserving and environment-protective | |
| CN202510069U (en) | Gas-liquid phase dedusting device for operation of downhole drilling machine of coal mine | |
| CN203578261U (en) | Annual water jet gastrodia elata cleaning machine | |
| CN104550160B (en) | A kind of solar panel high efficiency smart cleaning device | |
| CN2889139Y (en) | Energy-saving rainwater window washer | |
| CN206051591U (en) | A kind of cesspool cleaning plant | |
| CN204208872U (en) | A glass substrate cleaning machine | |
| CN202604728U (en) | Glass curtain wall washer utilizing recycled rainwater | |
| CN207174531U (en) | tank cleaning device | |
| CN206392597U (en) | A kind of steel cylinder production and processing deashing device | |
| TW201541036A (en) | Solar panel cleaning method | |
| CN201988549U (en) | Device for cleaning bottle by jetting inversely | |
| CN202164568U (en) | Snow sucking machine | |
| CN202765789U (en) | Belt sweeping box | |
| CN203061482U (en) | Stationary Water Spray Solar Panel Cleaning System | |
| CN204380454U (en) | A kind of coal-burning boiler dust arrester | |
| CN211212956U (en) | Dust collector for building site | |
| CN202136561U (en) | Washing device | |
| CN201988486U (en) | Dry type paint spraying booth | |
| CN209565289U (en) | Chamfering belt automatic flushing device | |
| CN204530576U (en) | A kind of pavement cleaning deduster anti-clogging garbage disposer | |
| CN206392463U (en) | A kind of sucker rod No clean greasy dirt retracting device |
Legal Events
| Date | Code | Title | Description |
|---|---|---|---|
| C14 | Grant of patent or utility model | ||
| GR01 | Patent grant | ||
| CP01 | Change in the name or title of a patent holder | ||
| CP01 | Change in the name or title of a patent holder |
Address after: 617114 Anning Industrial Park, Yanbian County, Panzhihua City, Sichuan Province Patentee after: Panzhihua Dajiang vanadium titanium New Material Co.,Ltd. Address before: 617114 Anning Industrial Park, Yanbian County, Panzhihua City, Sichuan Province Patentee before: PANZHIHUA YUNTAI INDUSTRIAL CO.,LTD. |
|
| CP01 | Change in the name or title of a patent holder | ||
| CP01 | Change in the name or title of a patent holder |
Address after: 617114 Anning Industrial Park, Yanbian County, Panzhihua City, Sichuan Province Patentee after: PANZHIHUA YUNTAI INDUSTRIAL CO.,LTD. Address before: 617114 Anning Industrial Park, Yanbian County, Panzhihua City, Sichuan Province Patentee before: Panzhihua Dajiang vanadium titanium New Material Co.,Ltd. |
|
| CX01 | Expiry of patent term | ||
| CX01 | Expiry of patent term |
Granted publication date: 20130327 |
