CN202822159U - Novel nursing water drinking device for internal medicine - Google Patents
Novel nursing water drinking device for internal medicine Download PDFInfo
- Publication number
- CN202822159U CN202822159U CN201220554195.0U CN201220554195U CN202822159U CN 202822159 U CN202822159 U CN 202822159U CN 201220554195 U CN201220554195 U CN 201220554195U CN 202822159 U CN202822159 U CN 202822159U
- Authority
- CN
- China
- Prior art keywords
- water
- water suction
- internal medicine
- base
- suction nozzle
- Prior art date
- Legal status (The legal status is an assumption and is not a legal conclusion. Google has not performed a legal analysis and makes no representation as to the accuracy of the status listed.)
- Expired - Fee Related
Links
Classifications
-
- Y—GENERAL TAGGING OF NEW TECHNOLOGICAL DEVELOPMENTS; GENERAL TAGGING OF CROSS-SECTIONAL TECHNOLOGIES SPANNING OVER SEVERAL SECTIONS OF THE IPC; TECHNICAL SUBJECTS COVERED BY FORMER USPC CROSS-REFERENCE ART COLLECTIONS [XRACs] AND DIGESTS
- Y02—TECHNOLOGIES OR APPLICATIONS FOR MITIGATION OR ADAPTATION AGAINST CLIMATE CHANGE
- Y02A—TECHNOLOGIES FOR ADAPTATION TO CLIMATE CHANGE
- Y02A20/00—Water conservation; Efficient water supply; Efficient water use
Landscapes
- Medical Preparation Storing Or Oral Administration Devices (AREA)
Abstract
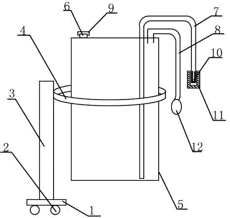
一种新型内科护理用饮水装置,本实用新型涉及医疗器械技术领域,一种新型内科护理用饮水装置,包括底座,所述底座下部设有万向轮,所述万向轮为3个,所述底座上部设有支撑杆,所述支撑杆上部设有连接环,所述连接环上设有储水瓶,所述储水瓶上部设有加水口、吸水管和加压管,所述加水口上设有加水盖,所述吸水管末端设有吸水嘴,所述吸水嘴为椭圆型,所述吸水嘴上设有吸水帽,所述加压管末端设有加压气囊。本实用新型有益效果:结构简单,使用方便,为内科卧床病人提供便利、舒适、安全的饮水条件,无需护理人员的随时照顾,从而减轻了护理人员的劳动强度。
A new type of drinking water device for internal medicine nursing. The utility model relates to the technical field of medical devices. A new type of drinking water device for internal medicine nursing includes a base. The lower part of the base is provided with universal wheels. There are three universal wheels. The upper part of the base is provided with a support rod, the upper part of the support rod is provided with a connecting ring, the connecting ring is provided with a water storage bottle, the upper part of the water storage bottle is provided with a water inlet, a water suction pipe and a pressure pipe, A water filling cover is provided, a water suction nozzle is provided at the end of the water suction pipe, the water suction nozzle is oval, a water suction cap is provided on the water suction nozzle, and a pressurized air bag is provided at the end of the pressurizing pipe. The utility model has beneficial effects: simple structure, convenient use, providing convenient, comfortable and safe drinking water conditions for bedridden patients in internal medicine, without the need for nursing staff to take care of them at any time, thereby reducing the labor intensity of nursing staff.
Description
技术领域 technical field
本实用新型涉及医疗器械技术领域,尤其涉及一种新型内科护理用饮水装置。 The utility model relates to the technical field of medical devices, in particular to a new drinking water device for internal medicine nursing.
背景技术 Background technique
目前,对于内科卧床的病人需要特别护理,由于大多数病人不能动,病人的脸部朝上,需要饮水时很不方便。普通水杯倾斜一定角度时,里面的水就会洒出来,根本无法使用,所以往往由护理人员用汤匙喂水,水很容易沿病人的嘴角流出,溅湿衣服和被褥,若是配合不好,病人还容易被呛到,不仅增加了护理人员的劳动强度,也增加了病人的痛苦。也有的采用吸管放在杯子中让病人自行吸饮,虽能解决一定的问题,但还是存在不足之处:病人饮水仍离不开护理人员的帮助,不能自己饮,应用起来及其不方便,无法减轻护理人员的劳动强度。 At present, special care is needed for bedridden patients in internal medicine. Since most of the patients cannot move, the patient's face faces up, and it is very inconvenient when drinking water is needed. When the ordinary water cup is tilted at a certain angle, the water inside will spill out and cannot be used at all. Therefore, the nursing staff often feeds water with a spoon. It is also easy to be choked, which not only increases the labor intensity of the nursing staff, but also increases the pain of the patient. Some also use straws to be placed in cups to allow patients to drink by themselves. Although certain problems can be solved, there are still deficiencies: patients cannot drink water without the help of nurses, and it is inconvenient to use. Cannot reduce the labor intensity of nursing staff.
实用新型内容 Utility model content
本实用新型针对现有技术存在的上述不足,提供一种新型内科护理用饮水装置,该新型内科护理用饮水装置通过加压管、加压气囊和吸水管、吸水嘴的设计可以为患者提供便利、舒适、安全的自己饮水条件,同时通过吸水帽的设计有效的避免吸水嘴被污染。 The utility model aims at the above-mentioned deficiencies in the prior art, and provides a new type of drinking water device for internal medicine nursing, which can provide convenience for patients through the design of pressurized tube, pressurized air bag, water suction pipe and water suction nozzle. , Comfortable and safe self-drinking conditions, and at the same time, the design of the suction cap can effectively prevent the suction nozzle from being polluted.
本实用新型的目的是通过以下技术方案来实现: The purpose of this utility model is to realize through the following technical solutions:
一种新型内科护理用饮水装置,包括底座,所述底座下部设有万向轮,所述万向轮为3个,所述底座上部设有支撑杆,所述支撑杆上部设有连接环,所述连接环上设有储水瓶,所述储水瓶上部设有加水口、吸水管和加压管,所述加水口上设有加水盖,所述吸水管末端设有吸水嘴,所述吸水嘴为椭圆型,所述吸水嘴上设有吸水帽,所述加压管末端设有加压气囊。 A new type of drinking water device for medical care, comprising a base, the lower part of the base is provided with universal wheels, the number of the universal wheels is three, the upper part of the base is provided with a support rod, and the upper part of the support rod is provided with a connecting ring, The connecting ring is provided with a water storage bottle, the upper part of the water storage bottle is provided with a water filling port, a water suction pipe and a pressurizing pipe, the water filling port is provided with a water filling cover, the end of the water suction pipe is provided with a water suction nozzle, and the water suction pipe The mouth is oval, the water suction nozzle is provided with a water absorption cap, and the end of the pressurized tube is provided with a pressurized air bag.
所述储液瓶由塑料制成,所述连接环由铜制成。 The liquid storage bottle is made of plastic, and the connecting ring is made of copper.
本实用新型有益效果:结构简单,使用方便,为内科卧床病人提供便利、舒适、安全的饮水条件,无需护理人员的随时照顾,从而减轻了护理人员的劳动强度。 Beneficial effects of the utility model: simple structure, easy to use, providing convenient, comfortable and safe drinking water conditions for bedridden patients in internal medicine, without the need for nursing staff to take care of them at any time, thereby reducing the labor intensity of nursing staff.
附图说明 Description of drawings
图1为本实用新型所述的新型内科护理用饮水装置结构示意图; Fig. 1 is the structural schematic diagram of the drinking water device of novel internal medicine nursing described in the utility model;
图中: In the picture:
1-底座;2-万向轮;3-支撑杆;4-连接环;5-储水瓶;6-加水口;7-吸水管;8-加压管;9-加水盖;10-吸水嘴;11-吸水帽;12-加压气囊。 1-base; 2-universal wheel; 3-support rod; 4-connecting ring; 5-water storage bottle; 6-water filling port; 7-suction pipe; 8-pressurization pipe; ; 11-absorbent cap; 12-pressurized air bag.
具体实施方式 Detailed ways
下面根据附图和实施例对本实用新型作进一步详细说明: Below according to accompanying drawing and embodiment the utility model is described in further detail:
如图1所示,一种新型内科护理用饮水装置,包括底座1,所述底座1下部设有万向轮2,所述万向轮2为3个,这样在使用时通过万向轮2的移动就可以改变储水瓶5的位置,进而方便患者饮水,所述底座1上部设有支撑杆3,所述支撑杆3上部设有连接环4,所述连接环4由铜制成,这样就不会生锈,所述连接环4上设有储水瓶5,所述储液瓶由塑料制成,储水瓶5是透明的,这样就方便观察储水瓶5内的水量是否充足,若果水量不足护理人员就可以及时的加水,给护理人员带来了方便,所述储水瓶5上部设有加水口6、吸水管7和加压管8,所述加水口6上设有加水盖9,所述吸水管7末端设有吸水嘴10,所述吸水嘴10呈椭圆形,所述吸水嘴10上设有吸水帽11,所述加压管8末端设有加压气囊12,通过加水口6对储水瓶5进行加水,挤压气囊水就会顺着吸水、吸水嘴10流进患者的嘴里,不仅给护理人员带来了方便,同时也给患者带来了极大的方便。 As shown in Figure 1, a novel internal medicine nursing drinking device comprises a base 1, and the lower part of the base 1 is provided with universal wheels 2, and there are three universal wheels 2, so that when in use, the universal wheels 2 The movement of the water storage bottle 5 can change the position of the water storage bottle 5, and then it is convenient for the patient to drink water. The upper part of the base 1 is provided with a support rod 3, and the upper part of the support rod 3 is provided with a connecting ring 4, and the connecting ring 4 is made of copper. Just can not get rusty, described connecting ring 4 is provided with water storage bottle 5, and described liquid storage bottle is made of plastics, and water storage bottle 5 is transparent, just conveniently observes whether the water yield in water storage bottle 5 is sufficient like this, if The nursing staff can add water in time if the water is insufficient, which brings convenience to the nursing staff. The top of the water storage bottle 5 is provided with a water filling port 6, a water suction pipe 7 and a pressurizing pipe 8, and the water filling port 6 is provided with a water filling cover 9 , the end of the water suction pipe 7 is provided with a water suction nozzle 10, the water suction nozzle 10 is oval, the water suction nozzle 10 is provided with a water suction cap 11, and the end of the pressurization pipe 8 is provided with a pressurized air bag 12. The water port 6 adds water to the water storage bottle 5, and the extruded airbag water will flow into the patient's mouth along the water suction nozzle 10, which not only brings convenience to the nursing staff, but also brings great convenience to the patient.
使用时,护理人员推着饮水装置,将该饮水装置推到患者的床边,患者想喝水时将吸水帽11取下,将吸水嘴10放在口腔内,用手挤压加压气囊12即可,当瓶内没有水或者水量不充足时,护理人员将加水盖9取下,将水从加水口6加入即可。 When in use, the nurse pushes the drinking device and pushes the drinking device to the bedside of the patient. When the patient wants to drink water, the water-absorbing cap 11 is removed, the water-absorbing nozzle 10 is placed in the oral cavity, and the pressurized air bag 12 is squeezed by hand. That is, when there is no water in the bottle or the amount of water is not enough, the nursing staff will take off the water filling cap 9 and add water from the water filling port 6 to get final product.
Claims (2)
Priority Applications (1)
| Application Number | Priority Date | Filing Date | Title |
|---|---|---|---|
| CN201220554195.0U CN202822159U (en) | 2012-10-26 | 2012-10-26 | Novel nursing water drinking device for internal medicine |
Applications Claiming Priority (1)
| Application Number | Priority Date | Filing Date | Title |
|---|---|---|---|
| CN201220554195.0U CN202822159U (en) | 2012-10-26 | 2012-10-26 | Novel nursing water drinking device for internal medicine |
Publications (1)
| Publication Number | Publication Date |
|---|---|
| CN202822159U true CN202822159U (en) | 2013-03-27 |
Family
ID=47933971
Family Applications (1)
| Application Number | Title | Priority Date | Filing Date |
|---|---|---|---|
| CN201220554195.0U Expired - Fee Related CN202822159U (en) | 2012-10-26 | 2012-10-26 | Novel nursing water drinking device for internal medicine |
Country Status (1)
| Country | Link |
|---|---|
| CN (1) | CN202822159U (en) |
Cited By (1)
| Publication number | Priority date | Publication date | Assignee | Title |
|---|---|---|---|---|
| CN113081845A (en) * | 2021-04-07 | 2021-07-09 | 华中科技大学同济医学院附属协和医院 | Medicine swallowing device |
-
2012
- 2012-10-26 CN CN201220554195.0U patent/CN202822159U/en not_active Expired - Fee Related
Cited By (1)
| Publication number | Priority date | Publication date | Assignee | Title |
|---|---|---|---|---|
| CN113081845A (en) * | 2021-04-07 | 2021-07-09 | 华中科技大学同济医学院附属协和医院 | Medicine swallowing device |
Similar Documents
| Publication | Publication Date | Title |
|---|---|---|
| CN103656805A (en) | Automatic alarm device for infusion | |
| CN202822159U (en) | Novel nursing water drinking device for internal medicine | |
| CN204446633U (en) | A kind of bedridden patients in cardiology medicine feed feeding device | |
| CN201847915U (en) | Oral liquid medicine bottle | |
| CN201603125U (en) | Drinking cup for bedridden patients | |
| CN202777107U (en) | Nursing cup convenient for patient to use | |
| CN106344416A (en) | Auxiliary medicine feeding device for cardiology patient | |
| CN201076631Y (en) | Disposable portable enema device | |
| CN201564797U (en) | Liquid medicine drinking device for mentally disordered persons | |
| CN201578486U (en) | Medical Shampoo Device | |
| CN201022567Y (en) | Dining tank special for patient in bed | |
| CN202942415U (en) | Medicine feeding device for intensive care patient | |
| CN202802323U (en) | Automatic alarm device for transfusion | |
| CN202859681U (en) | Traditional Chinese medicine drinking cup | |
| CN202096471U (en) | Liquid drinking device for patient in intensive care therapy | |
| CN204864126U (en) | Medical feeding bottle of dosing | |
| CN202478217U (en) | Vomit container apparatus for medical care | |
| CN201131926Y (en) | Nursing cup for bed-ridden patient | |
| CN202044515U (en) | Retractable infusion bag and airtight infusion tube | |
| CN203060331U (en) | Novel drug feeder | |
| CN202516013U (en) | Novel infection-prevention feed medication utensil | |
| CN211024154U (en) | A child medicine feeder to help children take fluid medicine | |
| CN202459520U (en) | enema device | |
| CN201586140U (en) | Infant nursing bed | |
| CN201361257Y (en) | Water sucking device for patients |
Legal Events
| Date | Code | Title | Description |
|---|---|---|---|
| C14 | Grant of patent or utility model | ||
| GR01 | Patent grant | ||
| EE01 | Entry into force of recordation of patent licensing contract |
Assignee: Harbin red sun health tonic Chain Co. Ltd. Assignor: Dong Fang Contract record no.: 2013230001036 Denomination of utility model: Novel nursing water drinking device for internal medicine Granted publication date: 20130327 License type: Exclusive License Record date: 20130620 |
|
| LICC | Enforcement, change and cancellation of record of contracts on the licence for exploitation of a patent or utility model | ||
| CF01 | Termination of patent right due to non-payment of annual fee |
Granted publication date: 20130327 Termination date: 20141026 |
|
| EXPY | Termination of patent right or utility model |
