CN202816213U - Word learning auxiliary device for the blind - Google Patents
Word learning auxiliary device for the blind Download PDFInfo
- Publication number
- CN202816213U CN202816213U CN 201220478484 CN201220478484U CN202816213U CN 202816213 U CN202816213 U CN 202816213U CN 201220478484 CN201220478484 CN 201220478484 CN 201220478484 U CN201220478484 U CN 201220478484U CN 202816213 U CN202816213 U CN 202816213U
- Authority
- CN
- China
- Prior art keywords
- needle
- blind
- hole
- slider
- orifice plate
- Prior art date
- Legal status (The legal status is an assumption and is not a legal conclusion. Google has not performed a legal analysis and makes no representation as to the accuracy of the status listed.)
- Expired - Lifetime
Links
Images
Landscapes
- User Interface Of Digital Computer (AREA)
Abstract
本实用新型公开了一种盲人识字辅助装置及其运行方法,包括控制芯片、盲人显示器,盲人显示器的工作由所述控制芯片控制,所述盲人显示器包括孔板、针板和针板升降装置;孔板上设有通孔,针板位于孔板的下方,且孔板上每一个通孔的下方均有一个针状物,针状物安装在针板上,所述针板升降装置用于控制针状物的上升和下降;控制芯片读取盲文或图像内容,控制盲人显示器将文字通过针状物突起的方式显示出来,供盲人触摸识别文字,并调用智能语音发声模块将该文字的读音发出。
The utility model discloses a literacy auxiliary device for the blind and an operation method thereof, comprising a control chip and a display for the blind, the work of the display for the blind is controlled by the control chip, and the display for the blind includes an orifice plate, a needle plate and a needle plate lifting device; There are through holes on the orifice plate, the needle plate is located below the orifice plate, and there is a needle-shaped object under each through-hole on the orifice plate, the needle-shaped object is installed on the needle plate, and the needle plate lifting device is used to Control the rise and fall of the needle; control the chip to read Braille or image content, control the display of the blind to display the text through the protrusion of the needle, for the blind to touch and recognize the text, and call the intelligent voice module to pronounce the text issue.
Description
技术领域 technical field
本实用新型涉及一种识字辅助装置及其运行方法,特别涉及一种盲人识字辅助装置及其运行方法。 The utility model relates to a literacy auxiliary device and an operation method thereof, in particular to a literacy auxiliary device for the blind and an operation method thereof.
背景技术 Background technique
现有的盲人识字辅助装置大致有以下几种: Existing literacy aids for the blind roughly include the following types:
1>.传统的盲人字帖。如申请号为99203092.7的专利《盲人识字卡》。这种方法将盲文印制在卡纸上,构成一套完整的字帖,盲人通过直接触摸字帖上突起的盲文来识字。这种方式的主要缺点在于字帖不可重复利用,另外,当盲人触摸字帖盲文时,由于无法做到语音同步,需要他人辅助提示盲文的意义,达不到无人辅助、自主学习的效果。 1>. Traditional copybooks for the blind. Such as the patent "literacy cards for the blind" whose application number is 99203092.7. In this method, Braille is printed on cardboard to form a complete set of copybooks, and blind people can learn to read by directly touching the raised Braille on the copybooks. The main disadvantage of this method is that the copybook cannot be reused. In addition, when a blind person touches the braille on the copybook, since the voice synchronization cannot be achieved, others need to be assisted to remind the meaning of the braille, which cannot achieve the effect of unassisted and independent learning.
2>.电磁螺线管的实现方式。根据显示器的分辨率需要,即按照像素点的数量制作等量的针状物,利用电磁螺线管来控制每个针状物,当该像素点处有黑色字迹时,控制该处的针状物向上突起。本方案的不足主要在于所需的电磁螺线管的数量较多,当像素点较多时不太可行,且耗电量较大。 2>. The realization of the electromagnetic solenoid. According to the resolution requirements of the display, that is, make equal needles according to the number of pixels, and use electromagnetic solenoids to control each needle. When there is black writing at the pixel, control the needle at that place thing protruding upwards. The disadvantage of this solution is mainly that the required number of electromagnetic solenoids is large, it is not feasible when there are many pixels, and the power consumption is relatively large.
3>.采用高新材料制作盲人显示器,完成盲文突起。目前还有一种盲人显示器的实现方案,跟其它资源结合起来可以达到盲人识字辅助装置的效果。该种显示器的实现方法是利用特殊材料,令其在电场的刺激下,有字迹的地方可以发生形变造成突起,从而供盲人触摸识别。其主要缺点在于价格昂贵,目前无法大量推广。 3>. Use high-tech materials to make displays for the blind and complete Braille protrusions. At present, there is another implementation scheme of a display for the blind, which can achieve the effect of a literacy aid for the blind when combined with other resources. The realization method of this kind of display is to use special materials, so that under the stimulation of the electric field, the place with writing can be deformed to form protrusions, so that it can be recognized by touch for the blind. Its main disadvantage is that it is expensive and cannot be widely promoted at present.
实用新型内容 Utility model content
针对上述现有盲人识字辅助装置存在的缺点,本实用新型提出一种盲人识字辅助装置及其运行方法。 Aiming at the above-mentioned shortcomings existing in the existing auxiliary devices for literacy for the blind, the utility model proposes an auxiliary device for literacy for the blind and an operation method thereof.
本实用新型所采用的技术方案如下。 The technical scheme adopted in the utility model is as follows.
一种盲人识字辅助装置,其包括控制芯片、盲人显示器,盲人显示器的工作由所述控制芯片控制,所述盲人显示器包括孔板、针板和针板升降装置;孔板上设有通孔,针板位于孔板的下方,且孔板上每一个通孔的下方均有一个针状物,针状物安装在针板上,所述针板升降装置用于控制针状物的上升和下降;所述孔板的正面供盲人触摸识别字迹,孔板的背面设置有用于控制通孔开闭状态的开关装置,每个通孔配有一个开关装置,当通孔为开状态时,通孔下方的针状物上端可以穿过孔板,当通孔为闭状态时,通孔下方的针状物上端无法穿过孔板;控制芯片读取盲文,控制盲人显示器将文字通过针状物突起的方式显示出来;所述孔板上的通孔呈行列式排布,每一个针状物是否穿过通孔代表该处是否有盲文的凸点。 A literacy assisting device for the blind, which includes a control chip and a display for the blind, the work of the display for the blind is controlled by the control chip, and the display for the blind includes an orifice plate, a needle plate and a needle plate lifting device; the orifice plate is provided with a through hole, The needle plate is located under the orifice plate, and there is a needle under each through hole on the orifice plate, the needle is installed on the needle plate, and the needle plate lifting device is used to control the rise and fall of the needle ; The front of the orifice plate is for the blind to touch and recognize handwriting, and the back side of the orifice plate is provided with a switch device for controlling the opening and closing state of the through hole. Each through hole is equipped with a switch device. When the through hole is in an open state, the through hole The upper end of the needle at the bottom can pass through the orifice plate. When the through hole is closed, the upper end of the needle below the through hole cannot pass through the orifice plate; the control chip reads Braille, and controls the display for the blind to protrude the text through the needle The through-holes on the orifice plate are arranged in a row, and whether each needle passes through the through-hole represents whether there is a Braille bump there.
进一步的,所述盲人识字辅助装置还包括机械臂装置,机械臂装置包括Y轴电机、X轴电机和拨动装置,Y轴电机轴上连接有Y轴蜗杆,Y轴蜗杆上设置有Y轴蜗杆滑块,Y轴蜗杆滑块上方固接有X轴电机,X轴电机的电机齿轮与X轴滑条上的齿啮合,X轴滑条的最右端设置有用于拨动所述开关装置的拨动装置,拨动装置在所述Y轴电机和X轴电机的驱动下作二维运动,Y轴电机和X轴电机的工作由所述控制芯片控制。 Further, the literacy auxiliary device for the blind also includes a mechanical arm device, the mechanical arm device includes a Y-axis motor, an X-axis motor and a toggle device, a Y-axis worm is connected to the Y-axis motor shaft, and a Y-axis worm is arranged on the Y-axis worm The worm slider, the X-axis motor is fixedly connected above the Y-axis worm slider, the motor gear of the X-axis motor meshes with the teeth on the X-axis slider, and the rightmost end of the X-axis slider is provided with a switch for switching the switch A toggle device, the toggle device performs two-dimensional movement driven by the Y-axis motor and the X-axis motor, and the work of the Y-axis motor and the X-axis motor is controlled by the control chip.
进一步的,所述开关装置包括限位槽和能在限位槽中滑动的滑动块,当滑动块向通孔的圆心方向滑动时,遮挡住通孔,则开关装置关闭;当滑动块向远离通孔的圆心方向滑动时,开关装置即打开;滑动块的移动由所述拨动装置拨动产生。 Further, the switch device includes a limit slot and a sliding block that can slide in the limit slot. When the slide block slides toward the center of the through hole, the through hole is blocked, and the switch device is closed; when the slide block moves away from When the center of the through hole slides, the switch device is opened; the movement of the sliding block is generated by the toggle device.
进一步的,所述滑动块在其滑动方向上的两端宽度大于限位槽宽度,保证滑动块不会完全滑出限位槽并脱落;所述行列式排布中的行与滑动块滑动方向垂直。 Further, the width of both ends of the sliding block in its sliding direction is greater than the width of the limiting groove, so as to ensure that the sliding block will not completely slide out of the limiting groove and fall off; the rows in the determinant arrangement and the sliding direction of the sliding block vertical.
进一步的,所述针状物下端通过针板弹簧安装在针板上。 Further, the lower end of the needle is installed on the needle plate through the needle plate spring.
进一步的,拨动装置在所述X轴电机和Y轴电机的带动下能对任一滑动块进行拨动,当拨动装置位于两行通孔之间时,能对其中一行通孔中需打开的通孔进行打开操作,同时能另一行通孔中需关闭的通孔进行关闭操作。 Further, the toggle device can toggle any sliding block under the drive of the X-axis motor and the Y-axis motor. The opening operation is performed on the opened through hole, and the closing operation can be performed on the through hole that needs to be closed in another row of through holes.
进一步的,所述拨动装置包括电机、蜗杆、滑块和拨动杆,电机轴上固接有蜗杆,蜗杆上设置滑块,滑块与拨动杆固接,拨动装置的电机的工作由所述控制芯片控制,当电机正反转时,通过蜗杆带动滑块及拨动杆做轴向运动,开始时滑块处于蜗杆中间位置,在电机的驱动下,滑块能沿蜗杆轴向作移动,并使拨动杆末端拨动孔板上开关装置的滑动块,实现对孔板上通孔的开闭动作。 Further, the toggling device includes a motor, a worm, a slider and a toggling rod, a worm is fixedly connected to the motor shaft, a slider is arranged on the worm, the slider is fixedly connected to the toggling rod, and the operation of the motor of the toggling device Controlled by the control chip, when the motor is in the forward and reverse direction, the worm drives the slider and the toggle rod to move axially. At the beginning, the slider is in the middle of the worm. Driven by the motor, the slider can move along the axial direction of the worm. Make the movement, and make the end of the toggle lever toggle the sliding block of the switch device on the orifice plate to realize the opening and closing action of the through hole on the orifice plate.
进一步的,所述盲人识字辅助装置还包括SD卡、智能语音发声模块、行列式键盘,所述SD卡、智能语音发声模块、行列式键盘分别与控制芯片电连接;所述SD卡用于预先存储盲文数据,智能语音发声模块用于将文字的发音报出,起到同步提示的辅助功能,行列式键盘用于提供重复发声及翻页操作。 Further, the literacy assisting device for the blind also includes an SD card, an intelligent voice sounding module, and a determinant keyboard, and the SD card, the intelligent voice sounding module, and the determinant keyboard are respectively electrically connected to the control chip; the SD card is used to pre- Braille data is stored, the intelligent voice module is used to announce the pronunciation of the text, and plays the auxiliary function of synchronous prompting, and the determinant keyboard is used to provide repeated voice and page turning operations.
上述一种盲人识字辅助装置的运行方法,初始化后,控制芯片读取盲文或图像内容,控制盲人显示器将文字通过针状物突起的方式显示出来,供盲人触摸识别文字,并调用智能语音发声模块将该文字的读音发出,通过行列式键盘的操作,由盲人自行控制上下翻页,刷新显示以及文字重复语音播放的功能。 The operation method of the above-mentioned assisting device for literacy for the blind, after initialization, the control chip reads Braille or image content, controls the display for the blind to display the text through needle-like protrusions, for the blind to touch and recognize the text, and calls the intelligent voice sounding module The pronunciation of the text is pronounced, and through the operation of the determinant keyboard, the blind person can control the functions of turning pages up and down, refreshing the display, and repeating the voice of the text.
进一步的,所述盲人显示器的工作过程为:针板升降装置将针板下降,机械臂装置中的拨动装置开始根据盲文凸点的分布对孔板上的开关装置进行操作,在有盲文凸点处,打开孔板上的开关装置;在无盲文凸点处,则关闭孔板上的开关装置;拨动装置操作完毕后,针板升降装置将针板上升,在有盲文凸点处,由于孔板上的开关装置被打开,使针板上对应位置的针状物可透过孔板上的通孔向上伸出;在无盲文凸点处,由于孔板上的开关装置被关闭,阻挡针板上对应位置的针状物通过通孔。 Further, the working process of the display for the blind is: the needle plate lifting device lowers the needle plate, and the toggle device in the mechanical arm device starts to operate the switch device on the orifice plate according to the distribution of the Braille bumps. At the point, open the switch device on the orifice plate; at the place without braille bumps, turn off the switch device on the orifice plate; after the operation of the toggle device is completed, the needle plate lifting device will raise the needle plate, Since the switch device on the orifice plate is opened, the needle at the corresponding position on the needle plate can protrude upward through the through hole on the orifice plate; at the point where there is no Braille bump, because the switch device on the orifice plate is closed, Block the needles at the corresponding positions on the needle plate from passing through the through holes.
与现有技术相比,本实用新型具有的优点和有益效果如下: Compared with the prior art, the utility model has advantages and beneficial effects as follows:
1、本实用新型盲人识字辅助装置能切实达到辅助盲人识字的作用,其核心技术盲人显示器的实现方式成本较为低廉,具备较好的扩展性; 1. The literacy assisting device for the blind of the utility model can effectively achieve the function of assisting the literacy of the blind, and its core technology, the implementation method of the display for the blind, is relatively low in cost and has good scalability;
2、同时利用微机控制技术达到盲文与语音提示的真正同步,对盲人识字起到较大的帮助。 2. At the same time, the computer control technology is used to achieve the real synchronization of Braille and voice prompts, which is of great help to the literacy of the blind.
3、盲人显示器可当独作为一个应用,用来显示其它文字及图像。 3. The display for the blind can be used as an application alone to display other text and images.
附图说明 Description of drawings
图1为本实用新型的整体框架示意图。 Fig. 1 is the overall frame schematic diagram of the present utility model.
图2为本实用新型的盲人显示器结构示意图。 Fig. 2 is a structural schematic diagram of the display for the blind of the present invention.
图3为本实用新型的盲人显示器的孔板结构示意图。 Fig. 3 is a schematic diagram of the orifice plate structure of the display for the blind of the present invention.
图4为本实用新型的盲人显示器的机械臂装置结构示意图。 Fig. 4 is a structural schematic diagram of the mechanical arm device of the display for the blind of the present invention.
图5为本实用新型的盲人显示器的拨动装置结构示意图。 Fig. 5 is a structural schematic diagram of the toggle device of the display for the blind of the present invention.
图6为本实用新型的盲人显示器的针板改进结构示意图。 Fig. 6 is a schematic diagram of the improved structure of the needle plate of the display for the blind of the present invention.
图中示出: The figure shows:
1—控制芯片,2—SD卡,3—盲人显示器,4—智能语音发声模块,5—行列式键盘,6—孔板,7—机械臂装置,8—针板,9—针板弹簧,10—针状物,11—Z轴电机,12—Z轴蜗杆,13—Z轴蜗杆滑块,14—通孔,15—限位槽,16—滑动块,17—拨动装置运动轨迹,18—Y轴电机,19—Y轴蜗杆,20—Y轴蜗杆滑块,21—X轴电机,22—电机齿轮,23—X轴滑条,24—拨动装置,25—电机,26—蜗杆,27—滑块,28—拨动杆,29—套筒。 1—control chip, 2—SD card, 3—display for the blind, 4—intelligent voice module, 5—determinant keyboard, 6—hole plate, 7—mechanical arm device, 8—needle plate, 9—needle plate spring, 10—needle, 11—Z-axis motor, 12—Z-axis worm, 13—Z-axis worm slider, 14—through hole, 15—limiting slot, 16—sliding block, 17—moving track of toggle device, 18—Y-axis motor, 19—Y-axis worm, 20—Y-axis worm slider, 21—X-axis motor, 22—motor gear, 23—X-axis slider, 24—toggle device, 25—motor, 26— Worm screw, 27—slide block, 28—toggle rod, 29—sleeve.
具体实施方式 Detailed ways
以下结合附图对本实用新型的实施作进一步说明,但本实用新型的实施和保护范围不限于此。 The implementation of the utility model will be further described below in conjunction with the accompanying drawings, but the implementation and protection scope of the utility model are not limited thereto.
如附图1所示,一种盲人识字辅助装置,包括控制芯片1、SD卡2、盲人显示器3、智能语音发声模块4、行列式键盘5。所述SD卡2、盲人显示器3、智能语音发声模块4、行列式键盘5分别与控制芯片1电连接;所述SD卡2用于预先存储盲文数据,盲人显示器3用于形成突起供盲人触摸识别文字或图像,智能语音发声模块4实现文本到语音的转换,用于将文字的发音报出,起到同步提示的辅助功能,行列式键盘5用于提供重复发声及翻页操作。所述盲人显示器3的工作由所述控制芯片1控制。
As shown in FIG. 1 , a literacy aid for the blind includes a control chip 1 , an SD card 2 , a display for the blind 3 , an
如附图2、3所示,所述盲人显示器3包括孔板6、机械臂装置7、针板8和针板升降装置;孔板6上设有通孔14,针板8位于孔板6的下方,且孔板6上每一个通孔14的下方均有一个针状物10,针状物10安装在针板8上,所述针板升降装置用于控制针状物10的上升和下降;所述孔板6的正面供盲人触摸识别字迹,孔板6的背面设置有用于控制通孔14开闭状态的开关装置,每个通孔14配有一个开关装置,当通孔14为开状态时,通孔14下方的针状物10上端可以穿过孔板6,当通孔14为闭状态时,通孔14下方的针状物10上端无法穿过孔板6;所述孔板6上的通孔14呈行列式排布,每一个针状物10是否穿过通孔14代表该处是否有盲文的凸点。
As shown in accompanying drawing 2,3, described
如附图4所示,所述直角坐标系的X轴垂直于X轴电机21的轴和Y轴电机18的轴所在平面,Y轴平行于Y轴电机18的轴。所述机械臂装置7包括Y轴电机18、X轴电机21和拨动装置24,Y轴电机18轴上连接有Y轴蜗杆19,Y轴蜗杆19上设置有Y轴蜗杆滑块20。Y轴蜗杆滑块20上方固接有X轴电机21,X轴电机21的电机齿轮22与X轴滑条23上的齿啮合。X轴滑条23的最右端设置有用于拨动所述开关装置的拨动装置24,拨动装置24在所述Y轴电机18和X轴电机21的驱动下作二维运动,Y轴电机18和X轴电机21的工作由所述控制芯片1控制。 As shown in FIG. 4 , the X-axis of the rectangular coordinate system is perpendicular to the plane where the axis of the X-axis motor 21 and the axis of the Y-axis motor 18 are located, and the Y-axis is parallel to the axis of the Y-axis motor 18 . The mechanical arm device 7 includes a Y-axis motor 18, an X-axis motor 21 and a toggle device 24. The Y-axis motor 18 is connected with a Y-axis worm 19, and the Y-axis worm 19 is provided with a Y-axis worm slider 20. An X-axis motor 21 is fixedly connected above the Y-axis worm slider 20 , and the motor gear 22 of the X-axis motor 21 meshes with the teeth on the X-axis slide bar 23 . The rightmost end of the X-axis slide bar 23 is provided with a toggling device 24 for toggling the switch device. The toggling device 24 moves in two dimensions under the drive of the Y-axis motor 18 and the X-axis motor 21, and the Y-axis motor 18 and the work of the X-axis motor 21 are controlled by the control chip 1 .
如附图3所示,所述开关装置包括限位槽15和能在限位槽15中滑动的滑动块16,当滑动块16向通孔14的圆心方向滑动时,遮挡住通孔14,则开关装置关闭;当滑动块16向远离通孔14的圆心方向滑动时,开关装置即打开;滑动块16的移动由所述拨动装置24拨动产生。
As shown in Figure 3, the switch device includes a limiting
所述滑动块16在其滑动方向上的两端宽度大于限位槽15宽度,保证滑动块16不会完全滑出限位槽15并脱落;所述行列式排布中的行与滑动块16滑动方向垂直。
The width of both ends of the sliding
如附图2所示,所述针状物10下端通过针板弹簧9安装在针板8上。 As shown in Figure 2, the lower end of the needle 10 is installed on the needle plate 8 through the needle plate spring 9.
作为进一步的改进方案,如附图6所示,可在针板弹簧9及针状物10外设置套筒29进行约束,保证针板弹簧9及针状物10只沿套筒29的轴向运动,不发生摆动运动。 As a further improvement, as shown in accompanying drawing 6, a sleeve 29 can be set outside the needle plate spring 9 and the needle 10 for restraint, so as to ensure that the needle plate spring 9 and the needle 10 are only along the axial direction of the sleeve 29. movement, no swinging movement occurs.
上述拨动装置24在所述X轴电机21和Y轴电机18的带动下能对任一滑动块16进行拨动,当拨动装置24位于两行通孔之间时,能对其中一行通孔中需打开的通孔进行打开操作,同时能另一行通孔中需关闭的通孔进行关闭操作。
The above-mentioned toggle device 24 can toggle any sliding
附图3所示为一种可行的运动方案,拨动装置运动轨迹17为“弓”字型路线。拨动装置24从第一行的一端向另一端运动时,能对该行通孔中需关闭的通孔进行关闭操作。按“弓”字型路线依次运动,拨动装置24位于两行通孔之间时,能对其中一行通孔中需打开的通孔进行打开操作,同时能对另一行通孔中需关闭的通孔进行关闭操作。拨动装置24从最后一行的一端向另一端运动时,能对该行通孔中需打开的通孔进行打开操作。“弓”字型可根据实际需求进行调整,若某些行不需要对通孔进行打开或关闭操作,则可以在行的两端直接沿垂直于行的方向运动,不在行方向上进行操作。
Accompanying drawing 3 shows a kind of feasible motion plan, and the
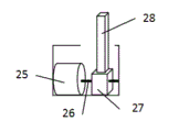
如附图5所示,所述拨动装置24包括电机25、蜗杆26、滑块27和拨动杆28,电机25轴上固接有蜗杆26,蜗杆26上设置滑块27,滑块27与拨动杆28固接,拨动装置的电机25的工作由所述控制芯片1控制,当电机25正反转时,通过蜗杆26带动滑块27及拨动杆28做轴向运动,开始时滑块27处于蜗杆26中间位置,在电机25的驱动下,滑块27能沿蜗杆26轴向作移动,并使拨动杆28末端拨动孔板6上开关装置的滑动块16,实现对孔板6上通孔14的开闭动作。
As shown in accompanying drawing 5, described toggling device 24 comprises
如附图2所示,所述针板升降装置包括Z轴电机11、Z轴蜗杆12、Z轴蜗杆滑块13。Z轴蜗杆滑块13设置于Z轴蜗杆12上,位于Z轴电机11上方。所述针板8固接于Z轴蜗杆滑块13上方,当Z轴电机11正反转时,可以带动针板8上升或下降。所述Z轴电机11的工作由所述控制芯片1控制。 As shown in FIG. 2 , the needle plate lifting device includes a Z-axis motor 11 , a Z-axis worm 12 , and a Z-axis worm slider 13 . The Z-axis worm slider 13 is arranged on the Z-axis worm 12 and above the Z-axis motor 11 . The needle plate 8 is fixedly connected above the Z-axis worm slider 13, and when the Z-axis motor 11 rotates forward and reverse, it can drive the needle plate 8 to rise or fall. The operation of the Z-axis motor 11 is controlled by the control chip 1 .
所述智能语音发声模块4可采用芯片SYN6288。智能语音发声模块4通过串口通讯方式,接收文字数据,实现文本到语音的转换;通过串口引脚直接与控制芯片1连接,无需电平转换。
The intelligent
本实用新型的一种盲人识字辅助装置的运行方法,其特征在于,初始化后,控制芯片1读取盲文或图像内容,控制盲人显示器3将文字通过针状物10突起的方式显示出来,供盲人触摸识别文字,并调用智能语音发声模块4将该文字的读音发出,通过行列式键盘5的操作,由盲人自行控制上下翻页,刷新显示以及文字重复语音播放的功能。
The operating method of a blind person's literacy auxiliary device of the utility model is characterized in that, after initialization, the control chip 1 reads Braille or image content, and controls the blind person's
上述的一种盲人识字辅助装置的运行方法,其特征在于所述盲人显示器3的工作过程为:针板升降装置将针板8下降,机械臂装置7中的拨动装置24开始根据盲文凸点的分布对孔板6上的开关装置进行操作,在有盲文凸点处,打开孔板6上的开关装置;在无盲文凸点处,则关闭孔板6上的开关装置;拨动装置24操作完毕后,针板升降装置将针板8上升,在有盲文凸点处,由于孔板6上的开关装置被打开,使针板8上对应位置的针状物10可透过孔板6上的通孔14向上伸出;在无盲文凸点处,由于孔板6上的开关装置被关闭,阻挡针板8上对应位置的针状物10通过通孔14。从而供盲人触摸识别,实现了盲人显示器的功能。
The above-mentioned operation method of a blind person's literacy auxiliary device is characterized in that the working process of the blind person's
Claims (8)
Priority Applications (1)
| Application Number | Priority Date | Filing Date | Title |
|---|---|---|---|
| CN 201220478484 CN202816213U (en) | 2012-09-19 | 2012-09-19 | Word learning auxiliary device for the blind |
Applications Claiming Priority (1)
| Application Number | Priority Date | Filing Date | Title |
|---|---|---|---|
| CN 201220478484 CN202816213U (en) | 2012-09-19 | 2012-09-19 | Word learning auxiliary device for the blind |
Publications (1)
| Publication Number | Publication Date |
|---|---|
| CN202816213U true CN202816213U (en) | 2013-03-20 |
Family
ID=47875059
Family Applications (1)
| Application Number | Title | Priority Date | Filing Date |
|---|---|---|---|
| CN 201220478484 Expired - Lifetime CN202816213U (en) | 2012-09-19 | 2012-09-19 | Word learning auxiliary device for the blind |
Country Status (1)
| Country | Link |
|---|---|
| CN (1) | CN202816213U (en) |
Cited By (6)
| Publication number | Priority date | Publication date | Assignee | Title |
|---|---|---|---|---|
| CN102855791A (en) * | 2012-09-19 | 2013-01-02 | 华南理工大学 | Literacy auxiliary device for the blind and operating method of literacy auxiliary device for the blind |
| CN103985288A (en) * | 2014-05-13 | 2014-08-13 | 太原理工大学 | Multifunctional Braille voice device |
| CN106446887A (en) * | 2016-11-07 | 2017-02-22 | 罗杰仁 | Method and device for converting picture into voice |
| CN108831259A (en) * | 2018-07-05 | 2018-11-16 | 浙江理工大学 | The braille point of four cam coaxials driving shows device |
| CN109643501A (en) * | 2014-10-30 | 2019-04-16 | 金柱润 | Braille display and electronic equipment comprising Braille display |
| CN110782610A (en) * | 2018-07-31 | 2020-02-11 | 横河电机株式会社 | Apparatus, method and storage medium |
-
2012
- 2012-09-19 CN CN 201220478484 patent/CN202816213U/en not_active Expired - Lifetime
Cited By (9)
| Publication number | Priority date | Publication date | Assignee | Title |
|---|---|---|---|---|
| CN102855791A (en) * | 2012-09-19 | 2013-01-02 | 华南理工大学 | Literacy auxiliary device for the blind and operating method of literacy auxiliary device for the blind |
| CN102855791B (en) * | 2012-09-19 | 2014-09-10 | 华南理工大学 | Literacy auxiliary device for the blind and operating method of literacy auxiliary device for the blind |
| CN103985288A (en) * | 2014-05-13 | 2014-08-13 | 太原理工大学 | Multifunctional Braille voice device |
| CN109643501A (en) * | 2014-10-30 | 2019-04-16 | 金柱润 | Braille display and electronic equipment comprising Braille display |
| CN106446887A (en) * | 2016-11-07 | 2017-02-22 | 罗杰仁 | Method and device for converting picture into voice |
| CN108831259A (en) * | 2018-07-05 | 2018-11-16 | 浙江理工大学 | The braille point of four cam coaxials driving shows device |
| CN110782610A (en) * | 2018-07-31 | 2020-02-11 | 横河电机株式会社 | Apparatus, method and storage medium |
| CN110782610B (en) * | 2018-07-31 | 2021-12-28 | 横河电机株式会社 | Apparatus, method and storage medium |
| US11568719B2 (en) | 2018-07-31 | 2023-01-31 | Yokogawa Electric Corporation | Device, method, and recording medium |
Similar Documents
| Publication | Publication Date | Title |
|---|---|---|
| CN102855791B (en) | Literacy auxiliary device for the blind and operating method of literacy auxiliary device for the blind | |
| CN202816213U (en) | Word learning auxiliary device for the blind | |
| US11410574B2 (en) | Layered electro-magnetic refreshable braille display device and braille reader | |
| US20190385483A1 (en) | Refreshable braille display | |
| CN113673504A (en) | Scanning pen and method capable of realizing global identification scanning | |
| CN205692437U (en) | Braille learning machines based on three needle drivers | |
| CN203733335U (en) | Chinese phonetic alphabet teaching aid | |
| CN110920268B (en) | A braille engraving method and system thereof | |
| CN204204267U (en) | A kind of braille display device of layered electromagnetic formula and Braille reading machine | |
| CN206589490U (en) | A kind of notepad | |
| CN102145624B (en) | Portable Ring Object Engraving System | |
| CN1118030C (en) | Braille generation method and its reader/typewriter | |
| CN207302501U (en) | A kind of literary works electronic demonstration plate | |
| CN208848437U (en) | A permanent magnet self-locking linear drive type braille stylus display structure | |
| CN204480524U (en) | A kind of novel primary school Chinese phonetic training aid | |
| CN202855130U (en) | Braille learning machine | |
| CN210244764U (en) | Blind person reader based on memory alloy point display | |
| CN202986512U (en) | Magnetic blackboard | |
| CN101639823A (en) | Braille electronic dictionary | |
| CN204028967U (en) | The tower probe control gear writing chip apparatus of a kind of smart card | |
| CN215182529U (en) | Chinese teaching pattern demonstrator | |
| EP1994517A1 (en) | Braille reading device | |
| CN206870686U (en) | A electric lift blackboard for mathematical education | |
| CN206258850U (en) | Accessible touch servicing unit | |
| CN205194147U (en) | Pronunciation reading and self-study book in raised dot Braille |
Legal Events
| Date | Code | Title | Description |
|---|---|---|---|
| C14 | Grant of patent or utility model | ||
| GR01 | Patent grant | ||
| AV01 | Patent right actively abandoned |
Granted publication date: 20130320 Effective date of abandoning: 20140910 |
|
| RGAV | Abandon patent right to avoid regrant |
