CN202754355U - Box type garbage disposal pool - Google Patents
Box type garbage disposal pool Download PDFInfo
- Publication number
- CN202754355U CN202754355U CN2012203431994U CN201220343199U CN202754355U CN 202754355 U CN202754355 U CN 202754355U CN 2012203431994 U CN2012203431994 U CN 2012203431994U CN 201220343199 U CN201220343199 U CN 201220343199U CN 202754355 U CN202754355 U CN 202754355U
- Authority
- CN
- China
- Prior art keywords
- garbage
- pool
- liquid
- storage tank
- treatment
- Prior art date
- Legal status (The legal status is an assumption and is not a legal conclusion. Google has not performed a legal analysis and makes no representation as to the accuracy of the status listed.)
- Expired - Fee Related
Links
Images
Classifications
-
- Y—GENERAL TAGGING OF NEW TECHNOLOGICAL DEVELOPMENTS; GENERAL TAGGING OF CROSS-SECTIONAL TECHNOLOGIES SPANNING OVER SEVERAL SECTIONS OF THE IPC; TECHNICAL SUBJECTS COVERED BY FORMER USPC CROSS-REFERENCE ART COLLECTIONS [XRACs] AND DIGESTS
- Y02—TECHNOLOGIES OR APPLICATIONS FOR MITIGATION OR ADAPTATION AGAINST CLIMATE CHANGE
- Y02W—CLIMATE CHANGE MITIGATION TECHNOLOGIES RELATED TO WASTEWATER TREATMENT OR WASTE MANAGEMENT
- Y02W30/00—Technologies for solid waste management
- Y02W30/10—Waste collection, transportation, transfer or storage, e.g. segregated refuse collecting, electric or hybrid propulsion
Landscapes
- Processing Of Solid Wastes (AREA)
Abstract
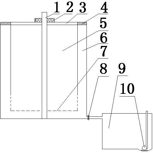
本实用新型公开了一种箱式垃圾处理池,包括垃圾储存池,其特征在于:所述的垃圾储存池包括内垃圾储存池(5),以及设置内内垃圾储存池(5)外的外垃圾液体储存池(6),外垃圾液体储存池(6)的底部通过管道与垃圾液处理池(9)连接;所述的外垃圾液体储存池(6)与垃圾液处理池(9)之间的连管道上设置有控制阀(8);垃圾液处理池(9)的底部设置有凹槽,凹槽内设置有污水泵(10)。本实用新型提供了一种结构简单、操作方便、成本低廉,且能够通过简单的处理就将垃圾进行压缩,并将产生的垃圾液体与固体进行分离处理的新型箱式垃圾处理池。
The utility model discloses a box-type garbage treatment pool, which includes a garbage storage pool, and is characterized in that: the garbage storage pool includes an inner garbage storage pool (5), and an outer garbage storage pool (5) is set outside the inner garbage storage pool (5). The garbage liquid storage tank (6), the bottom of the outer garbage liquid storage tank (6) is connected to the garbage liquid treatment tank (9) through a pipeline; the outer garbage liquid storage tank (6) and the garbage liquid treatment tank (9) A control valve (8) is arranged on the connecting pipe between them; a groove is arranged at the bottom of the garbage liquid treatment tank (9), and a sewage pump (10) is arranged in the groove. The utility model provides a novel box-type garbage treatment pool with simple structure, convenient operation and low cost, which can compress garbage through simple treatment, and separate and process the generated garbage liquid and solid.
Description
技术领域 technical field
本实用新型涉及垃圾处理设备领域,具体为一种箱式垃圾处理池。 The utility model relates to the field of garbage treatment equipment, in particular to a box-type garbage treatment pool.
背景技术 Background technique
随着社会的飞速发展,人们生活水平的不断提高,人们的物质生活与精神生活有了很大的提高,尤其是在物质生活日益丰富的今天,在快节奏的生活状态中,人们在用丰富的物质生活来释放自己快节奏的生活压力,因此,生活垃圾各式各样,五花八门,对于垃圾的存放与处理,成了现实生活中的一个亟需解决的问题。 With the rapid development of society and the continuous improvement of people's living standards, people's material life and spiritual life have been greatly improved, especially in today's increasingly rich material life, in the fast-paced living conditions, people are using rich Therefore, there are all kinds of domestic garbage, and the storage and treatment of garbage has become an urgent problem in real life.
现有的垃圾收集及存放处理池,要么是简单的一个固定箱,垃圾投入后在取出,这样给垃圾处理工人的工作环境很差,尤其是在炎热的下天,有带液体的垃圾,更是四处流淌,污染了环境,容易造成疾病的发生;要么就是处理效果较好,但是成本高昂的处理设备,不利于在日常的生活中普及推广。 The existing garbage collection and storage pool is either a simple fixed box, and the garbage is taken out after being put in. This makes the working environment for the garbage workers very poor, especially in hot weather, when there is garbage with liquid, it is even more difficult to It is flowing around, polluting the environment, and easily causing diseases; or the treatment effect is better, but the treatment equipment with high cost is not conducive to the popularization and promotion in daily life.
因此,提供一种成本低廉,且处理效果较好,便于对垃圾进行压缩处理,且对垃圾的搬运污染较小的新型垃圾处理设备,已经是一个亟需解决的问题。 Therefore, it is an urgent problem to provide a new type of garbage treatment equipment with low cost, good treatment effect, convenient compression treatment of garbage, and less pollution to garbage handling.
发明内容 Contents of the invention
为了克服上述现有技术中的不足,本实用新型提供了一种结构简单、操作方便,且能够通过简单的处理就将垃圾进行压缩,并将产生的垃圾液体与固体进行分离处理的新型箱式垃圾处理池。 In order to overcome the deficiencies in the above-mentioned prior art, the utility model provides a new type box-type garbage collector with simple structure and convenient operation, which can compress the garbage through simple treatment and separate the generated garbage liquid and solid. Garbage disposal pool.
本实用新型的目的是这样实现的: The purpose of this utility model is achieved in that:
箱式垃圾处理池,包括垃圾储存池,其特征在于:所述的垃圾储存池包括内垃圾储存池5,以及设置内内垃圾储存池5外的外垃圾液体储存池6,外垃圾液体储存池6的底部通过管道与垃圾液处理池9连接;
The box-type garbage disposal pool includes a garbage storage pool, and is characterized in that: the garbage storage pool includes an inner
所述的外垃圾液体储存池6与垃圾液处理池9之间的连管道上设置有控制阀8;垃圾液处理池9的底部设置有凹槽,凹槽内设置有污水泵10;
A
垃圾液处理池9位于外垃圾液体储存池6的下方或侧下方;
Garbage
所述的内垃圾储存池5的底部及下部的池壁上开有出液孔7;
A liquid outlet hole 7 is opened on the bottom of the inner
所述的内垃圾储存池5顶部设置有内垃圾储存池盖3,外垃圾液体储存池6顶部设置有外垃圾液体储存池盖4;内垃圾储存池5与外垃圾液体储存池6的中部设置有螺杆1,螺杆1上设置有位于内垃圾储存池盖3上方的螺母2。
The top of the inner
积极有益效果:本实用新型结构简单,且成本低廉,将垃圾倒入内垃圾储存池5后,垃圾中垃圾液体通过出液孔7流入外垃圾液体储存池6内,然后再通过管道流入垃圾液处理池9内经过沉淀,最终被作为液体处理,而内垃圾储存池5内的垃圾可以通过螺母2利用螺杆1上的螺纹旋转对内垃圾储存池盖3进行压紧,最终将内垃圾储存池5内的垃圾压缩,减少对空间的占用。
Positive and beneficial effects: the utility model has simple structure and low cost. After pouring the garbage into the inner
附图说明 Description of drawings
图1为本实用新型的结构示意图; Fig. 1 is the structural representation of the utility model;
图中为:螺杆1、螺母2、内垃圾储存池盖3、外垃圾液体储存池盖4、内垃圾储存池5、外垃圾液体储存池6、出液孔7、控制阀8、圾液处理池9、污水泵10。
The figure shows: screw 1, nut 2, inner garbage storage tank cover 3, outer garbage liquid
具体实施方式 Detailed ways
下面结合附图,对本实用新型作进一步的说明: Below in conjunction with accompanying drawing, the utility model is further described:
如图1所示,箱式垃圾处理池,包括垃圾储存池,其特征在于:所述的垃圾储存池包括内垃圾储存池5,以及设置内内垃圾储存池5外的外垃圾液体储存池6,外垃圾液体储存池6的底部通过管道与垃圾液处理池9连接;
As shown in Figure 1, the box-type garbage disposal pool includes a garbage storage pool, which is characterized in that: the garbage storage pool includes an inner
所述的外垃圾液体储存池6与垃圾液处理池9之间的连管道上设置有控制阀8;垃圾液处理池9的底部设置有凹槽,凹槽内设置有污水泵10;
A
垃圾液处理池9位于外垃圾液体储存池6的下方或侧下方;
Garbage
所述的内垃圾储存池5的底部及下部的池壁上开有出液孔7;
A liquid outlet hole 7 is opened on the bottom of the inner
所述的内垃圾储存池5顶部设置有内垃圾储存池盖3,外垃圾液体储存池6顶部设置有外垃圾液体储存池盖4;内垃圾储存池5与外垃圾液体储存池6的中部设置有螺杆1,螺杆1上设置有位于内垃圾储存池盖3上方的螺母2。
The top of the inner
使用时,将垃圾倒入内垃圾储存池5,当有液体时,会通过出液孔7流入外垃圾液体储存池6内,然后通过设置有控制阀8的管道流入垃圾液处理池9内进行沉淀;当内垃圾储存池5内的垃圾堆满时,盖上内垃圾储存池盖3,然后旋转位于内垃圾储存池盖3上面的螺母2,将内垃圾储存池盖3向下压紧,这样可以压缩垃圾空间,同时将垃圾内的液体挤压至外垃圾液体储存池6;垃圾液处理池9内的垃圾液沉底后通过污泥泵10抽出垃圾液处理池9进行处理。
During use, the garbage is poured into the inner
以上实施例仅用于说明本实用新型的优选实施方式,但本实用新型并不限于上述实施方式,在所述领域普通技术人员所具备的知识范围内,本实用新型的精神和原则之内所作的任何修改、等同替代和改进等,其均应涵盖在本实用新型请求保护的技术方案范围之内。 The above examples are only used to illustrate the preferred implementation of the present utility model, but the utility model is not limited to the above-mentioned implementation, within the scope of knowledge possessed by those of ordinary skill in the art, within the spirit and principles of the utility model Any modifications, equivalent substitutions and improvements, etc., shall be covered within the scope of the technical solution claimed by the utility model.
Claims (4)
Priority Applications (1)
| Application Number | Priority Date | Filing Date | Title |
|---|---|---|---|
| CN2012203431994U CN202754355U (en) | 2012-07-17 | 2012-07-17 | Box type garbage disposal pool |
Applications Claiming Priority (1)
| Application Number | Priority Date | Filing Date | Title |
|---|---|---|---|
| CN2012203431994U CN202754355U (en) | 2012-07-17 | 2012-07-17 | Box type garbage disposal pool |
Publications (1)
| Publication Number | Publication Date |
|---|---|
| CN202754355U true CN202754355U (en) | 2013-02-27 |
Family
ID=47733551
Family Applications (1)
| Application Number | Title | Priority Date | Filing Date |
|---|---|---|---|
| CN2012203431994U Expired - Fee Related CN202754355U (en) | 2012-07-17 | 2012-07-17 | Box type garbage disposal pool |
Country Status (1)
| Country | Link |
|---|---|
| CN (1) | CN202754355U (en) |
Cited By (1)
| Publication number | Priority date | Publication date | Assignee | Title |
|---|---|---|---|---|
| CN107600827A (en) * | 2017-10-26 | 2018-01-19 | 徐勤凤 | A kind of underground garbage collection device |
-
2012
- 2012-07-17 CN CN2012203431994U patent/CN202754355U/en not_active Expired - Fee Related
Cited By (1)
| Publication number | Priority date | Publication date | Assignee | Title |
|---|---|---|---|---|
| CN107600827A (en) * | 2017-10-26 | 2018-01-19 | 徐勤凤 | A kind of underground garbage collection device |
Similar Documents
| Publication | Publication Date | Title |
|---|---|---|
| CN204126043U (en) | A kind of early-stage rainwater stream abandoning device | |
| CN202754355U (en) | Box type garbage disposal pool | |
| CN201942227U (en) | Convenient garbage can | |
| CN207211305U (en) | A kind of urban rainwater collection reclaiming system | |
| CN204896464U (en) | Portable rubbish compression station | |
| CN202007436U (en) | Initial rainwater flow distributing and collecting device capable of realizing unmanned management | |
| CN211946443U (en) | A processing apparatus for landfill leachate | |
| CN203886265U (en) | Novel residue-liquid separation device for kitchen wastes | |
| CN203049685U (en) | Water collecting groove of water treatment equipment | |
| CN211813963U (en) | A high-efficiency sewage chemical and biological treatment device | |
| CN203329493U (en) | Swill fat recycling device | |
| CN207126664U (en) | A kind of Domestic garbage treatment equipment | |
| CN206279584U (en) | A kind of cell full-automatic water saving device | |
| CN106081418A (en) | A kind of refuse receptacle of band automatic impaction garbage apparatus | |
| CN205346860U (en) | Fecal sewage treatment device | |
| CN221752508U (en) | A rainwater pre-treatment device | |
| CN203855430U (en) | Plate type cyclone air stripping tower | |
| CN205419939U (en) | Chemical industry waste liquid classification recovery device | |
| CN204768073U (en) | A water reducing agent spray recovery tower | |
| CN206011791U (en) | A kind of pressing device for liquid waste processing | |
| CN203684338U (en) | Shunt drainer | |
| CN211724904U (en) | A solid-liquid separation device for food waste treatment | |
| CN201604950U (en) | Medical Waste Disposal Bin | |
| CN211384129U (en) | A water tank storage type kiln water purification device | |
| CN207769310U (en) | A kind of Domestic sewage collecting processing unit |
Legal Events
| Date | Code | Title | Description |
|---|---|---|---|
| C14 | Grant of patent or utility model | ||
| GR01 | Patent grant | ||
| CF01 | Termination of patent right due to non-payment of annual fee |
Granted publication date: 20130227 Termination date: 20180717 |
|
| CF01 | Termination of patent right due to non-payment of annual fee |
