CN202750265U - LED (Light-Emitting Diode) energy-saving voltage-reduction circuit system - Google Patents
LED (Light-Emitting Diode) energy-saving voltage-reduction circuit system Download PDFInfo
- Publication number
- CN202750265U CN202750265U CN201220228816.6U CN201220228816U CN202750265U CN 202750265 U CN202750265 U CN 202750265U CN 201220228816 U CN201220228816 U CN 201220228816U CN 202750265 U CN202750265 U CN 202750265U
- Authority
- CN
- China
- Prior art keywords
- led
- output
- input
- energy
- transformer
- Prior art date
- Legal status (The legal status is an assumption and is not a legal conclusion. Google has not performed a legal analysis and makes no representation as to the accuracy of the status listed.)
- Expired - Fee Related
Links
- 238000004134 energy conservation Methods 0.000 claims 2
- 230000020169 heat generation Effects 0.000 abstract description 2
- 230000007613 environmental effect Effects 0.000 description 4
- 238000010586 diagram Methods 0.000 description 2
- QSHDDOUJBYECFT-UHFFFAOYSA-N mercury Chemical compound [Hg] QSHDDOUJBYECFT-UHFFFAOYSA-N 0.000 description 2
- 229910052753 mercury Inorganic materials 0.000 description 2
- 230000009286 beneficial effect Effects 0.000 description 1
- 239000003086 colorant Substances 0.000 description 1
- 230000007812 deficiency Effects 0.000 description 1
- 238000005265 energy consumption Methods 0.000 description 1
- 239000000383 hazardous chemical Substances 0.000 description 1
- 230000007774 longterm Effects 0.000 description 1
- 238000000034 method Methods 0.000 description 1
- 239000004065 semiconductor Substances 0.000 description 1
- 239000002689 soil Substances 0.000 description 1
- XLYOFNOQVPJJNP-UHFFFAOYSA-N water Substances O XLYOFNOQVPJJNP-UHFFFAOYSA-N 0.000 description 1
Images
Classifications
-
- Y—GENERAL TAGGING OF NEW TECHNOLOGICAL DEVELOPMENTS; GENERAL TAGGING OF CROSS-SECTIONAL TECHNOLOGIES SPANNING OVER SEVERAL SECTIONS OF THE IPC; TECHNICAL SUBJECTS COVERED BY FORMER USPC CROSS-REFERENCE ART COLLECTIONS [XRACs] AND DIGESTS
- Y02—TECHNOLOGIES OR APPLICATIONS FOR MITIGATION OR ADAPTATION AGAINST CLIMATE CHANGE
- Y02B—CLIMATE CHANGE MITIGATION TECHNOLOGIES RELATED TO BUILDINGS, e.g. HOUSING, HOUSE APPLIANCES OR RELATED END-USER APPLICATIONS
- Y02B20/00—Energy efficient lighting technologies, e.g. halogen lamps or gas discharge lamps
- Y02B20/40—Control techniques providing energy savings, e.g. smart controller or presence detection
Landscapes
- Circuit Arrangement For Electric Light Sources In General (AREA)
Abstract
本实用新型公开了一种LED节能降压电路系统,依次包括相互连接的电源、变压器、电压比较器、PWM模块、LED灯及MCU微控制器;电源电路的输出端连接变压器的输入端,变压器的输出端连接电压比较强的输入端,电压比较器的输出端连接PWM模块输入端,PWM模块输出端连接LED灯输入端,LED灯输出端连接MCU微处理器的输入端,MCU的输入端接电源。通过电信号输入MCU微控制器后,输出电压至LED发光二极管的负极端,LED发光二极管两端电压差降低,LED发光二极管发热减少,使得LED节能灯在较低温度下达到热平衡,节约了电能,同时延长了使用寿命。
The utility model discloses an LED energy-saving step-down circuit system, which sequentially includes a power supply connected to each other, a transformer, a voltage comparator, a PWM module, an LED lamp and an MCU microcontroller; the output end of the power supply circuit is connected to the input end of the transformer, and the transformer The output terminal of the voltage comparator is connected to the input terminal with relatively strong voltage, the output terminal of the voltage comparator is connected to the input terminal of the PWM module, the output terminal of the PWM module is connected to the input terminal of the LED light, the output terminal of the LED light is connected to the input terminal of the MCU microprocessor, and the input terminal of the MCU Connect to power. After the electrical signal is input to the MCU microcontroller, the output voltage is sent to the negative terminal of the LED light-emitting diode, the voltage difference between the two ends of the LED light-emitting diode is reduced, and the heat generation of the LED light-emitting diode is reduced, so that the LED energy-saving lamp reaches a thermal balance at a lower temperature and saves electric energy. , while prolonging the service life.
Description
技术领域 technical field
本实用新型涉及一种家用照明设备,特别是涉及一种LED节能降压电路系统。 The utility model relates to a household lighting device, in particular to an LED energy-saving and step-down circuit system.
背景技术 Background technique
LED即半导体发光二极管,LED节能灯是用高亮度白色发光二极管发光源,光效高、耗电少,寿命长、易控制、免维护、安全环保;是新一代固体冷光源,光色柔和、艳丽、丰富多彩、低损耗、低能耗,绿色环保,适用家庭,商场,银行,医院,宾馆,饭店他各种公共场所长时间照明。无闪直流电,对眼睛起到很好的保护作用,是台灯,手电的最佳选择。 LED is a semiconductor light-emitting diode. LED energy-saving lamps use high-brightness white light-emitting diodes as light sources. They have high luminous efficiency, low power consumption, long life, easy control, maintenance-free, safety and environmental protection; Bright, colorful, low loss, low energy consumption, green and environmental protection, suitable for long-term lighting in families, shopping malls, banks, hospitals, hotels, restaurants and other public places. Flash-free direct current, very good protection for the eyes, is the best choice for desk lamps and flashlights.
LED节能灯是继紧凑型荧光灯(即普通节能灯)后的新一代照明光源。相比普通节能灯,LED节能灯环保不含汞,可回收再利用,功率下,高光效,长寿命,即开即亮,耐频繁开关,光衰小,色彩丰富,可调光,变幻丰富。大量使用普通节能灯,会造成汞污染,污染土壤水源,从而间接的污染食品,环境危害不可小觑。 LED energy-saving lamps are a new generation of lighting sources after compact fluorescent lamps (ie ordinary energy-saving lamps). Compared with ordinary energy-saving lamps, LED energy-saving lamps are environmentally friendly and do not contain mercury, can be recycled and reused, low power, high light efficiency, long life, instant lighting, resistance to frequent switching, low light decay, rich colors, dimmable, rich changes . Extensive use of ordinary energy-saving lamps will cause mercury pollution, pollute soil and water sources, and indirectly pollute food. The environmental hazards cannot be underestimated.
LED具有高效节能、超长寿命、健康、绿色环保、保护视力、光效率高、安全系数高、市场潜力大。 LED has the advantages of high efficiency and energy saving, long life, health, environmental protection, vision protection, high light efficiency, high safety factor, and great market potential.
实用新型内容 Utility model content
本实用新型的目的在于克服现有技术的不足,提供一种LED节能降压电路系统,结构简单,节能环保,安全可靠,成本低,使用寿命长。 The purpose of the utility model is to overcome the deficiencies of the prior art and provide an LED energy-saving and step-down circuit system, which has the advantages of simple structure, energy saving, environmental protection, safety and reliability, low cost and long service life.
为了达到上述目的,本实用新型采用的技术方案是:一种LED节能降压电路系统,所述的LED节能降压电路系统依次包括相互连接的电源、变压器、电压比较器、PWM模块、LED灯及MCU微控制器;电源电路的输出端连接变压器的输入端,变压器的输出端连接电压比较器的输入端,电压比较器的输出端连接PWM模块输入端,PWM模块输出端连接LED灯输入端,LED灯输出端连接MCU微处理器的输出端,MCU微处理器的输入端接电源。所述的变压器的输出端与MCU微处理器的输入端连接一电阻R1。 In order to achieve the above object, the technical solution adopted by the utility model is: an LED energy-saving step-down circuit system, the LED energy-saving step-down circuit system sequentially includes a power supply connected to each other, a transformer, a voltage comparator, a PWM module, an LED lamp And MCU microcontroller; the output end of the power circuit is connected to the input end of the transformer, the output end of the transformer is connected to the input end of the voltage comparator, the output end of the voltage comparator is connected to the input end of the PWM module, and the output end of the PWM module is connected to the input end of the LED lamp , the output end of the LED light is connected to the output end of the MCU microprocessor, and the input end of the MCU microprocessor is connected to the power supply. The output terminal of the transformer is connected to a resistor R1 with the input terminal of the MCU microprocessor.
与现有技术相比,本实用新型的有益效果是:通过电信号输入MCU微控制器后,经过调制解调输出电压至LED发光二极管的负极端,LED发光二极管两端电压差降低,LED发光二极管发热减少,使得LED节能灯在较低温度下达到热平衡,节约了电能,同时延长了使用寿命。 Compared with the prior art, the beneficial effect of the utility model is: after the electrical signal is input to the MCU microcontroller, the output voltage is modulated and demodulated to the negative end of the LED light-emitting diode, the voltage difference between the two ends of the LED light-emitting diode is reduced, and the LED emits light. The heat reduction of the diode makes the LED energy-saving lamp reach a thermal balance at a lower temperature, which saves electric energy and prolongs the service life at the same time.
附图说明 Description of drawings
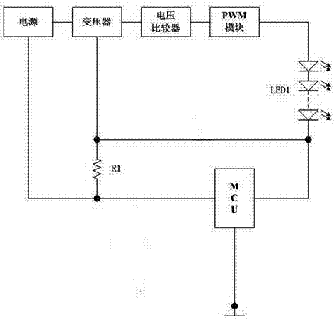
图1为本实用新型的电路结构原理图。 Fig. 1 is the schematic diagram of the circuit structure of the utility model.
具体实施方式 Detailed ways
下面结合实施例参照附图进行详细说明,以便对本实用新型的技术特征及优点进行更深入的诠释。 The following will be described in detail with reference to the accompanying drawings in conjunction with the embodiments, so as to further explain the technical features and advantages of the present utility model.
本实用新型的电路结构原理图如图1所示,一种LED节能降压电路系统,所述的LED节能降压电路系统依次包括相互连接的电源、变压器、电压比较器、PWM模块、LED灯及MCU微控制器;电源电路的输出端连接变压器的输入端,变压器的输出端连接电压比较器的输入端,电压比较器的输出端连接PWM模块输入端,PWM模块输出端连接LED灯输入端,LED灯输出端连接MCU微处理器的输出端,MCU微处理器的输入端接电源。所述的变压器的输出端与MCU微处理器的输入端连接一电阻R1。 The schematic diagram of the circuit structure of the present utility model is shown in Figure 1, an LED energy-saving step-down circuit system. And MCU microcontroller; the output end of the power circuit is connected to the input end of the transformer, the output end of the transformer is connected to the input end of the voltage comparator, the output end of the voltage comparator is connected to the input end of the PWM module, and the output end of the PWM module is connected to the input end of the LED lamp , the output end of the LED light is connected to the output end of the MCU microprocessor, and the input end of the MCU microprocessor is connected to the power supply. The output terminal of the transformer is connected to a resistor R1 with the input terminal of the MCU microprocessor.
本实用新型的工作原理如下:电源电压输入后经过变压器变压,并经过电压比较器后经过PWM模块调制解调后输出到LED灯组,LED灯组的输出端连接MCU微处理器。通过电信号输入MCU微控制器后,经过调制解调输出电压至LED发光二极管的负极端,LED发光二极管两端电压差降低,LED发光二极管发热减少,使得LED节能灯在较低温度下达到热平衡,节约了电能,同时延长了使用寿命。 The working principle of the utility model is as follows: After the power supply voltage is input, it is transformed by a transformer, and then output to the LED lamp group after being modulated and demodulated by the PWM module through the voltage comparator, and the output end of the LED lamp group is connected to the MCU microprocessor. After the electrical signal is input to the MCU microcontroller, the output voltage is modulated and demodulated to the negative terminal of the LED light-emitting diode, the voltage difference between the two ends of the LED light-emitting diode is reduced, and the heat generation of the LED light-emitting diode is reduced, so that the LED energy-saving lamp reaches thermal balance at a lower temperature , saving electric energy and prolonging the service life at the same time.
上述实施例中提到的内容并非是对本实用新型的限定,在不脱离本实用新型的实用新型构思的前提下,任何显而易见的替换均在本实用新型的保护范围之内。 The contents mentioned in the above embodiments are not limitations of the present utility model, and any obvious replacements are within the protection scope of the present utility model without departing from the utility model concept of the present utility model.
Claims (1)
Priority Applications (1)
| Application Number | Priority Date | Filing Date | Title |
|---|---|---|---|
| CN201220228816.6U CN202750265U (en) | 2012-05-21 | 2012-05-21 | LED (Light-Emitting Diode) energy-saving voltage-reduction circuit system |
Applications Claiming Priority (1)
| Application Number | Priority Date | Filing Date | Title |
|---|---|---|---|
| CN201220228816.6U CN202750265U (en) | 2012-05-21 | 2012-05-21 | LED (Light-Emitting Diode) energy-saving voltage-reduction circuit system |
Publications (1)
| Publication Number | Publication Date |
|---|---|
| CN202750265U true CN202750265U (en) | 2013-02-20 |
Family
ID=47709610
Family Applications (1)
| Application Number | Title | Priority Date | Filing Date |
|---|---|---|---|
| CN201220228816.6U Expired - Fee Related CN202750265U (en) | 2012-05-21 | 2012-05-21 | LED (Light-Emitting Diode) energy-saving voltage-reduction circuit system |
Country Status (1)
| Country | Link |
|---|---|
| CN (1) | CN202750265U (en) |
Cited By (1)
| Publication number | Priority date | Publication date | Assignee | Title |
|---|---|---|---|---|
| CN102665312A (en) * | 2012-05-21 | 2012-09-12 | 杨南宁 | LED (light-emitting diode) energy-saving voltage-reducing circuit system |
-
2012
- 2012-05-21 CN CN201220228816.6U patent/CN202750265U/en not_active Expired - Fee Related
Cited By (1)
| Publication number | Priority date | Publication date | Assignee | Title |
|---|---|---|---|---|
| CN102665312A (en) * | 2012-05-21 | 2012-09-12 | 杨南宁 | LED (light-emitting diode) energy-saving voltage-reducing circuit system |
Similar Documents
| Publication | Publication Date | Title |
|---|---|---|
| CN202750265U (en) | LED (Light-Emitting Diode) energy-saving voltage-reduction circuit system | |
| CN201237183Y (en) | LED lamp without driving circuit | |
| CN204578843U (en) | A kind of LED drive circuit | |
| CN203632931U (en) | Protection circuit for driving LED light source COB series combination with switching power supply | |
| CN202799257U (en) | LED fluorescent lamp utilizing high-frequency self-vibration electronic transformer | |
| CN101801144A (en) | LED illumination energy saving circuit | |
| CN202005045U (en) | Energy-saving LED street lamp for different-time illumination | |
| CN202738165U (en) | LED energy-saving voltage reduction circuit | |
| CN201129690Y (en) | Industrial frequency LED lighting lamp | |
| CN202713680U (en) | LED energy-saving and step-down circuit | |
| CN202998579U (en) | LED bulb without transformer driving circuit | |
| CN204616144U (en) | A kind of control circuit of LED energy conserving lamp | |
| CN202652626U (en) | LED drive power supply with power saving device | |
| CN205746133U (en) | A kind of energy-saving bulb of band night-light | |
| CN204119629U (en) | Develop the color adjustable LED control circuit | |
| CN201928473U (en) | Novel light emitting diode (LED) illuminating lamp system | |
| CN204069403U (en) | A kind of efficient ac LED | |
| CN201440744U (en) | LED constant-current controller | |
| CN201700040U (en) | LED luminous tube emergency lighting device | |
| CN2594742Y (en) | LED illuminator of refrigerator | |
| CN202561537U (en) | Simple and high-efficiency capacitance voltage-reducing and current-limiting type LED (Light Emitting Diode) energy-saving light source | |
| CN202733499U (en) | Household LED (light-emitting diode) energy-saving lamp | |
| CN202998575U (en) | Serially-connected LED bulbs without a transformer driving circuit | |
| CN204836697U (en) | High-efficiency non-isolated circuit for LED illumination | |
| CN201937884U (en) | LED dimming energy-saving lamp/energy saver |
Legal Events
| Date | Code | Title | Description |
|---|---|---|---|
| C14 | Grant of patent or utility model | ||
| GR01 | Patent grant | ||
| C17 | Cessation of patent right | ||
| CF01 | Termination of patent right due to non-payment of annual fee |
Granted publication date: 20130220 Termination date: 20130521 |
