CN202724196U - Infant lithotomy position operative position frame - Google Patents
Infant lithotomy position operative position frame Download PDFInfo
- Publication number
- CN202724196U CN202724196U CN 201220473152 CN201220473152U CN202724196U CN 202724196 U CN202724196 U CN 202724196U CN 201220473152 CN201220473152 CN 201220473152 CN 201220473152 U CN201220473152 U CN 201220473152U CN 202724196 U CN202724196 U CN 202724196U
- Authority
- CN
- China
- Prior art keywords
- trunk
- leg
- support plate
- arm
- chute
- Prior art date
- Legal status (The legal status is an assumption and is not a legal conclusion. Google has not performed a legal analysis and makes no representation as to the accuracy of the status listed.)
- Expired - Fee Related
Links
Landscapes
- Orthopedics, Nursing, And Contraception (AREA)
Abstract
一种婴幼儿截石位手术体位架,包括底板和两个腿部垫高气囊;底板包括一个躯干支撑板、一个头部支撑板、两个手臂支撑板和两个腿部支撑板,头部支撑板下端连接躯干支撑板上端,两个手臂支撑板的近端均与躯干支撑板上部连接,并且两个手臂支撑板分别处于躯干支撑板的左右两侧,两个腿部支撑板的近端均与躯干支撑板下端连接,两个腿部支撑板的长度方向之间的夹角为140-160度;两个腿部垫高气囊分别设于两个腿部支撑板上;手臂支撑板上设有手臂固定带,腿部支撑板上设有腿部固定带。本实用新型用于在婴幼儿截石位手术中对婴幼儿的肢体进行固定,能够使接受手术的婴幼儿在手术过程中一直保持所需的体位,确保手术的正常进行。
A postural stand for infant lithotomy operation, comprising a base plate and two leg pads; the base plate includes a trunk support plate, a head support plate, two arm support plates and two leg support plates, the head The lower end of the support plate is connected to the upper end of the trunk support plate, the proximal ends of the two arm support plates are connected to the upper part of the trunk support plate, and the two arm support plates are respectively located on the left and right sides of the trunk support plate, and the proximal ends of the two leg support plates are Both are connected with the lower end of the trunk support board, and the included angle between the length directions of the two leg support boards is 140-160 degrees; the two leg heightening airbags are respectively set on the two leg support boards; An arm strap is provided, and a leg strap is provided on the leg support plate. The utility model is used for fixing the limbs of infants during the lithotomy position operation of infants, and can keep the infants undergoing the operation in the required body position during the operation, so as to ensure the normal operation of the operation.
Description
技术领域 technical field
本实用新型涉及医疗器械,具体地说,涉及一种婴幼儿截石位手术体位架。The utility model relates to a medical device, in particular to an infant lithotomy position operation position stand.
背景技术 Background technique
目前,在对患者实施手术时,一般需要将患者固定在手术床上,然而医院中所配备的手术床通常只适用于成人。由于婴幼儿体形较小,需要对婴幼儿实施手术(例如截石位手术)时,采用现有的手术床很难将其肢体固定并在手术过程中一直保持所需的体位,影响手术的正常进行。At present, when performing an operation on a patient, it is generally necessary to fix the patient on an operating bed, but the operating bed equipped in a hospital is usually only suitable for adults. Due to the small size of infants and young children, when it is necessary to perform surgery on infants (such as lithotomy surgery), it is difficult to fix their limbs with the existing operating bed and maintain the required position during the operation, which affects the normal operation. conduct.
发明内容 Contents of the invention
本实用新型所要解决的技术问题是提供一种婴幼儿截石位手术体位架,用于在婴幼儿截石位手术中对婴幼儿的肢体进行固定。采用的技术方案如下:The technical problem to be solved by the utility model is to provide an infant lithotomy position operation position frame, which is used for fixing the limbs of infants during the infant lithotomy operation. The technical scheme adopted is as follows:
一种婴幼儿截石位手术体位架,其特征在于包括底板和两个腿部垫高气囊;底板包括一个躯干支撑板、一个头部支撑板、两个手臂支撑板和两个腿部支撑板,头部支撑板下端连接躯干支撑板上端,两个手臂支撑板的近端均与躯干支撑板上部连接,并且两个手臂支撑板分别处于躯干支撑板的左右两侧,两个腿部支撑板的近端均与躯干支撑板下端连接,两个腿部支撑板的长度方向之间的夹角为140-160度;两个腿部垫高气囊分别设于两个腿部支撑板上;手臂支撑板上设有手臂固定带,腿部支撑板上设有腿部固定带。A position frame for lithotomy position for infants and young children, characterized in that it includes a base plate and two leg raising airbags; the base plate includes a trunk support plate, a head support plate, two arm support plates and two leg support plates , the lower end of the head support board is connected to the upper end of the trunk support board, the proximal ends of the two arm support boards are connected to the upper part of the trunk support board, and the two arm support boards are respectively located on the left and right sides of the trunk support board, and the two leg support boards are The proximal end of each leg is connected to the lower end of the trunk support board, and the included angle between the length directions of the two leg support boards is 140-160 degrees; the two leg cushion airbags are respectively arranged on the two leg support boards; An arm fixing belt is arranged on the supporting plate, and a leg fixing belt is arranged on the leg supporting plate.
本实用新型中,手臂支撑板的近端、腿部支撑板的近端是指其靠近躯干支撑板的一端。In the present invention, the proximal end of the arm support plate and the proximal end of the leg support plate refer to the end close to the trunk support plate.
上述底板呈“大”字形,与截石位手术对肢体的位置要求相适应。对婴幼儿进行截石位手术时,婴幼儿仰卧在底板上,其躯干置于躯干支撑板上,头部置于头部支撑板上(可在头部支撑板上垫上头圈,用头圈托住头部),两手臂分别置于两手臂支撑板上,两腿张开后分别置于两腿部垫高气囊上(通常小腿置于腿部垫高气囊顶部,大腿下侧与腿部垫高气囊侧壁接触);然后通过手臂固定带将手臂固定在相应的手臂支撑板上,通过腿部固定带将腿部固定在相应的腿部支撑板及腿部垫高气囊上,从而将婴幼儿的肢体固定在底板上,其中腿部垫高气囊将腿部上抬(小腿通常大致处于水平方向),两腿之间张开一定的角度(140-160度)。The above-mentioned base plate is in the shape of "big", which is suitable for the position requirements of the limbs in the lithotomy position operation. When performing lithotomy position surgery on infants and young children, infants and young children lie on their backs on the bottom board, their torso is placed on the trunk support board, and their head is placed on the head support board (the head ring can be placed on the head support board, and the head ring can be used). Hold the head), put the two arms on the two arm support boards, and place the two legs on the two leg airbags after opening (usually the calf is placed on the top of the leg airbag, the lower side of the thigh and the leg contact with the side wall of the airbag); then the arm is fixed on the corresponding arm support board through the arm fixing belt, and the leg is fixed on the corresponding leg support board and the leg heightening airbag through the leg fixing belt, so that the The limbs of infants and young children are fixed on the floor, and the legs are lifted up by airbags (the lower legs are usually in a roughly horizontal direction), and the legs are opened at a certain angle (140-160 degrees).
进一步,为了使婴幼儿截石位手术体位架能够适合不同身高的婴幼儿,优选上述躯干支撑板包括躯干上支撑板和躯干下支撑板,躯干下支撑板中设有上下走向的滑槽,躯干上支撑板处于滑槽中并与滑槽作滑动配合,滑槽的槽壁上设有至少一个与滑槽腔体连通的螺孔,螺孔中安装有紧固螺钉。通过设置上述结构,使躯干支撑板的长度可调节。使用时,根据患儿躯干的长度,使躯干上支撑板处在滑槽中的适当位置后,旋紧紧固螺钉,使紧固螺钉顶住躯干上支撑板,即可将躯干上支撑板与躯干下支撑板固定在一起,使躯干支撑板保持所需的长度。Further, in order to make the infant lithotomy position operation position frame suitable for infants of different heights, preferably the above-mentioned trunk support plate includes an upper trunk support plate and a lower trunk support plate, the lower trunk support plate is provided with a chute going up and down, and the trunk The upper support plate is located in the chute and is slidingly matched with the chute. The wall of the chute is provided with at least one screw hole communicating with the cavity of the chute, and a fastening screw is installed in the screw hole. By setting the above structure, the length of the trunk support plate can be adjusted. When in use, according to the length of the trunk of the child, after the upper trunk support plate is in a proper position in the chute, tighten the fastening screws so that the fastening screws withstand the upper trunk support plate, and then the upper trunk support plate and the upper trunk support plate can be connected. The lower torso support plates are fastened together so that the torso support plates maintain the desired length.
为了便于调节腿部垫高气囊的高度,从而将腿部抬高至合适位置,优选上述两个腿部垫高气囊各配置有一中空充气球;中空充气球设有进气口和出气口,进气口上设有进气单向阀,出气口上设有出气单向阀;腿部垫高气囊上安装有三位三通阀,三位三通阀具有进出气口、排气口和充气口,进出气口与腿部垫高气囊的腔体连通,充气口通过充气管与中空充气球的出气口连通。上述三位三通阀可在下述三个状态之间进行切换:(1)在第一种状态,充气口与进出气口连通,排气口封闭,此时中空充气球可对腿部垫高气囊充气,腿部垫高气囊高度增大;(2)在第二种状态,进出气口与排气口连通,充气口封闭,此时腿部垫高气囊内的气体可经进出气口、排气口排到外界,腿部垫高气囊高度减小;(3)在第三种状态,进出气口封闭,排气口和充气口通常也封闭,此时腿部垫高气囊高度保持不变。上述出气单向阀和进气单向阀用于控制中空充气球腔体的气体流向,出气单向阀允许中空充气球腔体内的气体经出气口进入充气管、但不允许气体经出气口进入中空充气球腔体内,进气单向阀允许外界气体经进气口进入中空充气球腔体内、但不允许中空充气球腔体内的气体经进气口排出。中空充气球采用弹性材料(如橡胶)制成。当用手挤压中空充气球时,中空充气球腔体内的气体经出气口、充气管、充气口、进出气口进入腿部垫高气囊腔体内;松开手时,中空充气球恢复原状,此时中空充气球内部产生负压,外界空气经进气口进入中空充气球的腔体内。反复挤压、松开中空充气球,即可实现对腿部垫高气囊充气。In order to facilitate the adjustment of the height of the leg-raising airbags, thereby raising the legs to a suitable position, preferably each of the above-mentioned two leg-raising airbags is equipped with a hollow inflatable ball; the hollow inflatable ball is provided with an air inlet and an air outlet. There is an air inlet one-way valve on the air port, and an air outlet one-way valve on the air outlet; a three-position three-way valve is installed on the leg cushion airbag, and the three-position three-way valve has an air inlet and outlet, an exhaust port and an air charging port, and the air inlet and outlet The air port is communicated with the cavity of the leg pad air bag, and the inflation port is communicated with the air outlet of the hollow inflatable ball through the inflation tube. The above-mentioned three-position three-way valve can be switched between the following three states: (1) In the first state, the inflation port is connected to the air inlet and outlet, and the exhaust port is closed. At this time, the hollow inflatable ball can raise the air bag on the leg Inflated, the height of the leg-padded airbag increases; (2) In the second state, the air inlet and outlet are connected to the exhaust port, and the inflation port is closed. At this time, the gas in the leg-up airbag can pass through the air inlet and outlet, and the exhaust port When it is discharged to the outside, the height of the leg-raising airbag decreases; (3) in the third state, the air inlet and outlet are closed, and the exhaust port and the inflation port are usually also closed, and the height of the leg-raising airbag remains unchanged at this time. The above-mentioned gas outlet check valve and inlet check valve are used to control the gas flow direction of the hollow inflatable ball cavity. The gas outlet check valve allows the gas in the hollow inflatable ball cavity to enter the inflatable tube through the gas outlet, but does not allow the gas to enter through the gas outlet. In the cavity of the hollow inflatable ball, the air intake check valve allows outside air to enter the cavity of the hollow inflatable ball through the air inlet, but does not allow the gas in the cavity of the hollow inflatable ball to be discharged through the air inlet. Hollow inflatable balls are made of elastic material such as rubber. When the hollow inflatable ball is squeezed by hand, the gas in the cavity of the hollow inflatable ball enters the cavity of the leg pad through the air outlet, the inflatable tube, the inflatable port, and the air inlet and outlet; when the hand is released, the hollow inflatable ball returns to its original shape. When a negative pressure is generated inside the hollow inflatable ball, the outside air enters the cavity of the hollow inflatable ball through the air inlet. Repeatedly squeezing and releasing the hollow inflatable ball can inflate the leg cushion airbag.
优选上述腿部垫高气囊底部通过尼龙搭扣与腿部支撑板连接。采用尼龙搭扣进行连接,可通过调整搭扣绒条与搭扣钩条的搭接部位,使腿部垫高气囊的位置可根据需要进行调整。Preferably, the bottom of the above-mentioned leg cushioning airbag is connected to the leg support plate through Velcro. The Velcro is used for connection, and the position of the leg pad airbag can be adjusted as required by adjusting the overlapping part of the buckle fleece strip and the buckle hook strip.
另外,还可在腿部垫高气囊顶部设置条形凹槽,该条形凹槽沿腿部支撑板的长度方向延伸,使用时小腿置于该条形凹槽中,能够使腿部更好地定位在腿部垫高气囊上。In addition, a strip-shaped groove can also be set on the top of the leg-raising airbag, and the strip-shaped groove extends along the length direction of the leg support plate. When in use, the calf is placed in the strip-shaped groove, which can make the legs better. positioned on the leg booster airbags.
本实用新型结构简单,使用方便,用于在婴幼儿截石位手术中对婴幼儿的肢体进行固定,能够使接受手术的婴幼儿在手术过程中一直保持所需的体位,确保手术的正常进行。The utility model has a simple structure and is convenient to use, and is used for fixing the limbs of infants during lithotomy operations on infants, and can keep the infants receiving the operation in the required position during the operation, ensuring the normal operation of the operation. .
附图说明 Description of drawings
图1是本实用新型优选实施例的结构示意图。Fig. 1 is a schematic structural view of a preferred embodiment of the utility model.
具体实施方式 Detailed ways
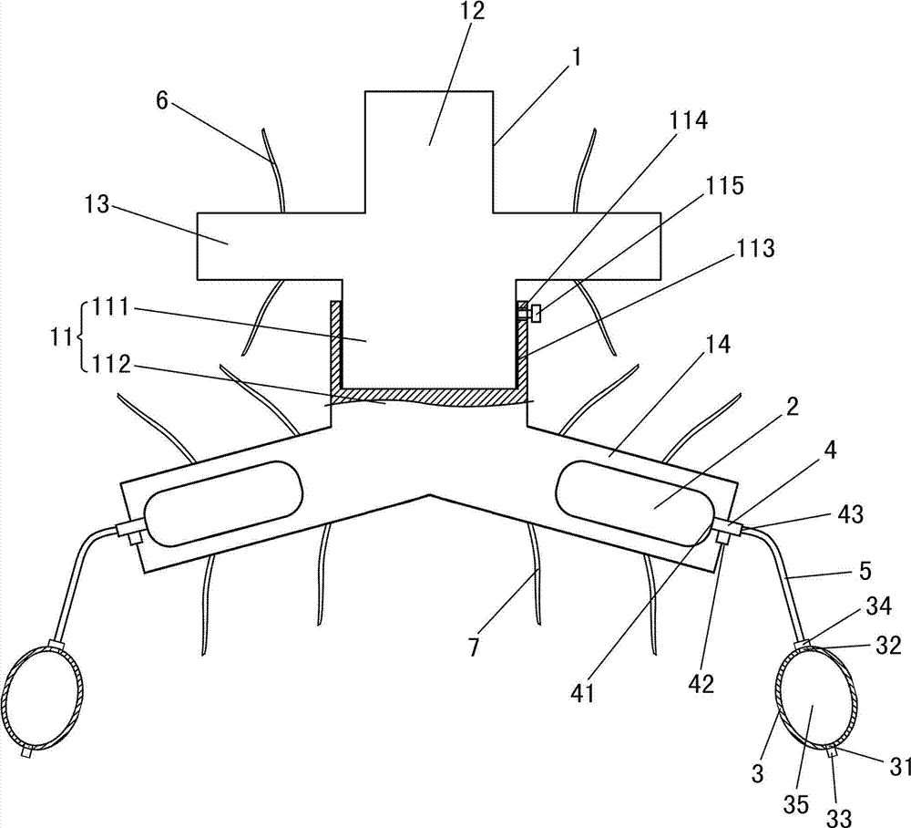
如图1所示,这种婴幼儿截石位手术体位架包括底板1和两个腿部垫高气囊2。As shown in FIG. 1 , the position stand for infant lithotomy position includes a base plate 1 and two leg raising airbags 2 .
底板1包括一个躯干支撑板11、一个头部支撑板12、两个手臂支撑板13和两个腿部支撑板14,头部支撑板12下端连接躯干支撑板11上端,两个手臂支撑板13的近端均与躯干支撑板11上部连接,并且两个手臂支撑板13分别处于躯干支撑板11的左右两侧,两个腿部支撑板14的近端均与躯干支撑板11下端连接,两个腿部支撑板14的长度方向之间的夹角为150度。底板1呈“大”字形,与截石位手术对肢体的位置要求相适应。本实施例中,躯干支撑板11包括躯干上支撑板111和躯干下支撑板112,躯干下支撑板112中设有上下走向的滑槽113,躯干上支撑板111处于滑槽113中并与滑槽113作滑动配合,滑槽113的槽壁上设有一个与滑槽113腔体连通的螺孔114,螺孔114中安装有紧固螺钉115,使用时,根据患儿躯干的长度,使躯干上支撑板111处在滑槽113中的适当位置后,旋紧紧固螺钉115,使紧固螺钉115顶住躯干上支撑板111,即可将躯干上支撑板111与躯干下支撑板112固定在一起,使躯干支撑板11保持所需的长度。Base plate 1 comprises a trunk support plate 11, a head support plate 12, two arm support plates 13 and two leg support plates 14, the lower end of the head support plate 12 is connected to the upper end of the trunk support plate 11, and the two arm support plates 13 The near-ends of each are connected with the trunk support plate 11 tops, and the two arm support plates 13 are respectively located on the left and right sides of the trunk support plate 11, and the proximal ends of the two leg support plates 14 are connected with the trunk support plate 11 lower ends. The angle between the longitudinal directions of the two leg support plates 14 is 150 degrees. The bottom plate 1 is in the shape of "big", which is suitable for the position requirements of the limbs in the lithotomy position operation. In the present embodiment, the trunk support plate 11 includes an upper trunk support plate 111 and a lower trunk support plate 112. The lower trunk support plate 112 is provided with a chute 113 going up and down, and the upper trunk support plate 111 is in the chute 113 and is in contact with the chute. The groove 113 is used for sliding fit, and the groove wall of the chute 113 is provided with a screw hole 114 communicating with the cavity of the chute 113, and a fastening screw 115 is installed in the screw hole 114. During use, according to the length of the trunk of the child, make the After the upper support plate 111 of the trunk is in the appropriate position in the chute 113, tighten the fastening screw 115 so that the fastening screw 115 withstands the upper support plate 111 of the trunk, and then the upper support plate 111 of the trunk can be connected with the lower support plate 112 of the trunk. Fastened together so that the trunk support board 11 maintains the desired length.
两个腿部垫高气囊2分别设于两个腿部支撑板114上。腿部垫高气囊2底部通过尼龙搭扣与腿部支撑板114连接,采用尼龙搭扣进行连接,可通过调整搭扣绒条与搭扣钩条的搭接部位,使腿部垫高气囊2在腿部支撑板114上的位置可根据需要进行调整。本实施例中,两个腿部垫高气囊2各配置有一中空充气球3;中空充气球3设有进气口31和出气口32,进气口31上设有进气单向阀33,出气口32上设有出气单向阀34;腿部垫高气囊2上安装有三位三通阀4,三位三通阀4具有进出气口41、排气口42和充气口43,进出气口41与腿部垫高气囊2的腔体连通,充气口43通过充气管5与中空充气球3的出气口32连通。出气单向阀34和进气单向阀33用于控制中空充气球3的腔体35的气体流向,出气单向阀34允许中空充气球腔体35内的气体经出气口32进入充气管5、但不允许气体经出气口32进入中空充气球腔体35内,进气单向阀33允许外界气体经进气口31进入中空充气球腔体35内、但不允许中空充气球腔体35内的气体经进气口31排出。中空充气球3采用弹性材料(如橡胶)制成。The two leg cushion airbags 2 are respectively arranged on the two leg supporting boards 114 . The bottom of the leg heightening airbag 2 is connected with the leg support plate 114 by velcro, and the velcro is used to connect, and the lapping position of the buckle velvet and the buckle hook can be adjusted to make the leg heightening airbag 2 The position on the leg support plate 114 can be adjusted as required. In this embodiment, each of the two leg-raising airbags 2 is equipped with a hollow inflatable ball 3; the hollow inflatable ball 3 is provided with an air inlet 31 and an air outlet 32, and the air inlet 31 is provided with an air inlet check valve 33, The air outlet 32 is provided with an air outlet one-way valve 34; the leg cushion airbag 2 is equipped with a three-position three-way valve 4, and the three-position three-way valve 4 has an air inlet and outlet 41, an exhaust port 42 and an inflation port 43, and an air inlet and outlet 41 It communicates with the cavity of the leg cushion airbag 2 , and the inflation port 43 communicates with the air outlet 32 of the hollow inflatable ball 3 through the inflation tube 5 . The air outlet check valve 34 and the intake check valve 33 are used to control the gas flow direction of the cavity 35 of the hollow inflatable ball 3, and the air outlet check valve 34 allows the gas in the hollow inflatable ball cavity 35 to enter the inflatable tube 5 through the air outlet 32 , but does not allow gas to enter the hollow inflatable ball cavity 35 through the air outlet 32, and the air intake check valve 33 allows outside air to enter the hollow inflatable ball cavity 35 through the air inlet 31, but does not allow the hollow inflatable ball cavity 35 The gas inside is discharged through the air inlet 31. The hollow inflatable ball 3 is made of elastic material (such as rubber).
手臂支撑板13上设有手臂固定带6,腿部支撑板14上设有腿部固定带7。The arm support plate 13 is provided with an arm fixing belt 6 , and the leg support plate 14 is provided with a leg fixing belt 7 .
本实施例中,手臂固定带6由成对配合的两条系带构成,两条系带各有一端与手臂支撑板13连接,两条系带通过打结连接。In this embodiment, the arm fixing belt 6 is composed of two tie straps matched in pairs, each of which has one end connected to the arm support plate 13, and the two tie straps are connected by knotting.
本实施例中,腿部固定带7包括两对系带,其中一对系带用于固定大腿,另一对系带用于固定小腿;每对系带由成对配合的两条系带构成,两条系带各有一端与腿部支撑板14连接,两条系带通过打结连接。In this embodiment, the leg fixing belt 7 includes two pairs of straps, one pair of straps is used to fix the thigh, and the other pair of straps is used to fix the calf; each pair of straps is composed of two straps matched in pairs , each of the two tie straps has one end connected to the leg support plate 14, and the two tie straps are connected by knotting.
对婴幼儿进行截石位手术时,婴幼儿仰卧在底板1上,其躯干置于躯干支撑板11上,头部置于头部支撑板12上(可在头部支撑板12上垫上头圈,用头圈托住头部),两手臂分别置于两手臂支撑板13上,两腿张开后分别置于两腿部垫高气囊2上(通常小腿置于腿部垫高气囊2顶部,大腿下侧与腿部垫高气囊2侧壁接触);然后通过手臂固定带6将手臂固定在相应的手臂支撑板13上,通过腿部固定带7将腿部固定在相应的腿部支撑板14及腿部垫高气囊2上,从而将婴幼儿的肢体固定在底板1上,其中腿部垫高气囊2将腿部上抬(小腿大致处于水平方向),两腿之间张开一定的角度(150度),使肛门、会阴等手术区域充分显露。When performing lithotomy position surgery on infants, infants lie supine on the base plate 1, their torso is placed on the trunk support plate 11, and the head is placed on the head support plate 12 (the head ring can be placed on the head support plate 12). , support the head with the headband), the two arms are respectively placed on the two arm support plates 13, and the two legs are respectively placed on the two leg heightening airbags 2 after being opened (usually the calf is placed on the top of the leg heightening airbags 2 , the lower side of the thigh is in contact with the side wall of the leg pad airbag 2); then the arm is fixed on the corresponding arm support plate 13 by the arm fixing belt 6, and the leg is fixed on the corresponding leg support by the leg fixing belt 7 Board 14 and leg pad airbags 2, thereby fixing the limbs of infants and young children on the base plate 1, wherein leg pad pad airbags 2 lift the legs (calf is roughly in the horizontal direction), and the legs are opened to a certain extent. The angle (150 degrees) makes the anus, perineum and other surgical areas fully exposed.
根据需要,可对腿部垫高气囊2充气或使腿部垫高气囊2排气,以调节腿部垫高气囊2的高度。According to needs, the leg-raising airbag 2 can be inflated or the leg-raising airbag 2 can be exhausted to adjust the height of the leg-raising airbag 2 .
对腿部垫高气囊2充气的操作方法是:先切换三位三通阀4的状态,使充气口43与进出气口41连通,排气口42封闭;然后用手反复挤压、松开中空充气球3,即可实现对腿部垫高气囊2充气(挤压中空充气球3时,中空充气球3的腔体35内的气体经出气口32、充气管5进入腿部垫高气囊2腔体内;松开手时,中空充气球3恢复原状,此时中空充气球3内部产生负压,外界空气经进气口31进入中空充气球3的腔体35内)。The operation method of inflating the leg cushion airbag 2 is: first switch the state of the three-position three-way valve 4, make the inflation port 43 communicate with the air inlet and outlet port 41, and close the exhaust port 42; then repeatedly squeeze and release the hollow valve by hand. The inflatable ball 3 can realize inflating the leg-raising airbag 2 (when the hollow inflatable ball 3 is squeezed, the gas in the cavity 35 of the hollow inflatable ball 3 enters the leg-raising airbag 2 through the air outlet 32 and the inflation tube 5 In the cavity; when the hand is released, the hollow inflatable ball 3 returns to its original shape, and now the hollow inflatable ball 3 has a negative pressure inside, and the outside air enters the cavity 35 of the hollow inflatable ball 3 through the air inlet 31).
使腿部垫高气囊2排气的操作方法是:切换三位三通阀4的状态,使进出气口41与排气口42连通,充气口43封闭,此时腿部垫高气囊2内的气体可经进出气口41、排气口42排到外界。The operation method of exhausting the leg-raising airbag 2 is: switch the state of the three-position three-way valve 4, make the air inlet and outlet 41 communicate with the exhaust port 42, and close the inflation port 43. At this time, the gas in the leg-raising airbag 2 The gas can be discharged to the outside through the gas inlet and outlet 41 and the exhaust port 42 .
需要保持腿部垫高气囊2的高度时,切换三位三通阀4的状态,使进出气口41封闭(排气口42和充气口43也封闭)。When it is necessary to maintain the height of the leg cushion airbag 2, switch the state of the three-position three-way valve 4 to close the air inlet and outlet 41 (the exhaust port 42 and the inflation port 43 are also closed).
其他实施方案中,手臂固定带可由成对配合的两条带子构成,两条带子各有一端与手臂支撑板连接,两条带子之间通过尼龙搭扣连接。腿部固定带包括至少一对带子,每对带子由成对配合的两条带子构成,两条带子各有一端与腿部支撑板连接,两条带子之间通过尼龙搭扣连接。In other embodiments, the arm fixing belt can be composed of two belts matched in pairs, each of the two belts has one end connected to the arm support plate, and the two belts are connected by Velcro. The leg fixing strap includes at least one pair of straps, each pair of straps is composed of two straps matched in pairs, each of the two straps has one end connected with the leg support plate, and the two straps are connected by Velcro.
Claims (3)
Priority Applications (1)
| Application Number | Priority Date | Filing Date | Title |
|---|---|---|---|
| CN 201220473152 CN202724196U (en) | 2012-09-15 | 2012-09-15 | Infant lithotomy position operative position frame |
Applications Claiming Priority (1)
| Application Number | Priority Date | Filing Date | Title |
|---|---|---|---|
| CN 201220473152 CN202724196U (en) | 2012-09-15 | 2012-09-15 | Infant lithotomy position operative position frame |
Publications (1)
| Publication Number | Publication Date |
|---|---|
| CN202724196U true CN202724196U (en) | 2013-02-13 |
Family
ID=47649956
Family Applications (1)
| Application Number | Title | Priority Date | Filing Date |
|---|---|---|---|
| CN 201220473152 Expired - Fee Related CN202724196U (en) | 2012-09-15 | 2012-09-15 | Infant lithotomy position operative position frame |
Country Status (1)
| Country | Link |
|---|---|
| CN (1) | CN202724196U (en) |
Cited By (3)
| Publication number | Priority date | Publication date | Assignee | Title |
|---|---|---|---|---|
| RU2534232C1 (en) * | 2013-05-20 | 2014-11-27 | Государственное бюджетное образовательное учреждение дополнительного профессионального образования "Казанская государственная медицинская академия" Министерства здравоохранения Российской Федерации | Transportation therapeutic splint for upper extremity |
| CN104434455A (en) * | 2014-12-12 | 2015-03-25 | 柳州市妇幼保健院 | Lithotomy position fixing sleeve for children |
| CN111685960A (en) * | 2020-07-10 | 2020-09-22 | 华中科技大学同济医学院附属协和医院 | Multifunctional sectional shoulder, neck and head position tool |
-
2012
- 2012-09-15 CN CN 201220473152 patent/CN202724196U/en not_active Expired - Fee Related
Cited By (3)
| Publication number | Priority date | Publication date | Assignee | Title |
|---|---|---|---|---|
| RU2534232C1 (en) * | 2013-05-20 | 2014-11-27 | Государственное бюджетное образовательное учреждение дополнительного профессионального образования "Казанская государственная медицинская академия" Министерства здравоохранения Российской Федерации | Transportation therapeutic splint for upper extremity |
| CN104434455A (en) * | 2014-12-12 | 2015-03-25 | 柳州市妇幼保健院 | Lithotomy position fixing sleeve for children |
| CN111685960A (en) * | 2020-07-10 | 2020-09-22 | 华中科技大学同济医学院附属协和医院 | Multifunctional sectional shoulder, neck and head position tool |
Similar Documents
| Publication | Publication Date | Title |
|---|---|---|
| CN202724196U (en) | Infant lithotomy position operative position frame | |
| CN204092480U (en) | One opens abdomen cervical cancer operation adjustable inflatable type posture pad | |
| CN208448017U (en) | A kind of inflatable Orthopaedic nursing device | |
| CN207562094U (en) | Critical sickbed patients rehabilitation back cushion | |
| US11376179B1 (en) | Multifunctional nursing mattress | |
| CN215425659U (en) | Multifunctional spine turnover pad | |
| CN218529129U (en) | U-shaped groove leg lifting pad | |
| CN210990227U (en) | Jugular vein compressor | |
| CN216496222U (en) | Auxiliary pad for preventing body position from sliding downwards | |
| CN223682742U (en) | Pressure sore prevention pad for assisting side lying of critically ill child | |
| CN111419591A (en) | Inflatable cushion device for human body transfer | |
| CN220833417U (en) | Upper limb auxiliary physical therapy device | |
| CN216603426U (en) | Air cushion device for operation body position | |
| CN214259896U (en) | Operation position pad with two sides capable of being electrically inflated and heightened by 45 degrees | |
| CN217472189U (en) | A knee-ankle-foot fixation and elevation device for preventing pressure ulcers | |
| CN207071121U (en) | A kind of medical air equalizing bed of Bedsore prevention and lower extremity swelling and distension | |
| CN215019923U (en) | Traction protection tool for leg nursing | |
| CN112168584B (en) | An emergency midwifery device convenient for clinical use in obstetrics | |
| CN223640995U (en) | A multifunctional lower limb elevation device | |
| CN223095723U (en) | Medical movable slide pad for patient transfer | |
| CN221205710U (en) | Inflatable wrist pad for radial artery puncture | |
| CN209574049U (en) | A kind of mattress | |
| CN215193372U (en) | A simple device for bladder lithotomy position inspection | |
| CN111202641A (en) | Transport fixing device for posterior operation | |
| CN219847163U (en) | An integrated inflatable body position flipping pad |
Legal Events
| Date | Code | Title | Description |
|---|---|---|---|
| C14 | Grant of patent or utility model | ||
| GR01 | Patent grant | ||
| C17 | Cessation of patent right | ||
| CF01 | Termination of patent right due to non-payment of annual fee |
Granted publication date: 20130213 Termination date: 20130915 |
