CN202722829U - Detachable space suitcase - Google Patents
Detachable space suitcase Download PDFInfo
- Publication number
- CN202722829U CN202722829U CN 201220244308 CN201220244308U CN202722829U CN 202722829 U CN202722829 U CN 202722829U CN 201220244308 CN201220244308 CN 201220244308 CN 201220244308 U CN201220244308 U CN 201220244308U CN 202722829 U CN202722829 U CN 202722829U
- Authority
- CN
- China
- Prior art keywords
- buckle
- space
- detachable
- storage bag
- box body
- Prior art date
- Legal status (The legal status is an assumption and is not a legal conclusion. Google has not performed a legal analysis and makes no representation as to the accuracy of the status listed.)
- Expired - Fee Related
Links
- 238000005192 partition Methods 0.000 claims description 20
- 239000000853 adhesive Substances 0.000 claims description 4
- 230000001070 adhesive effect Effects 0.000 claims description 4
- 230000000694 effects Effects 0.000 abstract description 4
- 230000004308 accommodation Effects 0.000 description 7
- 238000010586 diagram Methods 0.000 description 5
- 238000012423 maintenance Methods 0.000 description 5
- 239000007788 liquid Substances 0.000 description 4
- 230000009286 beneficial effect Effects 0.000 description 1
- 239000002537 cosmetic Substances 0.000 description 1
- 229940079593 drug Drugs 0.000 description 1
- 239000003814 drug Substances 0.000 description 1
- 238000000034 method Methods 0.000 description 1
- 230000004048 modification Effects 0.000 description 1
- 238000012986 modification Methods 0.000 description 1
- 238000000926 separation method Methods 0.000 description 1
Images
Landscapes
- Purses, Travelling Bags, Baskets, Or Suitcases (AREA)
Abstract
本实用新型公开一种拆卸式空间旅行箱,包含有一箱体(10)和一盖体(60),所述的箱体(10)具有一容置空间(11);其特征在于:还包含有一收纳袋(20),安置在该容置空间(11)内,以及一可组卸式连接机构(30),该收纳袋(20)与该箱体(10)系透过该可组卸式连接机构(30)连接;藉此,以达将盥洗用品或保养品与衣物分开收纳的效果,节省找寻物品的时间。
The utility model discloses a detachable space travel case, comprising a case body (10) and a cover body (60), wherein the case body (10) has a storage space (11); the utility model is characterized in that the utility model further comprises a storage bag (20) arranged in the storage space (11), and a detachable connection mechanism (30), wherein the storage bag (20) is connected to the case body (10) via the detachable connection mechanism (30); thereby, the effect of storing toiletries or skin care products separately from clothes is achieved, thereby saving time in searching for items.
Description
技术领域 technical field
本实用新型涉及一种旅行用品,具体为一种旅行箱。 The utility model relates to a travel article, in particular to a suitcase.
背景技术 Background technique
人们常于出远门旅游或出差时,携带旅行箱或旅行背包用以装带更换衣物、盥洗用品及保养品,但传统的旅行箱内部主要包括一箱体及一盖体,箱体内部具有一容置空间,盖体对应箱体盖合,当欲使用时,打开旅行箱将换洗衣物、盥洗用品及保养品放入箱体的容置空间内,其后再将盖体盖合于箱体上,以达到收纳的效果。然而习知旅行箱仍有以下缺点,由于干净及不干净的换洗衣物皆一起放入旅行箱的容置空间内,容易造成不干净的换洗衣物污染干净的换洗衣物;除此之外,由于换洗衣物、盥洗用品及保养品混合在一起,常需花费不少时间找寻所要使用的物品;另外,盥洗用品或保养品中,装有液体的瓶罐容易于旅程中乘坐交通工作时与瓶盖分离,使瓶罐内的液体流出污染衣物;而亟待加以改善者。 People often carry suitcases or travel backpacks to carry and change clothes, toilet articles and skin care products when traveling far away or on business trips. However, the interior of the traditional suitcase mainly includes a box body and a cover body. The storage space, the cover corresponds to the box body, when you want to use it, open the suitcase and put the change of clothes, toiletries and maintenance products into the storage space of the box body, and then put the cover body on the box body to achieve the storage effect. However, the conventional suitcase still has the following disadvantages. Because clean and unclean clothes are put into the accommodation space of the suitcase together, it is easy to cause dirty clothes to pollute clean clothes; Clothes, toiletry products and skin care products are mixed together, and it often takes a lot of time to find the items to be used; in addition, among the toiletry products or skin care products, the bottles and jars containing liquid are easy to separate from the bottle caps during travel and work , so that the liquid in the bottle can flow out and pollute the clothes; and those who need to be improved urgently.
实用新型内容 Utility model content
为了解决上述箱内的物品不能分开收纳的问题,本实用新型提供一种拆卸式空间旅行箱,其系利用可组卸式连接机构将收纳袋与箱体连接,达到将盥洗用品或保养品与衣物分开收纳的效果,以节省找寻物品的时间。本实用新型的技术方案是:包括一箱体、一收纳袋及一可组卸式连接机构;该箱体具有一容置空间;该收纳袋安置在该容置空间内,该收纳袋与该箱体系透过该可组卸式连接机构连接。 In order to solve the problem that the items in the above-mentioned box cannot be stored separately, the utility model provides a detachable space suitcase, which uses a detachable connection mechanism to connect the storage bag with the box body, so as to achieve the purpose of combining toilet articles or maintenance products with The effect of storing clothes separately to save time looking for items. The technical scheme of the utility model is: comprising a box body, a storage bag and a detachable connection mechanism; the box body has a storage space; the storage bag is placed in the storage space, the storage bag and the The box system is connected through the detachable connection mechanism.
作为一种改进,本实用新型藉由隔板将容置空间隔成至少二容置室,将衣物做分类放置,避免脏衣物污染干净的换洗衣物。 As an improvement, the utility model divides the accommodating space into at least two accommodating chambers by means of partitions, and the clothes are sorted and placed to prevent dirty clothes from polluting clean clothes.
作为另一种改进,本实用新型藉由安置在收纳袋上的第一公扣与第二母扣可互相扣固,可将收纳袋折收形成收纳包,以随身携带,节省购买收纳包或化妆包的费用。 As another improvement, the utility model can fasten each other by the first male buckle and the second female buckle arranged on the storage bag, and the storage bag can be folded to form a storage bag, which can be carried with you, saving money on purchasing storage bags or The cost of the cosmetic bag.
还作为一种改进,本实用新型所述的隔板有直条型和“L”型隔板两种型式,箱体空间由其二者的组合被分割成横向“品”字型、竖向“品”字型和“十”字型的任意一种。 Also as an improvement, the partitions described in this utility model have two types: straight strip type and "L" type partition boards, and the box space is divided into horizontal "pin" type and vertical type by the combination of the two. Any one of "pin" font and "ten" font.
本实用新型采用以上技术方案的有益效果是:由于采用自由组卸式的结构,使得使用者可以根据需要装卸相应的隔板和收纳袋,以达将盥洗用品或保养品与衣物分开收纳的效果,节省找寻物品的时间。 The beneficial effect of the utility model adopting the above technical scheme is: due to the free assembly and disassembly structure, the user can load and unload the corresponding partitions and storage bags according to the needs, so as to achieve the effect of storing the toilet products or maintenance products separately from the clothes , save time looking for items.
附图说明 Description of drawings
图1是本实用新型第一实施例之立体分解图(一)。 Fig. 1 is a three-dimensional exploded view (1) of the first embodiment of the utility model.
图2是本实用新型第一实施例之立体分解图(二)。 Fig. 2 is a three-dimensional exploded view (2) of the first embodiment of the utility model.
图3是本实用新型第一实施例之立体组合图。 Fig. 3 is a three-dimensional assembled view of the first embodiment of the utility model.
图4是本实用新型第一实施例之收纳袋立体图。 Fig. 4 is a perspective view of the storage bag of the first embodiment of the present invention.
图5是本实用新型第一实施例之收纳袋应用状态图。 Fig. 5 is an application status diagram of the storage bag of the first embodiment of the present utility model.
图6是本实用新型第一实施例之箱体空间分割应用状态图。 Fig. 6 is an application state diagram of the cabinet space division of the first embodiment of the present invention.
图7是本实用新型第二实施例之立体分解图。 Fig. 7 is a three-dimensional exploded view of the second embodiment of the present invention.
图8是本实用新型第二实施例之立体组合图。 Fig. 8 is a three-dimensional assembled view of the second embodiment of the utility model.
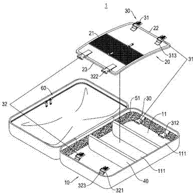
图中,1旅行箱,10箱体,11容置空间,111容置室,20、20b收纳袋,21收纳空间,22第一边,23第二边,24定位孔,30可组卸式连接机构,31第一扣带组,311第一公扣,312第一母扣,313第一带体,32第二扣带组,321第二公扣,322第二母扣,323第二带体,40、40a、40b隔板,50黏扣结构,51黏扣毛, 52黏扣勾,60盖体,70枢钮。 In the figure, 1 suitcase, 10 box body, 11 storage space, 111 storage room, 20, 20b storage bag, 21 storage space, 22 first side, 23 second side, 24 positioning hole, 30 detachable Connection mechanism, 31 first buckle group, 311 first male buckle, 312 first female buckle, 313 first belt body, 32 second buckle belt group, 321 second male buckle, 322 second female buckle, 323 second Belt body, 40, 40a, 40b partition, 50 Velcro structure, 51 Velcro hair, 52 Velcro hook, 60 Cover body, 70 Hinge.
具体实施方式 Detailed ways
有关本实用新型之详细说明及技术内容,配合图式说明如下。 The detailed description and technical content of the utility model are as follows in conjunction with the drawings.
请参照图1所示,系为本实用新型第一实施例之立体分解图(一),旅行箱1主要包括有一箱体10、一收纳袋20及一可组卸式连接机构30。箱体10具有一容置空间11;收纳袋20安置在容置空间11内,收纳袋20具有复数收纳空间21,收纳袋20的一侧边为一第一边22,收纳袋20于第一边21的对侧边为一第二边23。
Please refer to FIG. 1 , which is a three-dimensional exploded view (1) of the first embodiment of the present utility model. The
可组卸式连接机构30包含至少一第一扣带组31及至少一第二扣带组32;收纳袋20与箱体10系可透过可组卸式连接机构30连接;第一扣带组31包含有一第一公扣311、一第一母扣312及第一带体313,第一母扣312与第一公扣311相互扣固,第一公扣311安置在收纳袋20的第一边22,第一母扣312安置在箱体10内部并且对应第一边22配设,使收纳袋20的第一边22与箱体10内部对应第一边22之内壁面透过第一扣带组31连接扣固在一起;第一带体313固定在第一边22并提供第一公扣311调整移动。第二扣带组32包含有一第二公扣321、一第二母扣322及第二带体323,第二公扣321与第二母扣322相互扣固,第二母扣322安置在收纳袋20的第二边23,第二公扣321安置在箱体10内部并且对应第二边23配设,使收纳袋20的第二边23与箱体10内部对应第二边23之内壁面透过第二扣带组32连接扣固在一起;第二带体323固定在箱体10内部并对应第二边23,第二带体323提供第二公扣321调整移动。
The detachable connection mechanism 30 includes at least one first buckle set 31 and at least one second buckle set 32; the
请参照图2所示,系为本实用新型第一实施例之立体分解图(二),旅行箱1更包括至少一隔板40、一黏扣结构50及一盖体60;盖体60一侧连接箱体10的一侧,且盖体60对应箱体10盖合;隔板40安置于箱体10的容置空间11内,将容置空间11分隔成至少二容置室111,隔板40透过黏扣结构50与箱体10的内壁面黏固;黏扣结构50包含有一黏扣毛51及至少一对黏扣勾52,黏扣毛51铺设在箱体10的内壁面,各黏扣勾52分别连接隔板40的两侧边,各黏扣勾52分别与黏扣毛51相互黏扣,使隔板40稳固的安置于箱体10的容置空间11内。
Please refer to shown in Figure 2, which is a three-dimensional exploded view (2) of the first embodiment of the utility model, the
请参照图3所示,系为本实用新型第一实施例之立体组合图,组合时,首先将至少一隔板40安置于箱体10内,利用黏扣结构50(如图二所示)将隔板40稳固的黏固于箱体10的容置空间11内,藉此可随着使用者的需求与用途将容置空间11分割成所需数量之容置室111,当使用者无分割容置空间11的需求或用途时,亦可将隔板40拆除;藉此,可扩大旅行箱1的用途。
Please refer to Figure 3, which is a three-dimensional assembly diagram of the first embodiment of the present utility model. When assembling, at least one partition 40 is placed in the
另外,收纳袋20可藉由可组卸式连接机构30与箱体10相互扣固连接,使收纳袋20不仅可当旅行箱1之盖板使用,亦可将旅行时所携带的配件、盥洗用品或保养品放置于收纳袋20的各收纳空间21内,例如,牙刷、项链、保养品、螺丝起子或旅行用药品...等,以避免与箱体10的容置空间11内的衣物混合在一起,避免发生当欲使用配件、盥洗用品或保养品时不易寻找的状况;除此之外,当使用者不需使用收纳袋20时,亦可将收纳袋20自箱体10内拆除,以增加使用者于使用旅行箱的便利性;另外还可避免旅途中因交通工具的颠颇,令装有液体的盥洗用品或保养的的瓶罐与瓶盖分离,使瓶罐内的液体流出,污染干净的换洗衣物。
In addition, the
请参照图4及图5所示,系分别为本实用新型第一实施例之收纳袋立体图及收纳袋应用状态图,连接在收纳袋20上的第一公扣311及第二母扣322可互相扣固,使收纳袋20可折收形成收纳包,以收纳随身物品,例如,手机或钱包...等,令收纳袋20的用途不仅可当盖板使用,亦可当收纳包使用,增加使用者于旅途中的使用方便性及节省需要额外购买收纳包的费用。
Please refer to Fig. 4 and Fig. 5, which are respectively the perspective view of the storage bag and the application state diagram of the storage bag according to the first embodiment of the present utility model, the first
请参照图6所示,系分别为本实用新型第一实施例之箱体空间分割应用状态图,所述的隔板40有直条型40a和“L”型隔板40b两种型式,箱体空间由其二者的组合被分割成横向“品”字型、竖向“品”字型和“十”字型的任意一种。
Please refer to Fig. 6, which are diagrams of the application state of the cabinet space division of the first embodiment of the present invention. The partition 40 has two types: a
请参照图7及图8所示,系分别为本实用新型第二实施例之立体分解图及立体组合图,与前述实施例主要区别在于,旅行箱1更包括至少一枢钮70,且将收纳袋20换成收纳袋20b;枢钮70设置于箱体10连接盖体60之交界处;第一扣带组31之第一母扣312改安置于盖体60内部,并对应收纳袋20b的第一边22配设;收纳袋20b中间部分开设有至少一定位孔24;枢钮70对应枢接定位孔24,且第一母扣312与第一公扣311相互扣固,第二公扣321与第二母扣322相互扣固,使收纳袋20b跨置固定于箱体10及盖体60内。
Please refer to Fig. 7 and Fig. 8, which are respectively a three-dimensional exploded view and a three-dimensional assembled view of the second embodiment of the present invention. The main difference from the previous embodiment is that the
上述的具体实施方式只是示例性的,是为了更好的使本领域技术人员能够理解本专利,不能理解为是对本专利包括范围的限制;只要是根据本专利公开的技术方案所做出的技术内容实质相同或等同的任何的变更或修饰,均落入本专利包括的范围。 The above-mentioned specific embodiments are only exemplary, and are intended to better enable those skilled in the art to understand this patent, and cannot be interpreted as limiting the scope of this patent; as long as it is a technology made according to the technical solution disclosed by this patent Any change or modification with substantially the same or equivalent content falls within the scope of this patent.
Claims (12)
Priority Applications (1)
| Application Number | Priority Date | Filing Date | Title |
|---|---|---|---|
| CN 201220244308 CN202722829U (en) | 2012-05-29 | 2012-05-29 | Detachable space suitcase |
Applications Claiming Priority (1)
| Application Number | Priority Date | Filing Date | Title |
|---|---|---|---|
| CN 201220244308 CN202722829U (en) | 2012-05-29 | 2012-05-29 | Detachable space suitcase |
Publications (1)
| Publication Number | Publication Date |
|---|---|
| CN202722829U true CN202722829U (en) | 2013-02-13 |
Family
ID=47648595
Family Applications (1)
| Application Number | Title | Priority Date | Filing Date |
|---|---|---|---|
| CN 201220244308 Expired - Fee Related CN202722829U (en) | 2012-05-29 | 2012-05-29 | Detachable space suitcase |
Country Status (1)
| Country | Link |
|---|---|
| CN (1) | CN202722829U (en) |
Cited By (2)
| Publication number | Priority date | Publication date | Assignee | Title |
|---|---|---|---|---|
| CN104000368A (en) * | 2013-02-26 | 2014-08-27 | 伊稻(上海)商业有限公司 | Travel case/bag provided with detachable modular receiving devices |
| CN105054536A (en) * | 2015-07-20 | 2015-11-18 | 雍江 | Novel multi-purpose luggage box with random partitioning function |
-
2012
- 2012-05-29 CN CN 201220244308 patent/CN202722829U/en not_active Expired - Fee Related
Cited By (4)
| Publication number | Priority date | Publication date | Assignee | Title |
|---|---|---|---|---|
| CN104000368A (en) * | 2013-02-26 | 2014-08-27 | 伊稻(上海)商业有限公司 | Travel case/bag provided with detachable modular receiving devices |
| WO2014131214A1 (en) * | 2013-02-26 | 2014-09-04 | 伊稻(上海)商业有限公司 | Travel suitcase/bag having removable modularized storage device |
| CN105054536A (en) * | 2015-07-20 | 2015-11-18 | 雍江 | Novel multi-purpose luggage box with random partitioning function |
| CN105054536B (en) * | 2015-07-20 | 2017-08-25 | 张云飞 | A kind of random subregion Multifunctional travel suitcase |
Similar Documents
| Publication | Publication Date | Title |
|---|---|---|
| US9215918B2 (en) | Luggage bag with removable organizer | |
| TWM494529U (en) | Travel suitcase/bag with detachable modular storage device | |
| CN202722829U (en) | Detachable space suitcase | |
| KR101436890B1 (en) | Be split bag compartment detachable divider plate | |
| CN102657417A (en) | Combined bag | |
| KR200467363Y1 (en) | Detachable Bag | |
| CN202603887U (en) | Foldable portable type clothes bag | |
| CN204260017U (en) | Handbag | |
| CN100531616C (en) | Multifunctional combined boxes and bags | |
| KR200467770Y1 (en) | Portable Traveling Bag | |
| CN203016076U (en) | Split washing bag | |
| CN203087873U (en) | Multifunctional folding hidden-wheel travelling case/bag | |
| CN206275297U (en) | It is a kind of can integrated combination knapsack luggage case | |
| KR20190041045A (en) | Portable modular bag | |
| CN202618618U (en) | Two-in-one multifunctional shopping bag | |
| CN206866839U (en) | Removable bag divider | |
| CN204763878U (en) | Traveling suitcase | |
| CN207626766U (en) | A kind of novel box type knapsack | |
| CN210018190U (en) | Novel cosmetic bag | |
| CN216854059U (en) | Case capable of containing drawing board | |
| CN205884912U (en) | Multifunctional luggage case | |
| CN202800440U (en) | Multi-functional computer bag | |
| CN214854993U (en) | Multifunctional three-purpose deformable bag | |
| CN210329739U (en) | Novel shoulder detachable knapsack | |
| CN209732919U (en) | backpack |
Legal Events
| Date | Code | Title | Description |
|---|---|---|---|
| C14 | Grant of patent or utility model | ||
| GR01 | Patent grant | ||
| CF01 | Termination of patent right due to non-payment of annual fee |
Granted publication date: 20130213 Termination date: 20170529 |
|
| CF01 | Termination of patent right due to non-payment of annual fee |
