CN202706211U - Assembly type nodal point of H-shaped steel beam with adjustable height in weak-axis direction and H-shaped steel column - Google Patents

Assembly type nodal point of H-shaped steel beam with adjustable height in weak-axis direction and H-shaped steel column Download PDF

Info

Publication number
CN202706211U
CN202706211U CN201220311453.2U CN201220311453U CN202706211U CN 202706211 U CN202706211 U CN 202706211U CN 201220311453 U CN201220311453 U CN 201220311453U CN 202706211 U CN202706211 U CN 202706211U
Authority
CN
China
Prior art keywords
column
plate
shaped steel
connecting plate
upper flange
Prior art date
Legal status (The legal status is an assumption and is not a legal conclusion. Google has not performed a legal analysis and makes no representation as to the accuracy of the status listed.)
Expired - Lifetime
Application number
CN201220311453.2U
Other languages
Chinese (zh)
Inventor
金晓飞
曹正罡
杜鹏
杨晓杰
孙建运
Current Assignee (The listed assignees may be inaccurate. Google has not performed a legal analysis and makes no representation or warranty as to the accuracy of the list.)
China State Construction Engineering Corp Ltd CSCEC
Original Assignee
China State Construction Engineering Corp Ltd CSCEC
Priority date (The priority date is an assumption and is not a legal conclusion. Google has not performed a legal analysis and makes no representation as to the accuracy of the date listed.)
Filing date
Publication date
Application filed by China State Construction Engineering Corp Ltd CSCEC filed Critical China State Construction Engineering Corp Ltd CSCEC
Priority to CN201220311453.2U priority Critical patent/CN202706211U/en
Application granted granted Critical
Publication of CN202706211U publication Critical patent/CN202706211U/en
Anticipated expiration legal-status Critical
Expired - Lifetime legal-status Critical Current

Links

Images

Landscapes

  • Joining Of Building Structures In Genera (AREA)

Abstract

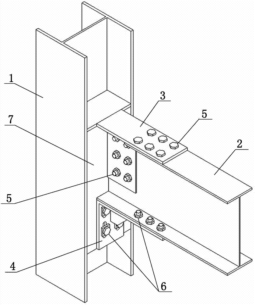
一种H型钢梁与H型钢柱弱轴可变梁高装配式节点,该节点包括H型钢柱、H型钢梁、柱封件、T形连接件、L形连接件和螺栓。柱封件由柱封板、梁上翼缘加劲肋和柱封板加劲肋构成;T形连接件由水平设置的上翼缘板连接板,以及垂直于上翼缘板连接板底面的腹板连接板构成;L形连接件由水平设置的下翼缘板连接板,以及向下与下翼缘板连接板垂直的柱连接板构成。该节点所需所有配件均在工厂预制,可适应H型钢梁截面在一定范围内变化时的等强连接,施工现场节点完全采用高强螺栓实现装配式连接,节点刚度大,连接速度快,能够满足钢结构装配式施工的要求。

Figure 201220311453

An H-shaped steel beam and H-shaped steel column weak axis variable beam height assembled joint, the joint includes H-shaped steel column, H-shaped steel beam, column seal, T-shaped connector, L-shaped connector and bolts. The column seal is composed of the column seal plate, the beam upper flange stiffener and the column seal plate stiffener; the T-shaped connector is composed of the upper flange plate connecting plate arranged horizontally and the web connecting plate perpendicular to the bottom surface of the upper flange plate connecting plate Composition; the L-shaped connecting piece is composed of a horizontally arranged lower flange plate connecting plate, and a column connecting plate perpendicular to the lower flange plate connecting plate. All the accessories required for this node are prefabricated in the factory, which can adapt to the equal-strength connection when the section of the H-shaped steel beam changes within a certain range. Meet the requirements of prefabricated construction of steel structure.

Figure 201220311453

Description

The weak variable deck-molding assembling type node of axle of H section steel beam and H steel column
Technical field
The utility model relates to the construction steel structure technical field of construction, particularly a kind of steel structure girder column jointing gusset.
Background technology
In many, high-rise steel structure, H section steel beam and H steel column are used as main supporting member, and the node that connects H section steel beam and H steel column plays the effect of transfer beams, post moment of flexure, shearing, have material impact for the holistic resistant behavior of structure.The full weldering connection of H section steel beam, post and bolt weldering connected node structure coupling stiffness are large, and stress performance is good, concentrate but produce easily stress owing to the existence of weld seam, and the site operation difficulty is large, and cost is also high, can not satisfy the requirement of Construction of Steel Structure work efficiency.Existing bolted mode can not produce stress and concentrate, and has the advantages such as site operation convenience, can satisfy the requirement of fabricated construction work efficiency, but the rigidity of general node is lower.Existing H section steel beam realizes that with the H steel column is weak it is deteriorated that this joint structure mode can make the stress performance of column web produce, and is unfavorable for joints axial the connection generally by being welded to connect plate at column web.In addition, each beam in the existing structural steelwork, post node all need to design separately according to the size of node institute coupling beam, same design of node scheme is lower to beam section size variation compliance within the specific limits, can not realize the standardization of design of node and production.
The utility model content
The utility model provides a kind of H section steel beam and the weak variable deck-molding assembling type node of axle of H steel column, solve steel structure girder, column jointing gusset site operation difficulty is large, cost is high, node rigidity is low, and node changes the not strong technical problem of compliance within the specific limits to the beam section size, design and the production standard degree of raising steel structure girder, post node.
The technical scheme that its technical problem that solves the utility model adopts is:
The weak variable deck-molding assembling type node of axle of this H section steel beam and H steel column comprises H steel column and H section steel beam, and this node also comprises post sealing, T-connecting piece, L shaped connector and bolt;
The top flange plate of described H section steel beam, bottom wing listrium and web all have bolt hole at Nodes;
Described post sealing is made of post shrouding, beam top flange stiffening rib and post shrouding stiffening rib, the post shrouding vertically arranges, its underpart has prepared screw-bolt hole, beam top flange stiffening rib is vertical with post shrouding top margin connect into L shaped, post shrouding stiffening rib is vertically connected at the angle of post shrouding and beam top flange stiffening rib, the welding of the front side edge of beam top flange stiffening rib and the web of H steel column, the limit, the left and right sides of post shrouding and beam top flange stiffening rib respectively with the two post frange plates welding of H steel column;
Described T-connecting piece is by horizontally disposed top flange plate junction plate, and consist of perpendicular to the web junction plate of top flange plate junction plate bottom surface, the beam top flange stiffening rib welding of the front side edge of top flange plate junction plate and post sealing, the front side edge of web junction plate and post seal plate welding, the corresponding bolt hole that has of top flange plate of top flange plate junction plate and H section steel beam, the top flange plate junction plate is connected by bolt with top flange plate, the corresponding bolt hole that has of web of web junction plate and H section steel beam, the web junction plate is connected by bolt with web;
Described L shaped connector is by horizontally disposed bottom wing listrium junction plate, and the downward post junction plate vertical with bottom wing listrium junction plate consists of, the corresponding bolt hole that has of bottom wing listrium of bottom wing listrium junction plate and H section steel beam, bottom wing listrium junction plate is connected by bolt with the bottom wing listrium, the prepared screw-bolt hole corresponding position of post junction plate and post shrouding vertically has slotted hole, and the post junction plate is connected by bolt with the post shrouding.
Described top flange plate is at the Nodes Partial Resection, and the length of excision section equals the width of T-connecting piece median ventral plate junction plate.
Described bottom wing listrium junction plate and post junction plate angle are connected with stiffening rib.
The quantity of described prepared screw-bolt hole is four, rectangular distribution.
Number of bolt hole on described top flange plate, bottom wing listrium and the web is six.
Described T-connecting piece is connected used bolt with top flange plate and web be frictional high-strength bolts.
Described L shaped connector is connected used bolt with bottom wing listrium and post shrouding be high strength bolt.
The beneficial effects of the utility model are as follows:
1, required all accessories of this node all are prefabricated in the factory, and the job site node adopts high-strength bolt to realize that assembling connects fully, and node rigidity is large, and connection speed is fast, can satisfy the requirement of steel work fabricated construction.
2, node connects plate after factory is welded to H steel column relevant position, and the scene of can arriving directly is connected the H section steel beam with bolt with the H steel column, do not need Site Welding, has reduced difficulty of construction and cost.
3, make things convenient for the weak axle of H section steel beam and H steel column to be connected, solved traditional connection structure owing to be welded to connect plate and column web produced the problem of weakening at column web.
4, the post sealing can be easily provides required plane for axle a little less than girder steel and the steel column is connected, and the shearing rigidity of reinforcing prop web, is conducive to improve the rigidity of node.
Can realize by beam top flange junction plate the construction location of girder steel when 5, T-connecting piece is constructed, reduce difficulty of construction.
6, L shaped connector makes same node can adapt to the requirement of different beam section sizes to connecting owing to use the Long Circle bolt hole to be connected with the post shrouding, has reduced the requirement for member processing and construction precision.
7, the connection of web can be convenient at the Nodes Partial Resection in the beam top flange.
8, compare with existing full bolt joint, this node has preferably rotational stiffness, can transmit reliably shearing, moment of flexure between H section steel beam, the post.
The utility model simple structure, easy construction and standardization level are higher, are the weak variable deck-molding connected nodes of axle of a kind of novel H section steel beam and H steel column.
Description of drawings
Below in conjunction with drawings and Examples the utility model is further specified.
Fig. 1 is the structural representation of post sealing.
Fig. 2 is the structural representation of Nodes H section steel beam.
Fig. 3 is the structural representation of T-connecting piece.
Fig. 4 is the structural representation of L shaped connector.
Fig. 5 is the schematic diagram that T-connecting piece is connected with post sealing factory.
Fig. 6 is the schematic diagram that the post sealing is connected with H steel column factory.
Fig. 7 is the job site connection layout of H section steel beam top flange plate and web.
Fig. 8 is the job site connection layout of H shaped-steel-beam upper wing-edge plate.
Reference numeral: 1-H steel column, 1.1-post frange plate, 1.2-web, the 2-H section steel beam, 2.1-top flange plate, 2.2-bottom wing listrium, 2.3-web, 3-T shape connector, 3.1-top flange plate junction plate, 3.2-web junction plate, 4-L shape connector, 4.1-bottom wing listrium junction plate, 4.2-post junction plate, 4.3-slotted hole, 4.4-stiffening rib, the 5-frictional high-strength bolts, the 6-high strength bolt, 7-post sealing, 7.1-post shrouding, 7.2-beam top flange stiffening rib, 7.3-post shrouding stiffening rib, 7.4-prepared screw-bolt hole.
The specific embodiment
Embodiment is referring to shown in Fig. 1~8, and the weak variable deck-molding assembling type node of axle of this H section steel beam and H steel column comprises H steel column 1 and H section steel beam 2, and this node also comprises post sealing 7, T-connecting piece 3, L shaped connector 4 and bolt.
Referring to Fig. 1, shown in Figure 6, post sealing 7 is made of post shrouding 7.1, beam top flange stiffening rib 7.2 and post shrouding stiffening rib 7.3, and post shrouding 7.1 vertically arranges, and its underpart has prepared screw-bolt hole 7.4, and the quantity of prepared screw-bolt hole 7.4 is four, rectangular distribution.Beam top flange stiffening rib 7.2 is vertical with post shrouding 7.1 top margins connect into L shaped, post shrouding stiffening rib 7.3 is vertically connected at the angle of post shrouding 7.1 and beam top flange stiffening rib 7.2,1.2 welding of the front side edge of beam top flange stiffening rib 7.2 and the web of H steel column 1, the limit, the left and right sides of post shrouding 7.1 and beam top flange stiffening rib 7.2 respectively with two post frange plates, 1.1 welding of H steel column 1.
Referring to shown in Figure 2, the top flange plate 2.1 of H section steel beam 2, bottom wing listrium 2.2 and web 2.3 all have bolt hole at Nodes, and number of bolt hole is six.Top flange plate 2.1 is at the Nodes Partial Resection, and the length of excision section 2.4 equals the width of T-connecting piece 3 median ventral plate junction plates 3.2.
Referring to Fig. 3, Fig. 5, shown in Figure 7, T-connecting piece 3 is by horizontally disposed top flange plate junction plate 3.1, and consist of perpendicular to the web junction plate 3.2 of top flange plate junction plate 3.1 bottom surfaces, beam top flange stiffening rib 7.2 welding of the front side edge of top flange plate junction plate 3.1 and post sealing 7, the front side edge of web junction plate 3.2 and 7.1 welding of post shrouding, the top flange plate 2.1 corresponding bolts hole that have of top flange plate junction plate 3.1 and H section steel beam, top flange plate junction plate 3.1 is connected by frictional high-strength bolts 5 with top flange plate 2.1, the web 2.3 corresponding bolts hole that have of web junction plate 3.2 and H section steel beam, web junction plate 3.2 is connected by frictional high-strength bolts 5 with web 2.3.
Referring to Fig. 4, shown in Figure 8, L shaped connector 4 is by horizontally disposed bottom wing listrium junction plate 4.1, and downward post junction plate 4.2 formations vertical with bottom wing listrium junction plate 4.1, and bottom wing listrium junction plate 4.1 and post junction plate 4.2 angles are connected with stiffening rib 4.4.The bottom wing listrium 2.2 corresponding bolts hole that have of bottom wing listrium junction plate 4.1 and H section steel beam, bottom wing listrium junction plate 4.1 is connected by high strength bolt 6 with bottom wing listrium 2.2, post junction plate 4.2 vertically has slotted hole 4.3 with prepared screw-bolt hole 7.4 corresponding positions of post shrouding 7.1, and post junction plate 4.2 is connected by high strength bolt 6 with post shrouding 7.1.
The job practices of the weak variable deck-molding assembling type node of axle of this H section steel beam and H steel column, construction sequence is as follows:
Step 1, prefabrication H steel column 1, H section steel beam 2, post sealing 7, T-connecting piece 3 and L shaped connector 4, H section steel beam 2 prepared screw-bolt holes of Nodes; When factory process, directly T-connecting piece 3 is welded on the post sealing 7, again post sealing 7 is welded to the corresponding absolute altitude place of H steel column 1;
Step 2, during on-the-spot the installation, with bolt the top flange plate 2.1 of H section steel beam 2 is connected with web to be connected with the web junction plate with the top flange plate junction plate 3.1 of T-connecting piece 3 respectively first and is connected, regulate again the upper-lower position of L shaped connector 4 by slotted hole 4.3, be connected with bottom wing listrium junction plate 4.1 with the bottom wing listrium 2.2 of bolt with H section steel beam 2, and with bolt post junction plate 4.2 be connected with post shrouding 7.1.

Claims (7)

1.一种H型钢梁与H型钢柱弱轴可变梁高装配式节点,包括H型钢柱(1)和H型钢梁(2),其特征在于:该节点还包括柱封件(7)、T形连接件(3)、L形连接件(4)和螺栓; 1. An H-shaped steel beam and H-shaped steel column weak axis variable beam height assembled joint, including H-shaped steel column (1) and H-shaped steel beam (2), characterized in that: the joint also includes a column seal ( 7), T-shaped connector (3), L-shaped connector (4) and bolts; 所述H型钢梁(2)的上翼缘板(2.1)、下翼缘板(2.2)和腹板(2.3)在节点处均开有螺栓孔; The upper flange plate (2.1), the lower flange plate (2.2) and the web plate (2.3) of the H-shaped steel beam (2) all have bolt holes at the nodes; 所述柱封件(7)由柱封板(7.1)、梁上翼缘加劲肋(7.2)和柱封板加劲肋(7.3)构成,柱封板(7.1)竖向设置,其下部开有预留螺栓孔(7.4),梁上翼缘加劲肋(7.2)与柱封板(7.1)顶边垂直连接成L形,柱封板加劲肋(7.3)垂直连接于柱封板(7.1)和梁上翼缘加劲肋(7.2)的夹角处,梁上翼缘加劲肋(7.2)的前侧边与H型钢柱(1)的腹板(1.2)焊接,柱封板(7.1)和梁上翼缘加劲肋(7.2)的左右两侧边分别与H型钢柱(1)的两柱翼缘板(1.1)焊接; The column seal (7) is composed of a column seal (7.1), a beam upper flange stiffener (7.2) and a column seal stiffener (7.3). Bolt holes (7.4), beam upper flange stiffeners (7.2) are vertically connected to the top edge of column sealing plate (7.1) to form an L shape, column sealing plate stiffeners (7.3) are vertically connected to column sealing plate (7.1) and beam upper flange stiffeners (7.2), the front side of the beam upper flange stiffener (7.2) is welded to the web (1.2) of the H-shaped steel column (1), and the left and right sides of the column sealing plate (7.1) and the beam upper flange stiffener (7.2) The two sides are respectively welded to the two-column flange plates (1.1) of the H-shaped steel column (1); 所述T形连接件(3)由水平设置的上翼缘板连接板(3.1),以及垂直于上翼缘板连接板(3.1)底面的腹板连接板(3.2)构成,上翼缘板连接板(3.1)的前侧边与柱封件(7)的梁上翼缘加劲肋(7.2)焊接,腹板连接板(3.2)的前侧边与柱封板(7.1)焊接,上翼缘板连接板(3.1)与H型钢梁的上翼缘板(2.1)对应开有螺栓孔,上翼缘板连接板(3.1)与上翼缘板(2.1)由螺栓连接,腹板连接板(3.2)与H型钢梁的腹板(2.3)对应开有螺栓孔,腹板连接板(3.2)与腹板(2.3)由螺栓连接; The T-shaped connector (3) is composed of a horizontal upper flange connecting plate (3.1) and a web connecting plate (3.2) perpendicular to the bottom surface of the upper flange connecting plate (3.1). The front side of the connecting plate (3.1) is welded to the beam upper flange stiffener (7.2) of the column seal (7), the front side of the web connecting plate (3.2) is welded to the column sealing plate (7.1), and the upper flange plate The connecting plate (3.1) and the upper flange plate (2.1) of the H-shaped steel beam have corresponding bolt holes, the upper flange plate connecting plate (3.1) and the upper flange plate (2.1) are connected by bolts, and the web connecting plate ( 3.2) There are bolt holes corresponding to the web (2.3) of the H-shaped steel beam, and the web connecting plate (3.2) and the web (2.3) are connected by bolts; 所述L形连接件(4)由水平设置的下翼缘板连接板(4.1),以及向下与下翼缘板连接板(4.1)垂直的柱连接板(4.2)构成,下翼缘板连接板(4.1)与H型钢梁的下翼缘板(2.2)对应开有螺栓孔,下翼缘板连接板(4.1)与下翼缘板(2.2)由螺栓连接,柱连接板(4.2)与柱封板(7.1)的预留螺栓孔(7.4)对应处竖向开有长圆孔(4.3),柱连接板(4.2)与柱封板(7.1)由螺栓连接。 The L-shaped connector (4) is composed of a horizontal lower flange connecting plate (4.1), and a column connecting plate (4.2) perpendicular to the lower flange connecting plate (4.1). The connecting plate (4.1) and the lower flange plate (2.2) of the H-shaped steel beam have corresponding bolt holes, the lower flange plate connecting plate (4.1) and the lower flange plate (2.2) are connected by bolts, and the column connecting plate (4.2 ) and the reserved bolt holes (7.4) of the column sealing plate (7.1) are vertically opened with long round holes (4.3), and the column connecting plate (4.2) and the column sealing plate (7.1) are connected by bolts. 2.根据权利要求1所述的H型钢梁与H型钢柱弱轴可变梁高装配式节点,其特征在于:所述上翼缘板(2.1)在节点处部分切除,切除段(2.4)的长度等于T形连接件(3)中腹板连接板(3.2)的宽度。 2. The H-shaped steel beam and H-shaped steel column weak axis variable beam height assembled joint according to claim 1, characterized in that: the upper flange plate (2.1) is partially cut off at the joint, and the cut section (2.4 ) is equal to the width of the web connection plate (3.2) in the T-shaped connector (3). 3.根据权利要求1所述的H型钢梁与H型钢柱弱轴可变梁高装配式节点,其特征在于:所述下翼缘板连接板(4.1)和柱连接板(4.2)夹角处连接有加劲肋(4.4)。 3. The H-shaped steel beam and H-shaped steel column weak axis variable beam height assembled joint according to claim 1, characterized in that: the lower flange plate connecting plate (4.1) and the column connecting plate (4.2) are clamped The corners are connected with stiffeners (4.4). 4.根据权利要求1所述的H型钢梁与H型钢柱弱轴可变梁高装配式节点,其特征在于:所述预留螺栓孔(7.4)的数量为四个,呈矩形分布。 4. The H-shaped steel beam and H-shaped steel column weak axis variable beam height assembled joint according to claim 1, characterized in that: the number of the reserved bolt holes (7.4) is four, distributed in a rectangular shape. 5.根据权利要求1所述的H型钢梁与H型钢柱弱轴可变梁高装配式节点,其特征在于:所述上翼缘板(2.1)、下翼缘板(2.2)和腹板(2.3)上的螺栓孔数量均为六个。 5. The H-shaped steel beam and H-shaped steel column weak axis variable beam height assembled joint according to claim 1, characterized in that: the upper flange plate (2.1), the lower flange plate (2.2) and the web The number of bolt holes on the plate (2.3) is six. 6.根据权利要求1所述的H型钢梁与H型钢柱弱轴可变梁高装配式节点,其特征在于:所述T形连接件(3)与上翼缘板(2.1)及腹板(2.3)连接所用的螺栓为摩擦型高强螺栓(5)。 6. The H-shaped steel beam and H-shaped steel column weak axis variable beam height assembled joint according to claim 1, characterized in that: the T-shaped connector (3) and the upper flange plate (2.1) and the web The bolts used to connect the plates (2.3) are friction-type high-strength bolts (5). 7.根据权利要求1所述的H型钢梁与H型钢柱弱轴可变梁高装配式节点,其特征在于:所述L形连接件(4)与下翼缘板(2.2)及柱封板(7.1)连接所用的螺栓为承压型高强螺栓(6)。 7. The H-shaped steel beam and H-shaped steel column weak axis variable beam height assembled joint according to claim 1, characterized in that: the L-shaped connector (4) and the lower flange plate (2.2) and the column The bolts used for the connection of the sealing plate (7.1) are pressure-bearing high-strength bolts (6).
CN201220311453.2U 2012-06-29 2012-06-29 Assembly type nodal point of H-shaped steel beam with adjustable height in weak-axis direction and H-shaped steel column Expired - Lifetime CN202706211U (en)

Priority Applications (1)

Application Number Priority Date Filing Date Title
CN201220311453.2U CN202706211U (en) 2012-06-29 2012-06-29 Assembly type nodal point of H-shaped steel beam with adjustable height in weak-axis direction and H-shaped steel column

Applications Claiming Priority (1)

Application Number Priority Date Filing Date Title
CN201220311453.2U CN202706211U (en) 2012-06-29 2012-06-29 Assembly type nodal point of H-shaped steel beam with adjustable height in weak-axis direction and H-shaped steel column

Publications (1)

Publication Number Publication Date
CN202706211U true CN202706211U (en) 2013-01-30

Family

ID=47586529

Family Applications (1)

Application Number Title Priority Date Filing Date
CN201220311453.2U Expired - Lifetime CN202706211U (en) 2012-06-29 2012-06-29 Assembly type nodal point of H-shaped steel beam with adjustable height in weak-axis direction and H-shaped steel column

Country Status (1)

Country Link
CN (1) CN202706211U (en)

Cited By (6)

* Cited by examiner, † Cited by third party
Publication number Priority date Publication date Assignee Title
CN102733492A (en) * 2012-06-29 2012-10-17 中国建筑股份有限公司 H-shaped steel beam and H-shaped steel column minor axis variable beam height fabricated node and construction method thereof
CN103806536A (en) * 2014-02-26 2014-05-21 山东大学 Connecting structure of novel quickly-installed integrated house
CN105839789A (en) * 2016-05-12 2016-08-10 西安建筑科技大学 H-shaped column minor axis separation type double-T-shaped-piece connecting structure easy to assemble
CN108149790A (en) * 2018-01-08 2018-06-12 中国矿业大学 A kind of beam column assembling type node suitable for reinforced concrete structure
CN115075716A (en) * 2022-06-09 2022-09-20 中国建筑第四工程局有限公司 Large-scale flower window in industrial factory building
CN116770742A (en) * 2023-04-14 2023-09-19 北京天庆同创环保科技有限公司 Rail transit totally-enclosed sound barrier suspended ceiling and construction process

Cited By (8)

* Cited by examiner, † Cited by third party
Publication number Priority date Publication date Assignee Title
CN102733492A (en) * 2012-06-29 2012-10-17 中国建筑股份有限公司 H-shaped steel beam and H-shaped steel column minor axis variable beam height fabricated node and construction method thereof
CN102733492B (en) * 2012-06-29 2014-03-26 中国建筑股份有限公司 H-shaped steel beam and H-shaped steel column minor axis variable beam height fabricated node and construction method thereof
CN103806536A (en) * 2014-02-26 2014-05-21 山东大学 Connecting structure of novel quickly-installed integrated house
CN105839789A (en) * 2016-05-12 2016-08-10 西安建筑科技大学 H-shaped column minor axis separation type double-T-shaped-piece connecting structure easy to assemble
CN105839789B (en) * 2016-05-12 2018-04-20 西安建筑科技大学 A kind of weak axis separate type double-T part connection structure of I-shaped column being easily assembled
CN108149790A (en) * 2018-01-08 2018-06-12 中国矿业大学 A kind of beam column assembling type node suitable for reinforced concrete structure
CN115075716A (en) * 2022-06-09 2022-09-20 中国建筑第四工程局有限公司 Large-scale flower window in industrial factory building
CN116770742A (en) * 2023-04-14 2023-09-19 北京天庆同创环保科技有限公司 Rail transit totally-enclosed sound barrier suspended ceiling and construction process

Similar Documents

Publication Publication Date Title
CN102733492B (en) H-shaped steel beam and H-shaped steel column minor axis variable beam height fabricated node and construction method thereof
CN206279622U (en) A kind of connecting node of new H profile steel post and H profile steel beam
CN102733489B (en) H-shaped steel beam and H-shaped steel column strong-axis variable-beam height fabricated node and construction method thereof
CN202706211U (en) Assembly type nodal point of H-shaped steel beam with adjustable height in weak-axis direction and H-shaped steel column
CN104100007B (en) Ears board-like square tube post and H profile steel frame variable deck-molding assembly node and construction method
CN205617562U (en) Steel structure beam column joint assembled connection structure
CN103015537A (en) Beam-column joint connecting device of assembled steel structure system
CN206110361U (en) Be applied to compound cross -shaped plate formula connected node structure of modularization building
CN202767252U (en) Inner separating board type concrete filled square steel tube column and H type girder semi-rigid node
CN105569189B (en) A kind of modularization multi and tall steel building Special-Shaped Column beam column node connection device
CN207988140U (en) New Sleeve quadrate steel pipe column and H profile steel beam assembling type node
CN202202410U (en) A cross-shaped special-shaped node connecting a box-shaped column of a steel structure with a box-shaped beam and an I-beam
CN104264792B (en) A kind of bean column node of layered assembling type steel structure
CN211621962U (en) Node connection structure of multicavity L shape steel pipe concrete special-shaped column
CN202969589U (en) H-type steel beam and rectangular steel tube column variable-beam depth assembly type node
CN201794169U (en) Connection structure of steel structure factory building frame beam column
CN217460915U (en) An assembled special-shaped CFST column-steel beam connection node
CN203412112U (en) Easily repaired beam column node of band open strip-type energy dissipation element
CN207176915U (en) A kind of weak Axile connection structure using structures with semi-rigid joints bolt connection beam column
CN207295999U (en) Girder steel and steel core concrete column Hybrid connections node
CN205329866U (en) A beam column node structure that what was used for steel frame systems has an end plate stiffener
CN105839789B (en) A kind of weak axis separate type double-T part connection structure of I-shaped column being easily assembled
CN202202411U (en) T-shaped abnormal joint formed by rigid connection of steel structure variable-section box column and I beam
CN205637164U (en) Weak axle disconnect -type double T shape connection structure of I -shaped post who easily assembles
CN214329319U (en) A box-shaped steel column corner column joint with stiffeners

Legal Events

Date Code Title Description
C14 Grant of patent or utility model
GR01 Patent grant
AV01 Patent right actively abandoned

Granted publication date: 20130130

Effective date of abandoning: 20140326

AV01 Patent right actively abandoned

Granted publication date: 20130130

Effective date of abandoning: 20140326

AV01 Patent right actively abandoned
AV01 Patent right actively abandoned