CN202695996U - Terminal box cover - Google Patents
Terminal box cover Download PDFInfo
- Publication number
- CN202695996U CN202695996U CN201220284727.3U CN201220284727U CN202695996U CN 202695996 U CN202695996 U CN 202695996U CN 201220284727 U CN201220284727 U CN 201220284727U CN 202695996 U CN202695996 U CN 202695996U
- Authority
- CN
- China
- Prior art keywords
- box
- terminal
- box body
- terminal box
- box cover
- Prior art date
- Legal status (The legal status is an assumption and is not a legal conclusion. Google has not performed a legal analysis and makes no representation as to the accuracy of the status listed.)
- Expired - Lifetime
Links
Images
Classifications
-
- Y—GENERAL TAGGING OF NEW TECHNOLOGICAL DEVELOPMENTS; GENERAL TAGGING OF CROSS-SECTIONAL TECHNOLOGIES SPANNING OVER SEVERAL SECTIONS OF THE IPC; TECHNICAL SUBJECTS COVERED BY FORMER USPC CROSS-REFERENCE ART COLLECTIONS [XRACs] AND DIGESTS
- Y02—TECHNOLOGIES OR APPLICATIONS FOR MITIGATION OR ADAPTATION AGAINST CLIMATE CHANGE
- Y02E—REDUCTION OF GREENHOUSE GAS [GHG] EMISSIONS, RELATED TO ENERGY GENERATION, TRANSMISSION OR DISTRIBUTION
- Y02E10/00—Energy generation through renewable energy sources
- Y02E10/50—Photovoltaic [PV] energy
Landscapes
- Casings For Electric Apparatus (AREA)
Abstract
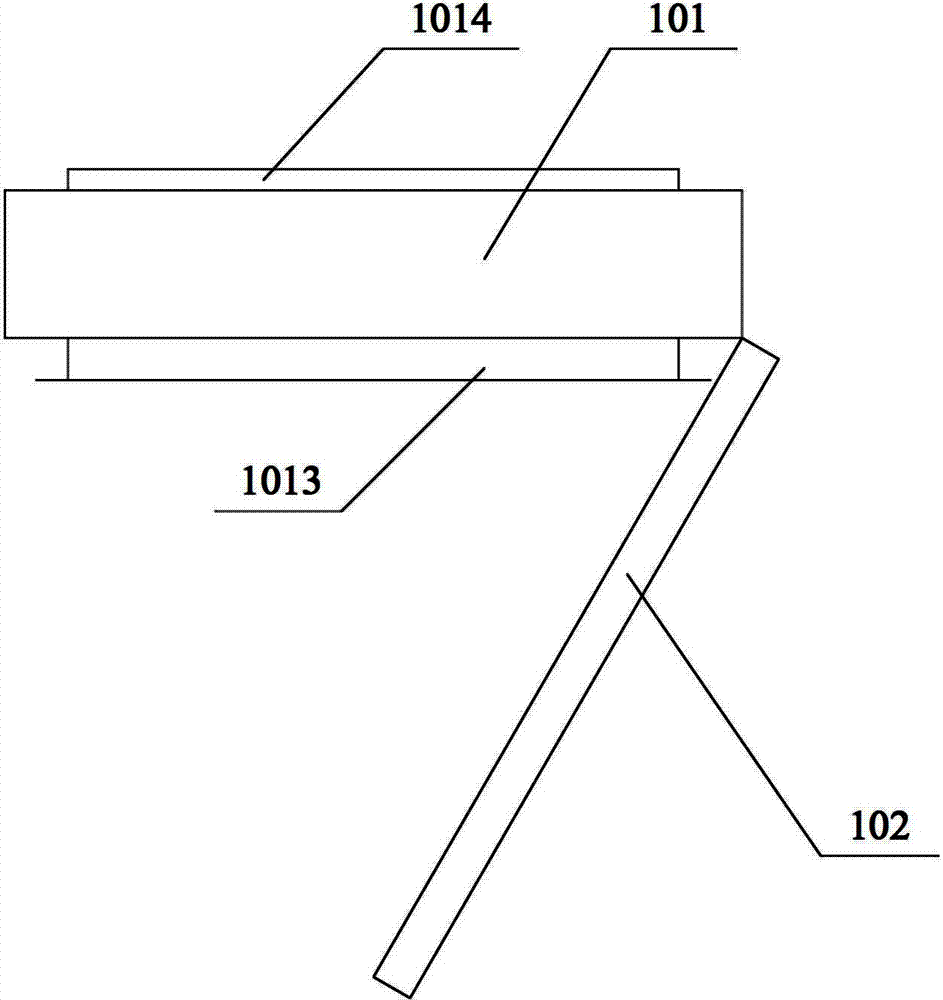
本实用新型提供的一种端子箱盖是由盒体和盒盖组成的盒形结构,所述盒体与所述端子箱固定连接,将该盒形箱盖固定在端子箱上。在盒体的底部设置有与端子箱的箱口相对应的孔,在所述孔的边缘设置有与所述端子箱的箱口的安装孔相配合的安装孔,端子箱盖通过安装孔与端子箱安装到一起。盒盖与盒体可旋转连接,在所述盒体的另一侧设置有固定所述盒盖的锁扣装置。对端子箱中的二次端子进行操作,需要打开端子箱盖时,打开锁扣,将盒盖沿旋转轴打开,露出盒体的底部,二次端子中盒体底部的孔中显露出,工作人员即可对二次端子进行操作;操作完成后,只要将盒盖沿旋转轴关闭,再将锁扣关闭即可。整个开启关闭端子箱盖的过程简单、易于操作。
A terminal box cover provided by the utility model is a box-shaped structure composed of a box body and a box cover. The box body is fixedly connected with the terminal box, and the box-shaped box cover is fixed on the terminal box. A hole corresponding to the mouth of the terminal box is provided at the bottom of the box body, and a mounting hole matched with the mounting hole of the mouth of the terminal box is provided on the edge of the hole, and the terminal box cover is connected to the terminal box through the mounting hole. The terminal boxes are installed together. The box cover is rotatably connected to the box body, and a locking device for fixing the box cover is provided on the other side of the box body. To operate the secondary terminal in the terminal box, when it is necessary to open the cover of the terminal box, open the lock, and open the cover along the rotation axis to expose the bottom of the box body, which is exposed in the hole at the bottom of the box body in the secondary terminal. Personnel can operate the secondary terminal; after the operation is completed, just close the box cover along the rotation axis, and then close the lock. The whole process of opening and closing the terminal box cover is simple and easy to operate.
Description
Claims (9)
Priority Applications (1)
| Application Number | Priority Date | Filing Date | Title |
|---|---|---|---|
| CN201220284727.3U CN202695996U (en) | 2012-06-14 | 2012-06-14 | Terminal box cover |
Applications Claiming Priority (1)
| Application Number | Priority Date | Filing Date | Title |
|---|---|---|---|
| CN201220284727.3U CN202695996U (en) | 2012-06-14 | 2012-06-14 | Terminal box cover |
Publications (1)
| Publication Number | Publication Date |
|---|---|
| CN202695996U true CN202695996U (en) | 2013-01-23 |
Family
ID=47551559
Family Applications (1)
| Application Number | Title | Priority Date | Filing Date |
|---|---|---|---|
| CN201220284727.3U Expired - Lifetime CN202695996U (en) | 2012-06-14 | 2012-06-14 | Terminal box cover |
Country Status (1)
| Country | Link |
|---|---|
| CN (1) | CN202695996U (en) |
Cited By (3)
| Publication number | Priority date | Publication date | Assignee | Title |
|---|---|---|---|---|
| CN112444701A (en) * | 2020-11-25 | 2021-03-05 | 云南电网有限责任公司电力科学研究院 | Secondary circuit detection device and circuit operation intrinsic safety method |
| CN112467653A (en) * | 2020-11-25 | 2021-03-09 | 云南电网有限责任公司电力科学研究院 | Terminal box |
| CN112505453A (en) * | 2020-11-25 | 2021-03-16 | 云南电网有限责任公司电力科学研究院 | Terminal box testing method and terminal box |
-
2012
- 2012-06-14 CN CN201220284727.3U patent/CN202695996U/en not_active Expired - Lifetime
Cited By (4)
| Publication number | Priority date | Publication date | Assignee | Title |
|---|---|---|---|---|
| CN112444701A (en) * | 2020-11-25 | 2021-03-05 | 云南电网有限责任公司电力科学研究院 | Secondary circuit detection device and circuit operation intrinsic safety method |
| CN112467653A (en) * | 2020-11-25 | 2021-03-09 | 云南电网有限责任公司电力科学研究院 | Terminal box |
| CN112505453A (en) * | 2020-11-25 | 2021-03-16 | 云南电网有限责任公司电力科学研究院 | Terminal box testing method and terminal box |
| CN112467653B (en) * | 2020-11-25 | 2022-04-12 | 云南电网有限责任公司电力科学研究院 | Terminal box |
Similar Documents
| Publication | Publication Date | Title |
|---|---|---|
| CN202695996U (en) | Terminal box cover | |
| CN218324596U (en) | A cabinet sealed revolving door device and an offshore wind power cabinet using the same | |
| CN217159030U (en) | Distribution box with high safety and convenience in maintenance | |
| CN205910235U (en) | Modified multiepitope meter case | |
| CN201075588Y (en) | Dustproof and explosion-proof electrical equipment box | |
| CN203086009U (en) | Dustproof waterproof lock structure for power distribution box | |
| CN104121938B (en) | The waterproof draw ring of metering cabinet drawer of convenient maintenance | |
| CN208061550U (en) | A kind of operating handle indicator with anti-misoperation function | |
| CN202217977U (en) | Novel junction box | |
| CN211605820U (en) | Novel ammeter case convenient to change user's switch | |
| CN207217226U (en) | Straight-through current transformer | |
| CN202662994U (en) | Instrument door of power distribution box and power distribution box | |
| CN206364397U (en) | A kind of power distribution cabinet instrument mounting structure | |
| CN103138179A (en) | Distribution box with waterproof lock | |
| CN203883340U (en) | Outdoor control box protection device | |
| CN216530174U (en) | Secondary safety measure tool for preventing misoperation during power failure of air switch of relay protection screen | |
| CN205846472U (en) | A kind of high-tension switch cabinet of band electrical verification form | |
| CN202339875U (en) | Electric operating device for outdoor vertically-opened high-voltage isolation switch | |
| CN205676928U (en) | Fast disassembly type well lid | |
| CN210838475U (en) | A hinged back cover baffle applied to the transmission room of the circuit breaker | |
| CN202474588U (en) | Door pivot for distribution cabinet | |
| CN218102041U (en) | A switchgear electric meter installation cover mechanism | |
| CN204622893U (en) | A kind of data capsule | |
| CN220042689U (en) | Cabinet door and high-voltage switch cabinet | |
| CN203055938U (en) | Waterproof photovoltaic combiner box |
Legal Events
| Date | Code | Title | Description |
|---|---|---|---|
| C14 | Grant of patent or utility model | ||
| GR01 | Patent grant | ||
| C53 | Correction of patent of invention or patent application | ||
| CB03 | Change of inventor or designer information |
Inventor after: Li Yongdong Inventor after: Yang Minxiang Inventor after: He Wei Inventor after: Wang Jianwei Inventor after: Meng Qingda Inventor after: Shang Daming Inventor after: Wei Xiaowei Inventor after: Yu Wenbo Inventor after: Lin Lin Inventor after: Yang Jian Inventor after: Li Zhendong Inventor before: Wang Jianwei |
|
| COR | Change of bibliographic data |
Free format text: CORRECT: INVENTOR; FROM: WANG JIANWEI TO: LI YONGDONG WANG JIANWEI MENG QINGDA SHANG DAMING WEI XIAOWEI YU WENBO LIN LIN YANG JIAN LI ZHENDONG YANG MINXIANG HE WEI |
|
| C53 | Correction of patent of invention or patent application | ||
| CB03 | Change of inventor or designer information |
Inventor after: Li Yongdong Inventor after: Yang Jian Inventor after: He Wei Inventor after: Lu Feng Inventor after: Wu Diejun Inventor after: Wang Jianwei Inventor after: Jiang Guohua Inventor after: Meng Qingda Inventor after: Wei Xiaowei Inventor after: Yang Minxiang Inventor after: Shang Daming Inventor after: Yu Wenbo Inventor after: Lin Lin Inventor before: Li Yongdong Inventor before: Yang Minxiang Inventor before: He Wei Inventor before: Wang Jianwei Inventor before: Meng Qingda Inventor before: Shang Daming Inventor before: Wei Xiaowei Inventor before: Yu Wenbo Inventor before: Lin Lin Inventor before: Yang Jian Inventor before: Li Zhendong |
|
| COR | Change of bibliographic data |
Free format text: CORRECT: INVENTOR; FROM: LI YONGDONG WANG JIANWEI MENG QINGDA SHANG DAMING WEI XIAOWEI YU WENBO LIN LIN YANG JIAN LI ZHENDONG YANG MINXIANG HE WEI TO: LI YONGDONG WANG JIANWEI JIANG GUOHUA MENG QINGDA WEI XIAOWEI YANG MINXIANG SHANG DAMING YU WENBO LIN LIN YANG JIAN HE WEI LU FENG WU YIJUN |
|
| CX01 | Expiry of patent term |
Granted publication date: 20130123 |
|
| CX01 | Expiry of patent term |
