CN202666717U - Spiral jet mixer - Google Patents
Spiral jet mixer Download PDFInfo
- Publication number
- CN202666717U CN202666717U CN201220246316.5U CN201220246316U CN202666717U CN 202666717 U CN202666717 U CN 202666717U CN 201220246316 U CN201220246316 U CN 201220246316U CN 202666717 U CN202666717 U CN 202666717U
- Authority
- CN
- China
- Prior art keywords
- throat
- spiral
- spiral groove
- jet
- pipe
- Prior art date
- Legal status (The legal status is an assumption and is not a legal conclusion. Google has not performed a legal analysis and makes no representation as to the accuracy of the status listed.)
- Expired - Fee Related
Links
Classifications
-
- Y—GENERAL TAGGING OF NEW TECHNOLOGICAL DEVELOPMENTS; GENERAL TAGGING OF CROSS-SECTIONAL TECHNOLOGIES SPANNING OVER SEVERAL SECTIONS OF THE IPC; TECHNICAL SUBJECTS COVERED BY FORMER USPC CROSS-REFERENCE ART COLLECTIONS [XRACs] AND DIGESTS
- Y02—TECHNOLOGIES OR APPLICATIONS FOR MITIGATION OR ADAPTATION AGAINST CLIMATE CHANGE
- Y02W—CLIMATE CHANGE MITIGATION TECHNOLOGIES RELATED TO WASTEWATER TREATMENT OR WASTE MANAGEMENT
- Y02W10/00—Technologies for wastewater treatment
- Y02W10/10—Biological treatment of water, waste water, or sewage
Abstract
本实用新型涉及一种螺旋射流混合器,包括:射流器、水泵,所述的射流器上端通过连接管与水泵的出水口连接,射流器喉管处的内侧壁上设有喉管螺旋槽,喉管出水口以外的管壁内侧设有喉管外螺旋槽,喉管外螺旋槽与喉管螺旋槽的螺旋方向相反。本实用新型通过射流器的喉管外螺旋槽、喉管螺旋槽喷射混合,使气液更容易混合均匀;本装置结构小巧,并且结构简单紧凑,造价低,便于加工普及。
The utility model relates to a spiral jet mixer, comprising: a jet and a water pump. The upper end of the jet is connected to the water outlet of the water pump through a connecting pipe. The inner side of the pipe wall other than the water outlet of the throat pipe is provided with an outer spiral groove of the throat pipe, and the spiral direction of the outer spiral groove of the throat pipe is opposite to that of the spiral groove of the throat pipe. The utility model makes it easier to mix the gas and liquid evenly through the spraying and mixing of the outer spiral groove of the throat of the jet and the spiral groove of the throat;
Description
技术领域 technical field
本实用新型涉及一种气液混合搅拌器,特别是涉及一种螺旋射流混合器。 The utility model relates to a gas-liquid mixing agitator, in particular to a spiral jet mixer.
背景技术 Background technique
气体和液体经常需要混合搅拌,使气体能溶解在液体中,目前有采用射流器混合气液的,但经过射流器不容易混合均匀,影响使用效果。 Gas and liquid often need to be mixed and stirred so that the gas can be dissolved in the liquid. At present, some jets are used to mix gas and liquid, but it is not easy to mix evenly through the jet, which affects the use effect.
发明内容 Contents of the invention
本实用新型的目的就是针对上述缺陷,提供一种螺旋射流混合器。 The purpose of this utility model is exactly to provide a kind of spiral jet mixer for above-mentioned defect. the
为达到上述目的,本实用新型采用如下技术方案: In order to achieve the above object, the utility model adopts the following technical solutions:
一种螺旋射流混合器,包括:射流器、水泵,所述的射流器上端通过连接管与水泵的出水口连接,射流器喉管处的内侧壁上设有喉管螺旋槽,喉管出水口以外的管壁内侧设有喉管外螺旋槽,喉管外螺旋槽与喉管螺旋槽的螺旋方向相反。 A spiral jet mixer, comprising: an ejector and a water pump, the upper end of the ejector is connected to the water outlet of the water pump through a connecting pipe, the inner wall of the throat of the ejector is provided with a throat spiral groove, and the outlet of the throat is The outer inner side of the pipe wall is provided with an outer spiral groove of the throat, and the spiral direction of the outer spiral groove of the throat is opposite to that of the spiral groove of the throat.
所述的射流器的两端设有连接管道的法兰。 The two ends of the ejector are provided with flanges for connecting pipes.
所述的射流器设有进气口,所述的进气口与射流器的混气室连通。 The ejector is provided with an air inlet, and the air inlet communicates with the gas mixing chamber of the ejector.
所述的喉管外螺旋槽和喉管螺旋槽分别绕内侧管壁均布,所述的螺旋槽设置3-20个。 The outer spiral grooves of the throat pipe and the spiral grooves of the throat pipe are evenly distributed around the inner pipe wall respectively, and 3-20 spiral grooves are provided.
所述的喉管外螺旋槽和喉管螺旋槽的两侧分别设有凸出的螺旋条,喉管外螺旋槽和喉管螺旋槽由螺旋条相距一定的间距组成。 The outer spiral groove of the throat and the two sides of the spiral groove of the throat are respectively provided with protruding spiral strips, and the outer spiral groove of the throat and the spiral groove of the throat are composed of spiral strips at a certain distance.
所述的喉管外螺旋槽和喉管螺旋槽从头到尾旋转的角度在30度-120度之间。 The rotation angle of the outer spiral groove of the throat pipe and the spiral groove of the throat pipe from the beginning to the end is between 30 degrees and 120 degrees.
本实用新型的有益效果在于:通过射流器的喉管外螺旋槽、喉管螺旋槽喷射混合,使气液更容易混合均匀;本装置结构小巧,并且结构简单紧凑,造价低,便于加工普及。 The beneficial effect of the utility model lies in that: the gas-liquid is easier to mix evenly through jetting and mixing through the outer spiral groove of the throat of the jet and the spiral groove of the throat;
附图说明 Description of drawings
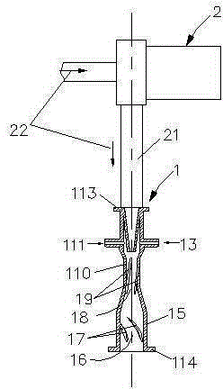
图1为本实用新型其中一个实施例的示意图。 Fig. 1 is a schematic diagram of one embodiment of the present invention.
具体实施方式 Detailed ways
如图1所示,本实用新型包括:射流器1、水泵2,所述的射流器1的上端通过连接管21与水泵2的出水口连接,水从水泵的进水管进入,再从出水管高速流如射流器1,流动方向如图中箭头22的方向,射流器喉管110处的内侧壁上设有喉管螺旋槽18,喉管出水口以外的管壁15内侧设有喉管外螺旋槽16,喉管外螺旋槽16与喉管螺旋槽18的旋转方向相反。所述的射流器的两端设有连接管道的法兰113、114,以便于与连接。所述的射流器设有进气口13、111,所述的进气口与射流器的混气室14连通。所述的喉管外螺旋槽16和喉管螺旋槽18分别绕管壁均布,所述的螺旋槽设置3-20个。所述的喉管外螺旋槽和喉管螺旋槽的两侧分别设有凸出的螺旋条17、19,喉管外螺旋槽和喉管螺旋槽由螺旋条相距一定的间距组成。所述的喉管外螺旋槽和喉管螺旋槽从头到尾旋转的角度在30度-120度之间。 As shown in Figure 1, the utility model comprises: jet device 1, water pump 2, and the upper end of described jet device 1 is connected with the water outlet of water pump 2 through connecting pipe 21, and water enters from the water inlet pipe of water pump, and then from the water outlet pipe High-speed flow such as the jet 1, the flow direction is the direction of the arrow 22 in the figure, the inner wall of the jet throat 110 is provided with a throat spiral groove 18, and the inner side of the pipe wall 15 other than the throat outlet is provided with a throat outer wall. The spiral groove 16, the rotation direction of the spiral groove 16 outside the throat is opposite to the spiral groove 18 of the throat. The two ends of the injector are provided with flanges 113 and 114 for connecting pipes, so as to facilitate the connection with the pipe. The ejector is provided with air inlets 13 and 111, and the air inlets communicate with the air mixing chamber 14 of the ejector. The outer spiral grooves 16 of the throat pipe and the spiral grooves 18 of the throat pipe are uniformly distributed around the pipe wall respectively, and 3-20 spiral grooves are provided. Protruding spiral strips 17 and 19 are respectively provided on both sides of the outer spiral groove of the throat and the spiral groove of the throat, and the outer spiral groove of the throat and the spiral groove of the throat are composed of spiral strips at a certain distance. The rotation angle of the outer spiral groove of the throat pipe and the spiral groove of the throat pipe from the beginning to the end is between 30 degrees and 120 degrees.
本实用新型可以用于混合臭氧和二氧化氯的气液混合。 The utility model can be used for gas-liquid mixing of ozone and chlorine dioxide.
Claims (6)
Priority Applications (1)
| Application Number | Priority Date | Filing Date | Title |
|---|---|---|---|
| CN201220246316.5U CN202666717U (en) | 2012-05-30 | 2012-05-30 | Spiral jet mixer |
Applications Claiming Priority (1)
| Application Number | Priority Date | Filing Date | Title |
|---|---|---|---|
| CN201220246316.5U CN202666717U (en) | 2012-05-30 | 2012-05-30 | Spiral jet mixer |
Publications (1)
| Publication Number | Publication Date |
|---|---|
| CN202666717U true CN202666717U (en) | 2013-01-16 |
Family
ID=47487652
Family Applications (1)
| Application Number | Title | Priority Date | Filing Date |
|---|---|---|---|
| CN201220246316.5U Expired - Fee Related CN202666717U (en) | 2012-05-30 | 2012-05-30 | Spiral jet mixer |
Country Status (1)
| Country | Link |
|---|---|
| CN (1) | CN202666717U (en) |
Cited By (3)
| Publication number | Priority date | Publication date | Assignee | Title |
|---|---|---|---|---|
| CN107715720A (en) * | 2017-11-23 | 2018-02-23 | 河北农业大学 | A Venturi Mixer |
| CN109731494A (en) * | 2018-12-31 | 2019-05-10 | 北京环域生态环保技术有限公司 | A kind of generating device and method of micro-nano bubble |
| CN109731491A (en) * | 2018-08-21 | 2019-05-10 | 北京环域生态环保技术有限公司 | A kind of double-current micro-nano bubble method for generation of jetting type and device of clashing |
-
2012
- 2012-05-30 CN CN201220246316.5U patent/CN202666717U/en not_active Expired - Fee Related
Cited By (4)
| Publication number | Priority date | Publication date | Assignee | Title |
|---|---|---|---|---|
| CN107715720A (en) * | 2017-11-23 | 2018-02-23 | 河北农业大学 | A Venturi Mixer |
| CN107715720B (en) * | 2017-11-23 | 2023-11-21 | 河北农业大学 | a venturi mixer |
| CN109731491A (en) * | 2018-08-21 | 2019-05-10 | 北京环域生态环保技术有限公司 | A kind of double-current micro-nano bubble method for generation of jetting type and device of clashing |
| CN109731494A (en) * | 2018-12-31 | 2019-05-10 | 北京环域生态环保技术有限公司 | A kind of generating device and method of micro-nano bubble |
Similar Documents
| Publication | Publication Date | Title |
|---|---|---|
| CN103111213B (en) | A kind of venturi mixer containing special Inserting Tube | |
| CN201921642U (en) | Gas-liquid mixing device | |
| CN103111212A (en) | Multi-point introduction structure and flow control mode of venturi mixer | |
| CN203061076U (en) | Multipoint introduction structure of Venturi mixer | |
| CN203874686U (en) | Square venturi mixer with adjustable flow area | |
| RU2016143432A (en) | EJECTIVE MIXER FOR MIXING BUILDING MIX AND WATER | |
| CN104028132A (en) | Venturi mixer with symmetrical inlet pipes at throat part | |
| CN202666717U (en) | Spiral jet mixer | |
| CN103446902A (en) | Spiral jet mixer | |
| CN204522789U (en) | Multi-point injection air and liquid mixer | |
| CN203329632U (en) | Longitudinal turbulence pipeline mixer | |
| CN205288140U (en) | A static mixer with high mixing degree | |
| CN204841440U (en) | Inside has static mixer device of duckbilled type jet | |
| CN104028135B (en) | A kind of square venturi mixer containing push-pull configuration | |
| CN205412714U (en) | Shunting static mixer | |
| CN203061080U (en) | Venturi mixer with insert pipe | |
| CN205517470U (en) | Tubular blender for chemical industry | |
| CN206276260U (en) | A kind of silent oscillation gas-liquid fluid mixing arrangement | |
| CN102228814B (en) | Material dissolving-mixing dynamic reaction hybrid system and method | |
| CN203146907U (en) | Fuel gas mixing proportion control device | |
| CN205461865U (en) | Gas -liquid mixing device | |
| CN203999830U (en) | A kind of whirlwind-type acid-washing stainless steel system | |
| CN204502908U (en) | Gas blender | |
| CN205886640U (en) | Outflow pipeline contains venturi mixer of stagger arrangement tube bank | |
| CN205099449U (en) | jet aerator |
Legal Events
| Date | Code | Title | Description |
|---|---|---|---|
| C14 | Grant of patent or utility model | ||
| GR01 | Patent grant | ||
| CF01 | Termination of patent right due to non-payment of annual fee |
Granted publication date: 20130116 Termination date: 20150530 |
|
| EXPY | Termination of patent right or utility model |
