CN202656242U - Punching tool for back membrane of photovoltaic assembly - Google Patents

Punching tool for back membrane of photovoltaic assembly Download PDF

Info

Publication number
CN202656242U
CN202656242U CN201220198276.1U CN201220198276U CN202656242U CN 202656242 U CN202656242 U CN 202656242U CN 201220198276 U CN201220198276 U CN 201220198276U CN 202656242 U CN202656242 U CN 202656242U
Authority
CN
China
Prior art keywords
blade
template
knives rack
long template
tool
Prior art date
Legal status (The legal status is an assumption and is not a legal conclusion. Google has not performed a legal analysis and makes no representation as to the accuracy of the status listed.)
Expired - Fee Related
Application number
CN201220198276.1U
Other languages
Chinese (zh)
Inventor
娄阳
Current Assignee (The listed assignees may be inaccurate. Google has not performed a legal analysis and makes no representation or warranty as to the accuracy of the list.)
JUNFENG SOLAR ENERGY (JIANGSU) CO Ltd
Original Assignee
JUNFENG SOLAR ENERGY (JIANGSU) CO Ltd
Priority date (The priority date is an assumption and is not a legal conclusion. Google has not performed a legal analysis and makes no representation as to the accuracy of the date listed.)
Filing date
Publication date
Application filed by JUNFENG SOLAR ENERGY (JIANGSU) CO Ltd filed Critical JUNFENG SOLAR ENERGY (JIANGSU) CO Ltd
Priority to CN201220198276.1U priority Critical patent/CN202656242U/en
Application granted granted Critical
Publication of CN202656242U publication Critical patent/CN202656242U/en
Anticipated expiration legal-status Critical
Expired - Fee Related legal-status Critical Current

Links

Images

Classifications

    • YGENERAL TAGGING OF NEW TECHNOLOGICAL DEVELOPMENTS; GENERAL TAGGING OF CROSS-SECTIONAL TECHNOLOGIES SPANNING OVER SEVERAL SECTIONS OF THE IPC; TECHNICAL SUBJECTS COVERED BY FORMER USPC CROSS-REFERENCE ART COLLECTIONS [XRACs] AND DIGESTS
    • Y02TECHNOLOGIES OR APPLICATIONS FOR MITIGATION OR ADAPTATION AGAINST CLIMATE CHANGE
    • Y02PCLIMATE CHANGE MITIGATION TECHNOLOGIES IN THE PRODUCTION OR PROCESSING OF GOODS
    • Y02P70/00Climate change mitigation technologies in the production process for final industrial or consumer products
    • Y02P70/50Manufacturing or production processes characterised by the final manufactured product

Landscapes

  • Perforating, Stamping-Out Or Severing By Means Other Than Cutting (AREA)

Abstract

本实用新型公开了一种光伏组件背膜开孔工具,包括相互垂直短模板和长模板、刀具支架、刀片,所述长模板上通过模块调节螺丝连接有刀具支架,所述刀片垂直穿过刀具支架前端,刀片上端连接有加压手柄。本实用新型结构合理、操作简单,能够快速调节、准确定位,可根据生产需要调节打孔数量、位置及宽度,并能多张背膜同时打孔,减少员工劳动强度及作业时间。

Figure 201220198276

The utility model discloses a hole-opening tool for the back film of a photovoltaic module, which comprises a short template and a long template perpendicular to each other, a tool bracket and a blade. The long template is connected with a tool bracket through a module adjusting screw, and the blade vertically passes through the tool. The front end of the bracket and the upper end of the blade are connected with a pressure handle. The utility model has the advantages of reasonable structure, simple operation, fast adjustment and accurate positioning, the number, position and width of punching can be adjusted according to production needs, and multiple back films can be punched at the same time, reducing the labor intensity and working time of employees.

Figure 201220198276

Description

Photovoltaic module notacoria drilling tool
Technical field
The utility model belongs to mechanical field, is specifically related to a kind of photovoltaic module notacoria drilling tool.
Background technology
The existing assembly that is only applicable to the same specification with the ordinary steel pallet of fixedly perforate, can not regulate arbitrarily quantity, width and the position of punching, positioning time is long during use, but slow, the each perforate number of perforate speed is few, greatly increased workman's labour intensity, simultaneously this traditional drilling tool uses a period of time rear surface easy to wear, dirty.
The utility model content
The utility model purpose: the purpose of this utility model is in order to solve the deficiencies in the prior art, to provide a kind of rational in infrastructure, easy and simple to handle, can regulating according to need of production the photovoltaic module notacoria drilling tool of punching quantity, position and width.
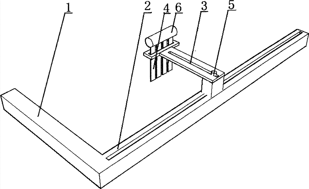
Technical scheme: a kind of photovoltaic module notacoria drilling tool, comprise mutually vertical short template and long template, knives rack, blade, be connected with knives rack by the module set screw on the described long template, described blade vertically passes the knives rack front end, and the blade upper end is connected with pressurized handgrip.
As preferably, be respectively arranged with scale on described long template and the knives rack, the zero starting point of long template scale is positioned at the inboard intersection of two templates, and knives rack scale zero starting point is positioned on the blade planar line.
As preferably, the independent and pressurized handgrip flexible connection of each blade of described blade.
Beneficial effect: the utility model is rational in infrastructure, simple to operate, can quick adjustment, accurate location, and can regulate punching quantity, position and width according to need of production, and can punch simultaneously by many notacorias, reduce staff labor intensity and activity duration.
Description of drawings
Fig. 1 is the utility model example structure side view;
Fig. 2 is the utility model example structure top view.
The specific embodiment
The utility model is described in further detail below in conjunction with specific embodiment:
As shown in drawings, a kind of photovoltaic module notacoria drilling tool, comprise mutually vertical short template 1 and long template 2, knives rack 3, blade 4, be connected with knives rack 3 by module set screw 5 on the described long template 2, described blade 4 vertically passes knives rack 3 front ends, blade 4 upper ends are connected with pressurized handgrip 6, be respectively arranged with scale on described long template 2 and the knives rack 3, the zero starting point of long template 2 scales is positioned at the inboard intersection of two templates, knives rack 3 scales zero starting point is positioned on blade 4 parallel lines, independent and pressurized handgrip 6 flexible connections of described blade 4 each blade.During use, choose on demand suitable blade 4 and form the up-and-down reciprocating cutter, the distance that regulates blade 4 is also fixing; Unclamp module set screw 5, the knives rack 3 with scale is regulated scale on demand after, the module of screwing on set screw 5 make its be fixed on demand with on the template 2 of scale to finish the cutter positioning; Put between short template 1 and the long template 2 with scale needing the tunicle of perforate or insulation strip to be close to, press up-and-down reciprocating cutter pressurized handgrip 6, namely finish punching.
The above only is preferred embodiment of the present invention; be noted that for those skilled in the art; under the prerequisite that does not break away from the principle of the invention, can also make some improvements and modifications, these improvements and modifications also should be considered as protection scope of the present invention.

Claims (3)

1. photovoltaic module notacoria drilling tool, it is characterized in that: comprise mutual vertical short template (1) and long template (2), knives rack (3), blade (4), described long template (2) is upper to be connected with knives rack (3) by module set screw (5), described blade (4) vertically passes knives rack (3) front end, and blade (4) upper end is connected with pressurized handgrip (6).
2. photovoltaic module notacoria drilling tool according to claim 1, it is characterized in that: be respectively arranged with scale on described long template (2) and the knives rack (3), the zero starting point of long template (2) scale is positioned at the inboard intersection of two templates, and knives rack (3) scale zero starting point is positioned on blade (4) parallel lines.
3. photovoltaic module notacoria drilling tool according to claim 1 is characterized in that: independent and pressurized handgrip (6) flexible connection of each blade of described blade (4).
CN201220198276.1U 2012-05-07 2012-05-07 Punching tool for back membrane of photovoltaic assembly Expired - Fee Related CN202656242U (en)

Priority Applications (1)

Application Number Priority Date Filing Date Title
CN201220198276.1U CN202656242U (en) 2012-05-07 2012-05-07 Punching tool for back membrane of photovoltaic assembly

Applications Claiming Priority (1)

Application Number Priority Date Filing Date Title
CN201220198276.1U CN202656242U (en) 2012-05-07 2012-05-07 Punching tool for back membrane of photovoltaic assembly

Publications (1)

Publication Number Publication Date
CN202656242U true CN202656242U (en) 2013-01-09

Family

ID=47451173

Family Applications (1)

Application Number Title Priority Date Filing Date
CN201220198276.1U Expired - Fee Related CN202656242U (en) 2012-05-07 2012-05-07 Punching tool for back membrane of photovoltaic assembly

Country Status (1)

Country Link
CN (1) CN202656242U (en)

Cited By (1)

* Cited by examiner, † Cited by third party
Publication number Priority date Publication date Assignee Title
CN102672753A (en) * 2012-05-07 2012-09-19 浚丰太阳能(江苏)有限公司 Tool for punching back film of photovoltaic component

Cited By (1)

* Cited by examiner, † Cited by third party
Publication number Priority date Publication date Assignee Title
CN102672753A (en) * 2012-05-07 2012-09-19 浚丰太阳能(江苏)有限公司 Tool for punching back film of photovoltaic component

Similar Documents

Publication Publication Date Title
CN203471936U (en) Cutting device for cement foam boards
CN201151133Y (en) Cutting machine positioning device
CN202656242U (en) Punching tool for back membrane of photovoltaic assembly
CN203956981U (en) A kind of paper cutter
CN203565579U (en) Portable aluminum row bending machine
CN207682451U (en) A kind of antiseepage film automatic cutting means
CN104649053A (en) Sealing and cutting device for paper diaper production line
CN205009323U (en) Cardboard rip cutting indentator mechanism that opens and shuts
CN203938254U (en) A kind of trimming device of reel machine
CN203887298U (en) Small sheet fast shearing device
CN204412943U (en) Movable feeding clip mechanism is used in a kind of bender
CN204320903U (en) Silicon steel sheet stamping-out device
CN203418590U (en) Adjustable die-cutting die
CN203191291U (en) Ink slide scribing machine
CN202715682U (en) Punching machine alignment calibrating device
CN203438284U (en) Locating device for rubber pipe cutting
CN202780027U (en) Aluminum plastic plate grooving machine
CN204248980U (en) A kind of nickel cathode groove face flexible plastic cover plate processing blanking jig
CN202473996U (en) Novel solar battery template
CN203817690U (en) Positioning device for plasma cutting
CN203957060U (en) A kind of bamboo let cutting meter-measuring device
CN102672753A (en) Tool for punching back film of photovoltaic component
CN201830988U (en) Pattern tissue hem scriber
CN204018852U (en) A kind of wire casing cutting localization tool
CN201970351U (en) Cutting table for solar photovoltaic raw materials

Legal Events

Date Code Title Description
C14 Grant of patent or utility model
GR01 Patent grant
C17 Cessation of patent right
CF01 Termination of patent right due to non-payment of annual fee

Granted publication date: 20130109

Termination date: 20130507