CN202636539U - 一种软态收纳盒 - Google Patents
一种软态收纳盒 Download PDFInfo
- Publication number
- CN202636539U CN202636539U CN 201220276407 CN201220276407U CN202636539U CN 202636539 U CN202636539 U CN 202636539U CN 201220276407 CN201220276407 CN 201220276407 CN 201220276407 U CN201220276407 U CN 201220276407U CN 202636539 U CN202636539 U CN 202636539U
- Authority
- CN
- China
- Prior art keywords
- box body
- soft attitude
- lid
- box
- cross
- Prior art date
- Legal status (The legal status is an assumption and is not a legal conclusion. Google has not performed a legal analysis and makes no representation as to the accuracy of the status listed.)
- Expired - Fee Related
Links
- 239000011229 interlayer Substances 0.000 claims abstract description 11
- 239000000463 material Substances 0.000 claims abstract description 10
- 239000010410 layer Substances 0.000 claims abstract description 8
- 238000010276 construction Methods 0.000 claims description 6
- 239000002344 surface layer Substances 0.000 claims description 5
- 238000004140 cleaning Methods 0.000 abstract description 4
- 230000007613 environmental effect Effects 0.000 abstract description 4
- 230000002349 favourable effect Effects 0.000 abstract 1
- XLYOFNOQVPJJNP-UHFFFAOYSA-N water Substances O XLYOFNOQVPJJNP-UHFFFAOYSA-N 0.000 abstract 1
- 238000000034 method Methods 0.000 description 6
- 238000005406 washing Methods 0.000 description 6
- 238000010586 diagram Methods 0.000 description 5
- 230000006378 damage Effects 0.000 description 4
- 239000002699 waste material Substances 0.000 description 4
- 230000009286 beneficial effect Effects 0.000 description 2
- 230000015572 biosynthetic process Effects 0.000 description 2
- 230000000694 effects Effects 0.000 description 2
- 230000007812 deficiency Effects 0.000 description 1
- 230000002950 deficient Effects 0.000 description 1
- 238000001035 drying Methods 0.000 description 1
- 238000005516 engineering process Methods 0.000 description 1
- 239000002356 single layer Substances 0.000 description 1
- 239000007779 soft material Substances 0.000 description 1
Images
Landscapes
- Purses, Travelling Bags, Baskets, Or Suitcases (AREA)
Abstract
一种软态收纳盒,包括顶部开口的盒体,盒体包括一体相连的前侧部、左侧部、后侧部、右侧部和底部;各个侧部和底部均呈软体形态,各个侧部相互间以及各个侧部与底部之间彼此柔性相连,整体呈软态构造;盒体上设与盒体顶部一侧固定相连的盒盖;盒盖与其它侧面顶部之间通过滑动拉链或雌雄扣活动相连;各个侧部、底部和盒盖的任意横截面为由若干层可水洗材料组合的叠层结构,由外到内包括面层、夹层和里层。盒体的横截面外轮廓呈矩形或圆形或椭圆形;盒盖的外形与盒体的横截面外轮廓相适配。本实用新型收纳盒支持水洗,可重复使用,利于清洁和环保;易于储藏;盒体的容量可充分利用,摆放空间可适当伸缩,方便使用;用户使用安全性能高;运输成本低。
Description
技术领域
本实用新型涉及一种收纳盒,尤其是一种软态收纳盒。
背景技术
随着人们生活水平的提高,收纳产品的用户已经渗透到了各个领域。用于家用物品的收纳产品尤其受到家庭主妇乃至白领人士的青睐。
目前市场上的各类收纳产品不仅品种繁多,且形式各异,在一定程度上的确给人们的生活带来了许多便利。
然而,由于受到材料和产品结构的限制,现有技术中的收纳盒,普遍存在以下问题:
1. 由于收纳盒不是软态的,使用过程中往往会受到摆放空间的限制,空间小了无法摆放,空间大了又会产生浪费;
2. 由于收纳盒不是软态的,盒体或箱体的容量不易得到充分的利用,尤其是各个角落等部位往往会存在很多空间上的浪费;
3. 由于收纳盒不是软态的,使用过程中,操作不当还会碰伤人体的手臂,尤其容易对家中的婴幼儿造成伤害;
4. 由于收纳盒不是软态的,且大都又不可折叠,故当人们无需使用它时仍只能撑开放置,储藏起来很占空间;对于商家而言,无疑会增加储存和保管乃至运输的成本;
5. 现有的收纳盒或收纳箱由于其夹层大都采用的是纸板,因此不支持水洗,长时间使用很不卫生,也不利于重复使用。
实用新型内容
本实用新型的目的是克服现有技术的不足或缺陷,提供一种软态收纳盒。由于盒体和盒盖均采用由多层软态材料的组合结构,支持水洗,可重复使用,便于清洁,利用环保;易于储藏;盒体的容量可充分利用;摆放空间可适当伸缩,方便使用;降低了用户的使用、储藏和运输成本。
为了实现上述目的,本实用新型采用了如下技术方案:
一种软态收纳盒,包括顶部开口的盒体,其特征在于,
所述的盒体包括一体相连的前侧部、左侧部、后侧部、右侧部和底部;所述的各个侧部和底部均呈软体形态,各个侧部相互间以及各个侧部与底部之间彼此柔性相连,整体呈软态构造;
所述的盒体上设有与盒体顶部的任意一侧固定相连的盒盖;盒盖与其它侧面的顶部之间通过滑动拉链或雌雄扣活动相连;
所述盒体的各个侧部、底部和盒盖的任意横截面均为由若干层可水洗材料组合的叠层结构。
上述的软态收纳盒,其中,
所述的叠层结构由外到内依次包括面层、夹层和里层。
所述的夹层为海绵层。
所述盒体的横截面外轮廓呈矩形或圆形或椭圆形。
所述的盒盖外形与盒体的横截面外轮廓相适配。
所述的盒盖上居中设有一方便拿取或搬运的手柄。
所述的盒体上任意相对的两个侧部居中对称设有一方便拿取或搬运的手柄。
所述的滑动拉链为双头拉链。
由于采用了上述的技术方案,本实用新型与现有技术相比,具有以下的优点和积极效果:
1.由于收纳盒采用软态结构,使用过程中不会受到摆放空间的限制,空间小了仍可摆放;
2.由于收纳盒采用软态结构,盒体内的空间可以得到充分的利用,尤其是各个角落等部位,都可以用来填塞物品,避免盒体内空间的浪费;
3. 由于盒体、盒盖均采用多层可水洗的软体材料的组合结构,因此支持水洗,可重复使用,便于清洁,利于环保;
4.由于收纳盒采用软态结构,可以最大限度地进行折叠,故当人们无需使用时储藏起来所占用的空间很小;对于商家而言,无疑会降低储存和保管乃至运输的成本;
5.由于收纳盒采用软态结构,使用过程中,无论如何操作都不会碰伤人体的手臂,尤其不会对家中的婴幼儿造成任何伤害。
附图说明
通过以下实施例并结合其附图的描述,可以进一步理解其实用新型的目的、具体结构特征和优点。附图中,
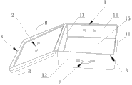
图1是本实用新型涉及的一种软态收纳盒打开状态的结构示意图;
图2是本实用新型涉及的一种软态收纳盒使用状态的结构示意图;
图3是图2中盒盖的俯视结构示意图;
图4是图2的正面结构示意图;
图5是沿图4中A-A线的剖面放大结构示意图;
图6是图5中C部的放大结构示意图;
图7是沿图1中B-B线的剖面放大结构示意图;
图8是图2的另一个实施例的结构示意图;
图9是一种横截面为圆形或椭圆形的收纳盒立体结构示意图。
图中:
1-盒体;11-盒体的前侧部;12-盒体的左侧部;13-盒体的后侧部;14-盒体的右侧部;15-盒体的底部;M-面层;J-夹层;L-里层;
2-盒盖;3-滑动拉链;4-雌雄扣;5-手柄。
具体实施方式
参见图1,配合参见图2~图7,本实用新型涉及的一种软态收纳盒,其总体技术方案如下:
软态收纳盒主要包括顶部开口的盒体1,盒体包括一体相连的前侧部11、左侧部12、后侧部13、右侧部14和底部15;盒体1上设有与盒体顶部的任意一侧固定相连的盒盖2;盒盖2与其它侧面的顶部之间通过滑动拉链或雌雄扣活动相连。
本实用新型的关键在于:
各个侧部和底部均呈软体形态,各个侧部相互间以及各个侧部与底部之间彼此柔性相连,整体呈软态构造。采用这种软态结构的收纳盒,使用过程中不会受到摆放空间的限制,空间小了仍可摆放;盒体内的空间可以得到充分的利用,尤其是各个角落等部位,都可以用来填塞物品,避免盒体内空间的浪费;可以最大限度地进行折叠,故当人们无需使用时储藏起所占用的空间很小;对于商家而言,无疑会降低储存和保管乃至运输的成本;使用过程中,无论如何操作都不会碰伤人体的手臂,尤其不会对家中的婴幼儿造成任何伤害。
如图5~图7所示,本实用新型的关键还在于:
盒体1的各个侧部、底部15和盒盖2的任意横截面均为由若干层可水洗材料组合的叠层结构;该叠层结构由外到内依次包括面层M、夹层J和里层L。由于本实用新型收纳盒支持水洗,便于清洁,因此,可重复使用,利于环保。
实施例1
在上述总体技术方案的基础上,如图1~3所示,盒体1的横截面外轮廓呈矩形;盒盖2的外形与盒体1的横截面外轮廓相适配,呈长方形。
盒盖2上居中设有一方便拿取或搬运的手柄5。盒盖2与其它侧面的顶部之间通过滑动拉链3活动相连;盒体、盒盖的面层M和里层L之间设置一夹层J,该夹层的材料选用单层厚度适中的海绵材料,既有利于收纳盒的整体成型,又方便收纳盒的水洗,且水洗后易于干燥。
实施例2
在实施例1的基础上,如图1、2所示,盒体1上彼此相对的左侧部12和后侧部14上居中对称设有一方便拿取或搬运的手柄5。
实施例3
在实施例1或2的基础上,如图1所示,盒盖2与其它侧面的顶部之间的连接件采用滑动拉链3使其活动相连;滑动拉链3最好为双头拉链,使用起来更加方便。
实施例4
在总体技术方案的基础上,如图9所示,盒体1的横截面外轮廓呈圆形或椭圆形;盒盖2的外形与盒体1的横截面外轮廓相适配,呈圆形或椭圆形;盒盖2与其它侧面的顶部之间通过滑动拉链3活动相连。夹层的材料选用厚度适中的海绵材料,可使本实用新型涉及的收纳盒整体成型效果更好。
实施例5
如图8所示,在总体技术方案的基础上,盒体1上设有与盒体顶部的后侧部13固定相连的盒盖2;盒盖2与其它侧面的顶部之间采用雌雄扣4活动相连,手柄5对称设置在盒体的前侧部11和后侧部13上。
此外,盒盖2与其它侧面的顶部之间还可以通过采用按扣等扣件活动相连。不再赘述。
Claims (8)
1.一种软态收纳盒,包括顶部开口的盒体,其特征在于,
所述的盒体包括一体相连的前侧部、左侧部、后侧部、右侧部和底部;所述的各个侧部和底部均呈软体形态,各个侧部相互间以及各个侧部与底部之间彼此柔性相连,整体呈软态构造;
所述的盒体上设有与盒体顶部的任意一侧固定相连的盒盖;盒盖与其它侧面的顶部之间通过滑动拉链或雌雄扣活动相连;
所述盒体的各个侧部、底部和盒盖的任意横截面均为由若干层可水洗材料组合的叠层结构。
2.根据权利要求1所述的软态收纳盒,其特征在于,所述的叠层结构由外到内依次包括面层、夹层和里层。
3.根据权利要求2所述的软态收纳盒,其特征在于,所述的夹层为海绵层。
4.根据权利要求1或2或3所述的软态收纳盒,其特征在于,所述盒体的横截面外轮廓呈矩形或圆形或椭圆形。
5.根据权利要求1或2或3所述的软态收纳盒,其特征在于,所述盒盖的外形与盒体的横截面外轮廓相适配。
6.根据权利要求1或2或3所述的软态收纳盒,其特征在于,所述的盒盖上居中设有一方便拿取或搬运的手柄。
7.根据权利要求6所述的软态收纳盒,其特征在于,所述的盒体上任意相对的两个侧部居中对称设有一方便拿取或搬运的手柄。
8.根据权利要求1所述的软态收纳盒,其特征在于,所述的滑动拉链为双头拉链。
Priority Applications (1)
| Application Number | Priority Date | Filing Date | Title |
|---|---|---|---|
| CN 201220276407 CN202636539U (zh) | 2012-06-13 | 2012-06-13 | 一种软态收纳盒 |
Applications Claiming Priority (1)
| Application Number | Priority Date | Filing Date | Title |
|---|---|---|---|
| CN 201220276407 CN202636539U (zh) | 2012-06-13 | 2012-06-13 | 一种软态收纳盒 |
Publications (1)
| Publication Number | Publication Date |
|---|---|
| CN202636539U true CN202636539U (zh) | 2013-01-02 |
Family
ID=47405741
Family Applications (1)
| Application Number | Title | Priority Date | Filing Date |
|---|---|---|---|
| CN 201220276407 Expired - Fee Related CN202636539U (zh) | 2012-06-13 | 2012-06-13 | 一种软态收纳盒 |
Country Status (1)
| Country | Link |
|---|---|
| CN (1) | CN202636539U (zh) |
Cited By (1)
| Publication number | Priority date | Publication date | Assignee | Title |
|---|---|---|---|---|
| CN102697368A (zh) * | 2012-06-13 | 2012-10-03 | 上海安合安电子商务有限公司 | 一种软态收纳盒 |
-
2012
- 2012-06-13 CN CN 201220276407 patent/CN202636539U/zh not_active Expired - Fee Related
Cited By (1)
| Publication number | Priority date | Publication date | Assignee | Title |
|---|---|---|---|---|
| CN102697368A (zh) * | 2012-06-13 | 2012-10-03 | 上海安合安电子商务有限公司 | 一种软态收纳盒 |
Similar Documents
| Publication | Publication Date | Title |
|---|---|---|
| CN201938177U (zh) | 一种折叠式宠物包 | |
| CN202636539U (zh) | 一种软态收纳盒 | |
| CN203088643U (zh) | 一种软态绗缝结构收纳盒 | |
| CN204675120U (zh) | 食品保温前送背囊 | |
| WO2010088806A1 (zh) | 一种收纳箱 | |
| CN203618964U (zh) | 一种带座椅的多功能旅行箱 | |
| CN201911148U (zh) | 一种方便携带的宠物包 | |
| CN201864117U (zh) | 折叠可视整理箱 | |
| CN203524327U (zh) | 一种多用途枕 | |
| CN102697368A (zh) | 一种软态收纳盒 | |
| CN201150315Y (zh) | 可折叠收纳盒 | |
| CN201758959U (zh) | 一种储物箱包 | |
| CN208731581U (zh) | 一种透明的分格收纳折叠挂袋 | |
| CN208403518U (zh) | 一种智能野餐篮 | |
| CN207186243U (zh) | 一种具有移动衣柜功能的衣服收纳包袋 | |
| CN201911150U (zh) | 一种多用途宠物包 | |
| CN204541099U (zh) | 一种便携式手提包 | |
| CN102293491A (zh) | 一种环保购物袋 | |
| CN203555280U (zh) | 一种多功能行李箱 | |
| CN202489378U (zh) | 一种旅行洗漱包 | |
| CN202172976U (zh) | 一种储物袋 | |
| CN211408443U (zh) | 一种既可以当作睡袋使用又可以免于收拾的床上用品 | |
| CN207444472U (zh) | 一种可折叠收纳的多用途环保袋 | |
| CN205196607U (zh) | 便携式宠物包 | |
| CN201770169U (zh) | 环保鞋袋 |
Legal Events
| Date | Code | Title | Description |
|---|---|---|---|
| C14 | Grant of patent or utility model | ||
| GR01 | Patent grant | ||
| CF01 | Termination of patent right due to non-payment of annual fee | ||
| CF01 | Termination of patent right due to non-payment of annual fee |
Granted publication date: 20130102 Termination date: 20160613 |