CN202636038U - Rotary type sweeper - Google Patents
Rotary type sweeper Download PDFInfo
- Publication number
- CN202636038U CN202636038U CN 201220152385 CN201220152385U CN202636038U CN 202636038 U CN202636038 U CN 202636038U CN 201220152385 CN201220152385 CN 201220152385 CN 201220152385 U CN201220152385 U CN 201220152385U CN 202636038 U CN202636038 U CN 202636038U
- Authority
- CN
- China
- Prior art keywords
- brush
- sleeve
- handle
- brush head
- gland
- Prior art date
- Legal status (The legal status is an assumption and is not a legal conclusion. Google has not performed a legal analysis and makes no representation as to the accuracy of the status listed.)
- Expired - Fee Related
Links
Images
Landscapes
- Brushes (AREA)
Abstract
本实用新型涉及一种旋转式清扫器,包括刷柄和刷头,其特征在于:该清扫器还包括套筒,所述刷柄穿装在套筒内,所述刷柄上端可拆卸式安装有摇把,所述套筒的上端安装有压盖,所述压盖支撑刷柄。采用上述结构人们在使用时,一手握住套筒,一手旋转摇把,很方便实现刷头的旋转,进而可快速实现清理。因此上述结构具有结构简单、设计合理、使用翻遍,而且刷头易于清理等优点。
The utility model relates to a rotary cleaning device, which includes a brush handle and a brush head. There is a crank handle, and a gland is installed on the upper end of the sleeve, and the gland supports the brush handle. When using the above-mentioned structure, people hold the sleeve with one hand and rotate the handle with the other hand, so that it is very convenient to realize the rotation of the brush head, and then quickly realize cleaning. Therefore, the structure has the advantages of simple structure, reasonable design, repeated use, and easy cleaning of the brush head.
Description
技术领域 technical field
本实用新型属于日常生活技术领域,特别是涉及一种旋转式清扫器。The utility model belongs to the technical field of daily life, in particular to a rotary cleaner.
背景技术 Background technique
目前,在人们日常生活中所用的马桶或者下水道清扫器大都是采用固定式结构,即主要包括刷柄和刷头,两者采用一体注塑成型,在人们使用时为了清理彻底,往往旋转整个清扫器,在旋转式手同时跟着一起旋转,极不方便,而且清理不彻底。At present, most of the toilets or sewer cleaners used in people's daily life adopt a fixed structure, that is, they mainly include a brush handle and a brush head. , it is extremely inconvenient to rotate with the rotary hand at the same time, and the cleaning is not thorough.
发明内容 Contents of the invention
本实用新型为解决公知技术中存在的技术问题而提供一种结构简单、使用方便的旋转式清扫器。The utility model provides a rotary cleaner with simple structure and convenient use in order to solve the technical problems in the known technology.
本实用新型为解决公知技术中存在的技术问题所采取的技术方案是:The technical scheme that the utility model takes for solving the technical problem existing in the known technology is:
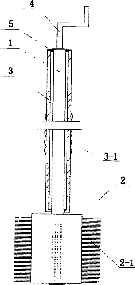
一种旋转式清扫器,包括刷柄和刷头,其特征在于:该清扫器还包括套筒,所述刷柄穿装在套筒内,所述刷柄上端可拆卸式安装有摇把,所述套筒的上端安装有压盖,所述压盖支撑刷柄。A rotary cleaner, including a brush handle and a brush head, characterized in that the cleaner also includes a sleeve, the brush handle is mounted in the sleeve, and a crank is detachably installed on the upper end of the brush handle, A gland is installed on the upper end of the sleeve, and the gland supports the brush handle.
本实用新型还可以采用如下技术措施:The utility model can also adopt the following technical measures:
所述套筒的中间部位设有防滑凸起。The middle part of the sleeve is provided with an anti-slip protrusion.
所述安装在刷头上的刷毛固定安装在弧形安装板上,所述弧形安装板内侧设有T形滑块,所述刷头沿轴向方向均布设有T形滑槽,所述弧形安装板的T形滑块插装在刷头的T形滑槽内。The bristles installed on the brush head are fixedly installed on the arc-shaped mounting plate, the inner side of the arc-shaped mounting plate is provided with a T-shaped slider, and the brush head is evenly arranged with T-shaped chute along the axial direction. The T-shaped sliding block of the arc-shaped mounting plate is inserted in the T-shaped chute of the brush head.
本实用新型具有的优点和积极效果是:由于本实用新型采用上述技术方案,即将刷柄和刷头通过套筒连接成一个旋转式结构,即刷柄穿装在套筒内,所述刷柄上端可拆卸式安装有摇把,这样人们在使用时,一手握住套筒,一手旋转摇把,很方便实现刷头的旋转,进而可快速实现清理,因此上述结构具有结构简单、设计合理、使用方便,而且刷头可更换等优点。The advantages and positive effects of the utility model are: because the utility model adopts the above-mentioned technical scheme, the brush handle and the brush head are connected into a rotary structure through the sleeve, that is, the brush handle is worn in the sleeve, and the brush handle The upper end is detachably installed with a handle, so that when people use it, they can hold the sleeve with one hand and rotate the handle with the other hand, which is very convenient to realize the rotation of the brush head, and then can quickly realize cleaning. Therefore, the above structure has the advantages of simple structure, reasonable design, It is convenient to use, and the brush head can be replaced.
附图说明 Description of drawings
图1是本实用新型的结构示意图;Fig. 1 is the structural representation of the utility model;
图2是刷头的俯视图;Figure 2 is a top view of the brush head;
图3是弧形安装板结构示意图。Fig. 3 is a schematic diagram of the structure of the arc-shaped mounting plate.
图中:1、刷柄;2、刷头;2-1、刷毛;2-2、弧形安装板;2-3、T形滑块;2-4、T形滑槽;3、套筒;3-1、防滑凸起;4、摇把;5、压盖。In the figure: 1. Brush handle; 2. Brush head; 2-1. Bristles; 2-2. Arc mounting plate; 2-3. T-shaped slider; 2-4. T-shaped chute; 3. Sleeve ; 3-1, anti-slip protrusion; 4, crank handle; 5, gland.
具体实施方式 Detailed ways
为能进一步了解本实用新型的发明内容、特点及功效,兹例举以下实施例,并配合附图详细说明如下:In order to further understand the invention content, characteristics and effects of the present utility model, the following examples are given, and detailed descriptions are as follows in conjunction with the accompanying drawings:
请参阅图1至图3,一种旋转式清扫器,包括刷柄1和刷头2,该清扫器还包括套筒3,所述刷柄1穿装在套筒3内,所述刷柄1上端可拆卸式安装有摇把4,所述套筒3的上端安装有压盖5,所述压盖5支撑刷柄1。采用上述结构人们在使用时,一手握住套筒,一手旋转摇把,很方便实现刷头的旋转,进而可快速实现清理。Please refer to Fig. 1 to Fig. 3, a kind of rotary sweeper, comprises brush handle 1 and
为了增大手与套筒之间的摩擦力,所述套筒的中间部位设有防滑凸起3-1。In order to increase the frictional force between the hand and the sleeve, an anti-slip protrusion 3-1 is provided in the middle of the sleeve.
为了便于清理刷头,所述刷头采用分体结构,所述安装在刷头2上的刷毛2-1固定安装在弧形安装板2-2上,所述弧形安装板2-2内侧设有T形滑块2-3,所述刷头2沿轴向方向均布设有T形滑槽2-4,所述弧形安装板2-2的T形滑块2-3插装在刷头的T形滑槽2-4内,这样很方便实现刷毛的拆卸,从而使得本实用新型具有易于清理的特点。In order to facilitate the cleaning of the brush head, the brush head adopts a split structure, and the bristles 2-1 installed on the
以上所述仅是对本实用新型的较佳实施例而已,并非对本实用新型作任何形式上的限制,凡是依据本实用新型的技术实质对以上实施例所做的任何简单修改,等同变化与修饰,均属于本实用新型技术方案的范围内。The above descriptions are only preferred embodiments of the present utility model, and are not intended to limit the present utility model in any form. Any simple modifications made to the above embodiments according to the technical essence of the present utility model are equivalent to changes and modifications. All belong to the scope of the technical solution of the utility model.
Claims (3)
Priority Applications (1)
| Application Number | Priority Date | Filing Date | Title |
|---|---|---|---|
| CN 201220152385 CN202636038U (en) | 2012-04-12 | 2012-04-12 | Rotary type sweeper |
Applications Claiming Priority (1)
| Application Number | Priority Date | Filing Date | Title |
|---|---|---|---|
| CN 201220152385 CN202636038U (en) | 2012-04-12 | 2012-04-12 | Rotary type sweeper |
Publications (1)
| Publication Number | Publication Date |
|---|---|
| CN202636038U true CN202636038U (en) | 2013-01-02 |
Family
ID=47405242
Family Applications (1)
| Application Number | Title | Priority Date | Filing Date |
|---|---|---|---|
| CN 201220152385 Expired - Fee Related CN202636038U (en) | 2012-04-12 | 2012-04-12 | Rotary type sweeper |
Country Status (1)
| Country | Link |
|---|---|
| CN (1) | CN202636038U (en) |
Cited By (4)
| Publication number | Priority date | Publication date | Assignee | Title |
|---|---|---|---|---|
| CN105962829A (en) * | 2016-07-26 | 2016-09-28 | 苏州市同发塑业有限公司 | Multifunctional toilet brush |
| CN107485325A (en) * | 2014-12-24 | 2017-12-19 | 钱红双 | A kind of toilet brush |
| CN108879445A (en) * | 2018-07-16 | 2018-11-23 | 贵州大学 | A kind of cleaning header structure of control cabinet |
| CN114642308A (en) * | 2020-12-21 | 2022-06-21 | 江苏润阳悦达光伏科技有限公司 | Maintenance silk screen fritting furnace fin is clean to be used changes brush |
-
2012
- 2012-04-12 CN CN 201220152385 patent/CN202636038U/en not_active Expired - Fee Related
Cited By (7)
| Publication number | Priority date | Publication date | Assignee | Title |
|---|---|---|---|---|
| CN107485325A (en) * | 2014-12-24 | 2017-12-19 | 钱红双 | A kind of toilet brush |
| CN107510411A (en) * | 2014-12-24 | 2017-12-26 | 钱红双 | A kind of toilet brush |
| CN107569157A (en) * | 2014-12-24 | 2018-01-12 | 钱红双 | A kind of toilet brush |
| CN107692917A (en) * | 2014-12-24 | 2018-02-16 | 钱红双 | A kind of toilet brush |
| CN105962829A (en) * | 2016-07-26 | 2016-09-28 | 苏州市同发塑业有限公司 | Multifunctional toilet brush |
| CN108879445A (en) * | 2018-07-16 | 2018-11-23 | 贵州大学 | A kind of cleaning header structure of control cabinet |
| CN114642308A (en) * | 2020-12-21 | 2022-06-21 | 江苏润阳悦达光伏科技有限公司 | Maintenance silk screen fritting furnace fin is clean to be used changes brush |
Similar Documents
| Publication | Publication Date | Title |
|---|---|---|
| CN202636038U (en) | Rotary type sweeper | |
| CN203153667U (en) | Retractable mop | |
| CN202355372U (en) | Scraps removal broom | |
| CN201153684Y (en) | Convenient toothbrush | |
| CN202355364U (en) | Portable broom | |
| CN203407682U (en) | a kind of brush | |
| CN201734123U (en) | Multifunctional shoe brush | |
| CN203262578U (en) | Combined type closestool brush | |
| CN202198064U (en) | Paint brush with support | |
| CN201271209Y (en) | Novel broom | |
| CN201205272Y (en) | New scoop | |
| CN201759534U (en) | Simple cup cleaner | |
| CN209048052U (en) | A kind of dustpan | |
| CN204411010U (en) | Artificial tooth electric toothbrush | |
| CN205548439U (en) | Toilet brush | |
| CN204618120U (en) | A kind of dual-purpose besom | |
| CN201453625U (en) | Nose clear brush | |
| CN201260484Y (en) | Toothbrush with changeable hairs | |
| CN203647263U (en) | Broom with electric cleaning device | |
| CN201814495U (en) | Clothes hanger type toilet cleaning brush | |
| CN202154649U (en) | Ultra-clean quick-drying mop | |
| CN203016154U (en) | Toothbrush | |
| CN203972350U (en) | A kind of new type handle brush | |
| CN201814471U (en) | Back rubbing device | |
| CN202288095U (en) | Electric toilet brush |
Legal Events
| Date | Code | Title | Description |
|---|---|---|---|
| C14 | Grant of patent or utility model | ||
| GR01 | Patent grant | ||
| C17 | Cessation of patent right | ||
| CF01 | Termination of patent right due to non-payment of annual fee |
Granted publication date: 20130102 Termination date: 20130412 |
