CN202581990U - Shock-reducing ice crusher - Google Patents
Shock-reducing ice crusher Download PDFInfo
- Publication number
- CN202581990U CN202581990U CN201220217234.8U CN201220217234U CN202581990U CN 202581990 U CN202581990 U CN 202581990U CN 201220217234 U CN201220217234 U CN 201220217234U CN 202581990 U CN202581990 U CN 202581990U
- Authority
- CN
- China
- Prior art keywords
- ice
- motor
- shock
- frame
- cylinder
- Prior art date
- Legal status (The legal status is an assumption and is not a legal conclusion. Google has not performed a legal analysis and makes no representation as to the accuracy of the status listed.)
- Expired - Fee Related
Links
Images
Classifications
-
- Y—GENERAL TAGGING OF NEW TECHNOLOGICAL DEVELOPMENTS; GENERAL TAGGING OF CROSS-SECTIONAL TECHNOLOGIES SPANNING OVER SEVERAL SECTIONS OF THE IPC; TECHNICAL SUBJECTS COVERED BY FORMER USPC CROSS-REFERENCE ART COLLECTIONS [XRACs] AND DIGESTS
- Y02—TECHNOLOGIES OR APPLICATIONS FOR MITIGATION OR ADAPTATION AGAINST CLIMATE CHANGE
- Y02W—CLIMATE CHANGE MITIGATION TECHNOLOGIES RELATED TO WASTEWATER TREATMENT OR WASTE MANAGEMENT
- Y02W30/00—Technologies for solid waste management
- Y02W30/50—Reuse, recycling or recovery technologies
- Y02W30/52—Mechanical processing of waste for the recovery of materials, e.g. crushing, shredding, separation or disassembly
-
- Y—GENERAL TAGGING OF NEW TECHNOLOGICAL DEVELOPMENTS; GENERAL TAGGING OF CROSS-SECTIONAL TECHNOLOGIES SPANNING OVER SEVERAL SECTIONS OF THE IPC; TECHNICAL SUBJECTS COVERED BY FORMER USPC CROSS-REFERENCE ART COLLECTIONS [XRACs] AND DIGESTS
- Y02—TECHNOLOGIES OR APPLICATIONS FOR MITIGATION OR ADAPTATION AGAINST CLIMATE CHANGE
- Y02W—CLIMATE CHANGE MITIGATION TECHNOLOGIES RELATED TO WASTEWATER TREATMENT OR WASTE MANAGEMENT
- Y02W30/00—Technologies for solid waste management
- Y02W30/50—Reuse, recycling or recovery technologies
- Y02W30/62—Plastics recycling; Rubber recycling
Landscapes
- Crushing And Grinding (AREA)
Abstract
本实用新型公开一种减震碎冰机,包括机架,所述机架的底端设有电机,顶部设有进料箱体,所述进料箱体内设有碎冰槽,进料箱体的上下两端开有进料口和出料口,所述电机通过皮带与圆筒连接,所述圆筒安装在碎冰槽内,机架的底部设有橡胶减震垫,由于设有以上结构,该装置结构简单,安装方便,能够搅碎冰块,而且在工作的时候可以有效防止电机强烈的震荡而损坏,从而增加碎冰机的使用寿命。
The utility model discloses a shock-absorbing ice crushing machine, which comprises a frame. The bottom of the frame is provided with a motor, and the top is provided with a feeding box. The upper and lower ends of the box are provided with a feed port and a discharge port. The motor is connected to the cylinder through a belt. The cylinder is installed in the crushed ice tank. With the above structure, the device has a simple structure, is easy to install, can crush ice cubes, and can effectively prevent the motor from being damaged due to strong vibration during work, thereby increasing the service life of the ice crusher.
Description
技术领域 technical field
本实用新型涉及到鱼类加工技术技术领域,特别涉及一种减震碎冰机。 The utility model relates to the technical field of fish processing technology, in particular to a shock-absorbing ice crusher.
背景技术 Background technique
目前,用于冰块来保鲜海产品,需要将冰块碎成小片状体,现有的碎冰机除了传统的碎冰效率高、碎冰效果好和外型美观等等要求外,还提出了更多的要求,例如防震。但现在市面上所销售的碎冰机一般不具备防震功能,当不小心碰掉了,由于碎冰机内部的电机没有被很好地固定,电机极其容易因为强烈的震荡而损坏,从而使得整部碎冰机报废。 At present, ice cubes are used to keep seafood fresh, and ice cubes need to be broken into small flakes. In addition to the traditional requirements of high ice crushing efficiency, good ice crushing effect and beautiful appearance, the existing ice crushers also have More requirements are put forward, such as shock resistance. However, the ice crushers currently on the market generally do not have the shockproof function. When they are accidentally knocked off, because the motor inside the ice crusher is not well fixed, the motor is extremely easy to be damaged by strong vibrations, which makes the whole machine Part of the ice crusher was scrapped.
实用新型内容 Utility model content
为了改变技术中存在的上述不足之处,本实用新型的目的在于提供了一种具有减震效果的碎冰机。 In order to change the above-mentioned deficiencies in the technology, the purpose of the utility model is to provide an ice crusher with a shock-absorbing effect.
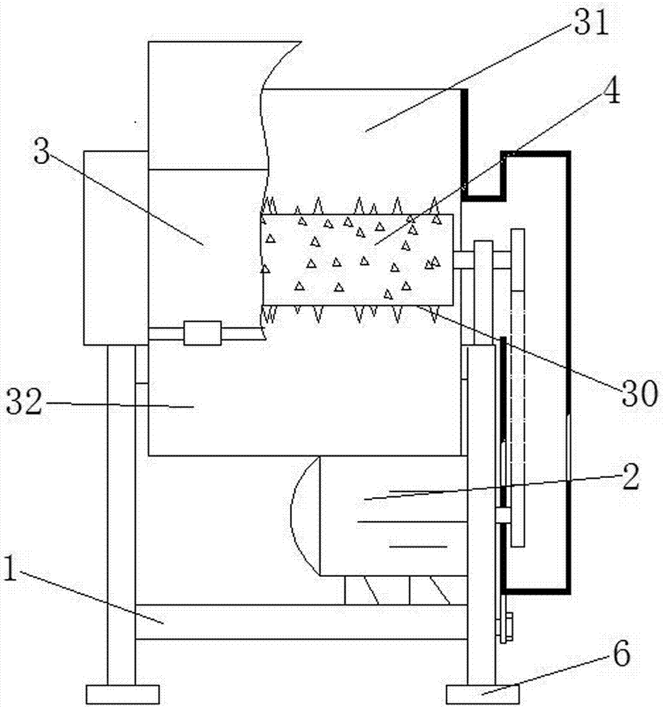
为了达到上述之目的,本实用新型采用如下具体技术方案:一种减震碎冰机,包括机架,所述机架的底端设有电机,顶部设有进料箱体,所述进料箱体内设有碎冰槽,进料箱体的上下两端开有进料口和出料口,所述电机通过皮带与圆筒连接,所述圆筒安装在碎冰槽内,机架的底部设有橡胶减震垫。 In order to achieve the above purpose, the utility model adopts the following specific technical solutions: a shock-absorbing ice crusher, including a frame, the bottom of the frame is provided with a motor, and the top is provided with a feeding box, the feeding There is a crushed ice tank in the box, and the upper and lower ends of the feeding box are provided with a feed port and a discharge port. The motor is connected to the cylinder through a belt, and the cylinder is installed in the crushed ice tank. The bottom has a rubber shock absorber.
与现有的技术相比,本实用新型具有以下突出优点和效果:由于设有以上结构,该装置结构简单,安装方便,能够搅碎冰块,而且在工作的时候可以有效防止电机强烈的震荡而损坏,从而增加碎冰机的使用寿命。 Compared with the existing technology, the utility model has the following outstanding advantages and effects: due to the above structure, the device has a simple structure, is easy to install, can crush ice cubes, and can effectively prevent the motor from vibrating violently during work damage, thereby increasing the service life of the ice crusher.
附图说明 Description of drawings
图1为本实用新型的结构示意图。 Fig. 1 is the structural representation of the utility model.
下面结合附图对本实用新型作进一步的详细说明。 Below in conjunction with accompanying drawing, the utility model is described in further detail.
具体实施方式 Detailed ways
如图1所示,一种减震碎冰机,包括机架1,所述机架1的底端设有电机2,顶部设有进料箱体3,所述进料箱体3内设有碎冰槽30,进料箱体3的上下两端开有进料口31和出料口32,所述电机1通过皮带与圆筒4连接,所述圆筒4安装在碎冰槽30内,机架1的底部设有橡胶减震垫6,该装置结构简单,安装方便,能够搅碎冰块,而且在工作的时候可以有效防止电机强烈的震荡而损坏,从而增加碎冰机的使用寿命。
As shown in Figure 1, a kind of shock-absorbing ice crusher comprises
最后应说明的是:以上实施例仅用以说明本实用新型的技术方案而非限制,尽管参照较佳实施例对本实用新型进行了详细说明,本领域的普通技术人员应当理解,可以对本实用新型的技术方案进行修改或者等同替换,而不脱离本实用新型技术方案的精神和范围,其均应涵盖在本实用新型的权利要求范围当中。 Finally, it should be noted that the above embodiments are only used to illustrate the technical solutions of the present utility model without limitation. Although the utility model has been described in detail with reference to the preferred embodiments, those of ordinary skill in the art should understand that the utility model can be Modification or equivalent replacement of the technical solutions without departing from the spirit and scope of the technical solutions of the present utility model, all of which shall be covered by the scope of the claims of the present utility model.
Claims (1)
Priority Applications (1)
| Application Number | Priority Date | Filing Date | Title |
|---|---|---|---|
| CN201220217234.8U CN202581990U (en) | 2012-05-15 | 2012-05-15 | Shock-reducing ice crusher |
Applications Claiming Priority (1)
| Application Number | Priority Date | Filing Date | Title |
|---|---|---|---|
| CN201220217234.8U CN202581990U (en) | 2012-05-15 | 2012-05-15 | Shock-reducing ice crusher |
Publications (1)
| Publication Number | Publication Date |
|---|---|
| CN202581990U true CN202581990U (en) | 2012-12-05 |
Family
ID=47251393
Family Applications (1)
| Application Number | Title | Priority Date | Filing Date |
|---|---|---|---|
| CN201220217234.8U Expired - Fee Related CN202581990U (en) | 2012-05-15 | 2012-05-15 | Shock-reducing ice crusher |
Country Status (1)
| Country | Link |
|---|---|
| CN (1) | CN202581990U (en) |
Cited By (2)
| Publication number | Priority date | Publication date | Assignee | Title |
|---|---|---|---|---|
| CN106766463A (en) * | 2017-03-27 | 2017-05-31 | 江苏弗格森制冷设备有限公司 | A kind of ice crusher |
| CN113091359A (en) * | 2021-03-30 | 2021-07-09 | 广州凯美科技信息有限公司 | Aquatic product fresh-keeping ice crusher |
-
2012
- 2012-05-15 CN CN201220217234.8U patent/CN202581990U/en not_active Expired - Fee Related
Cited By (2)
| Publication number | Priority date | Publication date | Assignee | Title |
|---|---|---|---|---|
| CN106766463A (en) * | 2017-03-27 | 2017-05-31 | 江苏弗格森制冷设备有限公司 | A kind of ice crusher |
| CN113091359A (en) * | 2021-03-30 | 2021-07-09 | 广州凯美科技信息有限公司 | Aquatic product fresh-keeping ice crusher |
Similar Documents
| Publication | Publication Date | Title |
|---|---|---|
| CN206325617U (en) | A kind of lump coal breaking device of easy access | |
| CN206567030U (en) | A kind of industrial materials reducing mechanism | |
| CN204799363U (en) | Dustproof high -efficient reducing mechanism of buffering | |
| CN202581990U (en) | Shock-reducing ice crusher | |
| CN204247284U (en) | Impact breaker | |
| CN206965883U (en) | A kind of construction site material-pulverizing device | |
| CN203291900U (en) | Ash smasher | |
| CN203678475U (en) | Novel paper shredder for printing house | |
| CN205917749U (en) | Adopt husky equipment and advance feeding tube entrance with smashing shield head | |
| CN205166647U (en) | Cylinder burr -grinding machine | |
| CN206763055U (en) | A kind of noise reducing type construction waste crushing device | |
| CN205361510U (en) | Ultra -fine pulverizer | |
| CN201815348U (en) | Crusher | |
| CN202506449U (en) | Frequency conversion pulverizer | |
| CN202845128U (en) | Aquatic plant grinding and extruding device | |
| CN206661385U (en) | A kind of environmentally friendly grinding device for building | |
| CN202570262U (en) | Deflector for impact crusher | |
| CN204957622U (en) | Novel quick automatic feed device | |
| CN203111889U (en) | Classifying trash can | |
| CN202570263U (en) | Deflector for impact crushers | |
| CN204362913U (en) | A kind of rubbing device of straw rubber | |
| CN202570319U (en) | Impact plate device of impact crusher | |
| CN203044323U (en) | Novel vibrating screen | |
| CN204429419U (en) | Sandstone pulverizer | |
| CN204816811U (en) | Timber rubbing crusher |
Legal Events
| Date | Code | Title | Description |
|---|---|---|---|
| C14 | Grant of patent or utility model | ||
| GR01 | Patent grant | ||
| CF01 | Termination of patent right due to non-payment of annual fee |
Granted publication date: 20121205 Termination date: 20150515 |
|
| EXPY | Termination of patent right or utility model |
