CN202514337U - Capsule strain forming machine - Google Patents
Capsule strain forming machine Download PDFInfo
- Publication number
- CN202514337U CN202514337U CN2012201853116U CN201220185311U CN202514337U CN 202514337 U CN202514337 U CN 202514337U CN 2012201853116 U CN2012201853116 U CN 2012201853116U CN 201220185311 U CN201220185311 U CN 201220185311U CN 202514337 U CN202514337 U CN 202514337U
- Authority
- CN
- China
- Prior art keywords
- frame
- guide rail
- capsule
- forming machine
- fixed
- Prior art date
- Legal status (The legal status is an assumption and is not a legal conclusion. Google has not performed a legal analysis and makes no representation as to the accuracy of the status listed.)
- Expired - Lifetime
Links
Images
Classifications
-
- Y—GENERAL TAGGING OF NEW TECHNOLOGICAL DEVELOPMENTS; GENERAL TAGGING OF CROSS-SECTIONAL TECHNOLOGIES SPANNING OVER SEVERAL SECTIONS OF THE IPC; TECHNICAL SUBJECTS COVERED BY FORMER USPC CROSS-REFERENCE ART COLLECTIONS [XRACs] AND DIGESTS
- Y02—TECHNOLOGIES OR APPLICATIONS FOR MITIGATION OR ADAPTATION AGAINST CLIMATE CHANGE
- Y02A—TECHNOLOGIES FOR ADAPTATION TO CLIMATE CHANGE
- Y02A40/00—Adaptation technologies in agriculture, forestry, livestock or agroalimentary production
- Y02A40/80—Adaptation technologies in agriculture, forestry, livestock or agroalimentary production in fisheries management
- Y02A40/81—Aquaculture, e.g. of fish
Landscapes
- Apparatus Associated With Microorganisms And Enzymes (AREA)
Abstract
一种胶囊菌种成型机,包括机架、使胶囊菌种成型的上模板和下模板,下模板置于机架上端面,其中机架上滑动连接有导轨,导轨纵向穿过机架顶端面,其中上模板固定在导轨的顶端,导轨的底端固定在固定板上;其中机架内设有纵向安装的气缸,气缸上的活塞杆连接在固定板上,其中机架的侧边设有定位下模板的行程开关。本实用新型结构设计合理,可自动完成对胶囊菌种的压铸成型,不仅提高了胶囊菌种的生产效率和产品质量,而且节省人力,减少了对人力费用的投入,有利于广泛使用。
A capsule strain forming machine, comprising a frame, an upper template and a lower template for forming capsule strains, the lower template is placed on the upper end surface of the frame, wherein a guide rail is slidably connected to the frame, and the guide rail longitudinally passes through the top surface of the frame , wherein the upper template is fixed on the top of the guide rail, and the bottom end of the guide rail is fixed on the fixed plate; the cylinder is installed longitudinally in the frame, and the piston rod on the cylinder is connected to the fixed plate, and the side of the frame is provided with Locate the limit switch of the lower template. The utility model has a reasonable structural design and can automatically complete the die-casting of the capsule strains, which not only improves the production efficiency and product quality of the capsule strains, but also saves manpower and reduces the investment in manpower costs, which is beneficial to wide use.
Description
技术领域 technical field
本实用新型涉及一种食用菌菌种生产设备,尤其是一种胶囊菌种成型机。 The utility model relates to an edible fungus strain production equipment, in particular to a capsule strain molding machine. the
背景技术 Background technique
胶囊菌种就像胶囊一样,一颗颗压在峰窝板上,透气盖与菌种直接粘连,每张有600颗500颗、400颗不等,设计科学,标准规范,运输、贮藏和接种都非常方便。然而在胶囊菌种制作过程中需要将菌种压成胶囊形状,因此需要大量的人力来完成,非常的费时费力。 Capsule strains are like capsules, one by one is pressed on the nest plate, and the ventilated cover is directly adhered to the strains, each sheet has 600, 500, 400, scientific design, standard specification, transportation, storage and inoculation All very convenient. However, in the process of making capsule strains, the strains need to be pressed into a capsule shape, which requires a lot of manpower to complete, which is very time-consuming and labor-intensive. the
发明内容 Contents of the invention
本实用新型要解决上述现有技术的缺点,提供一种胶囊菌种成型机,可自动完成将菌种压成胶囊状,提高了胶囊菌种生产的效率。 The utility model aims to solve the above-mentioned shortcomings of the prior art, and provides a capsule strain forming machine, which can automatically press the strain into a capsule shape, and improves the production efficiency of the capsule strain. the
本实用新型解决其技术问题采用的技术方案:这种胶囊菌种成型机,包括机架、使胶囊菌种成型的上模板和下模板,下模板置于机架上端面,其中机架上滑动连接有导轨,导轨纵向穿过机架顶端面,其中上模板固定在导轨的顶端,导轨的底端固定在固定板上;其中机架内设有纵向安装的气缸,气缸上的活塞杆连接在固定板上,其中机架的侧边设有定位下模板的行程开关。该机构中的下模板存放经过粉碎的固体菌种的蜂窝板,上模板通过气缸实现自动下压,自动完成对胶囊菌种的压铸成型的工序。 The technical solution adopted by the utility model to solve its technical problems: this capsule strain forming machine includes a frame, an upper template and a lower template for forming the capsule strain, and the lower template is placed on the upper end surface of the frame, wherein the frame slides There are guide rails connected, and the guide rails pass through the top surface of the frame longitudinally, wherein the upper template is fixed on the top of the guide rails, and the bottom end of the guide rails is fixed on the fixed plate; there is a longitudinally installed cylinder in the frame, and the piston rod on the cylinder is connected to the On the fixed plate, the side of the frame is provided with a travel switch for positioning the lower formwork. The lower template in the mechanism stores the crushed honeycomb plate of solid bacteria, and the upper mold is automatically pressed down through the cylinder to automatically complete the process of die-casting the capsule bacteria. the
为了进一步完善,下模板上设有多组用于菌种成型的槽体,其中上模板的下端面设有与槽体相匹配的柱状压块。下模板上设有多组使菌种成型的槽体,通过柱状压块压铸成型,一次性完成成型工序,提高胶囊菌种成型的生产效率。 In order to further improve, the lower formwork is provided with several sets of grooves for strain forming, and the lower end surface of the upper formwork is provided with columnar pressing blocks matching the grooves. The lower template is provided with multiple sets of grooves for forming the bacteria, which are formed by die-casting of columnar briquetting blocks, and the forming process is completed at one time, thereby improving the production efficiency of the capsule bacteria forming. the
导轨有四根,分别固定在上模板的四个角上。这样使上模板下压时受力平衡,使成型后的胶囊菌种表面平整。 There are four guide rails, which are respectively fixed on the four corners of the upper template. This makes the force balance when the upper template is pressed down, so that the surface of the molded capsule bacteria is smooth. the
机架的底部设有轮子。这样可便于移动机架。 The bottom of the rack has wheels. This makes it easier to move the rack. the
本实用新型有益的效果是:本实用新型结构设计合理,可自动完成对胶囊菌种的压铸成型,不仅提高了胶囊菌种的生产效率和产品质量,而且节省人力,减少了对人力费用的投入,有利于广泛使用。 The beneficial effects of the utility model are: the utility model has a reasonable structural design and can automatically complete the die-casting of the capsule strains, which not only improves the production efficiency and product quality of the capsule strains, but also saves manpower and reduces the investment in manpower costs , which is conducive to widespread use. the
附图说明 Description of drawings
图1为本实用新型正面的结构示意图; Fig. 1 is the structural representation of the front of the utility model;
图2为本实用新型侧面的结构示意图; Fig. 2 is the structural representation of the side of the utility model;
图3为本实用新型的俯视图; Fig. 3 is the top view of the utility model;
图4为本实用新型中下模板底部的结构示意图。 Fig. 4 is a structural schematic diagram of the bottom of the middle and lower formwork of the present invention.
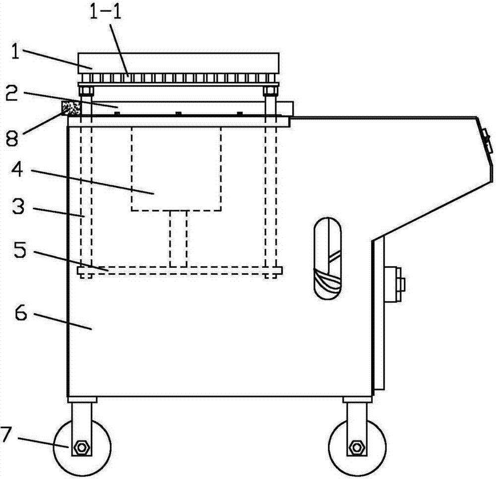
附图标记说明:上模板1,柱状压块1-1,下模板2,槽体2-1,导轨3,气缸4,固定板5,机架6,轮子7,行程开关8。
Explanation of reference signs:
具体实施方式 Detailed ways
下面结合附图对本实用新型作进一步说明: Below in conjunction with accompanying drawing, the utility model is further described:
参照附图:这种胶囊菌种成型机,包括机架6、使胶囊菌种成型的上模板1和下模板2,下模板2置于机架6上端面,其中机架6上滑动连接有导轨3,导轨3纵向穿过机架6顶端面,其中上模板1固定在导轨3的顶端,导轨3的底端固定在固定板5上;其中机架1内设有纵向安装的气缸4,气缸4上的活塞杆连接在固定板5上,其中机架6的侧边设有定位下模板2的行程开关8。下模板2上设有多组用于菌种成型的槽体2-1,其中上模板1的下端面设有与槽体2-1相匹配的柱状压块1-1。导轨3有四根,分别固定在上模板1的四个角上。机架6的底部设有轮子7。
With reference to accompanying drawing: this capsule strain forming machine comprises
其中下模板2存放有经过粉碎的固体菌种的蜂窝板,在上模板1上安放一张经过压迹切线机切割的泡沫盖。下模板2从机架6上端面水平推进,当下模板2推到固定位置时(即下模板2与上模板1的位置相对应),下模板2前端接触到行程开关8,然后气缸4开始向下推动固定板5,固定板5通过导轨3带动机架6上方的上模板1向下移动,上模板1下压过程中把泡沫盖平稳的压到塑料峰窝板上,盖住菌种,上模板1下行到位后使用延时,使成型上模板停留数秒时间后自动上升,胶囊菌种成型工艺结束。
Wherein the
本实用新型结构设计合理,采用气缸4推动固定板5上下滑动,固定板5通过导轨3带动机架6上方的上模板1上下移动,下模板2在机架6台面水平推进时,前端接触到行程开关8,行程开关8控制气缸4,气缸4开始下压推动固定板5,自动完成对胶囊菌种的压铸成型。不仅提高了胶囊菌种的生产效率和产品质量,而且节省人力,减少了对人力费用的投入,有利于广泛使用。
The utility model has a reasonable structural design. The
虽然本实用新型已通过参考优选的实施例进行了图示和描述,但是,本专业普通技术人员应当了解,在权利要求书的范围内,可作形式和细节上的各种各样变化。 Although the present invention has been illustrated and described with reference to preferred embodiments, it will be understood by those skilled in the art that various changes in form and details may be made within the scope of the claims.
Claims (4)
Priority Applications (1)
| Application Number | Priority Date | Filing Date | Title |
|---|---|---|---|
| CN2012201853116U CN202514337U (en) | 2012-04-27 | 2012-04-27 | Capsule strain forming machine |
Applications Claiming Priority (1)
| Application Number | Priority Date | Filing Date | Title |
|---|---|---|---|
| CN2012201853116U CN202514337U (en) | 2012-04-27 | 2012-04-27 | Capsule strain forming machine |
Publications (1)
| Publication Number | Publication Date |
|---|---|
| CN202514337U true CN202514337U (en) | 2012-11-07 |
Family
ID=47097321
Family Applications (1)
| Application Number | Title | Priority Date | Filing Date |
|---|---|---|---|
| CN2012201853116U Expired - Lifetime CN202514337U (en) | 2012-04-27 | 2012-04-27 | Capsule strain forming machine |
Country Status (1)
| Country | Link |
|---|---|
| CN (1) | CN202514337U (en) |
Cited By (3)
| Publication number | Priority date | Publication date | Assignee | Title |
|---|---|---|---|---|
| CN103947458A (en) * | 2014-05-12 | 2014-07-30 | 泰州市臻神食用菌专业合作社 | Capsule strain forming machine |
| CN104067855A (en) * | 2014-06-24 | 2014-10-01 | 泰州职业技术学院 | Spawn capsule forming machine |
| CN104067852A (en) * | 2014-05-23 | 2014-10-01 | 无锡商业职业技术学院 | Capsule strain packing device |
-
2012
- 2012-04-27 CN CN2012201853116U patent/CN202514337U/en not_active Expired - Lifetime
Cited By (3)
| Publication number | Priority date | Publication date | Assignee | Title |
|---|---|---|---|---|
| CN103947458A (en) * | 2014-05-12 | 2014-07-30 | 泰州市臻神食用菌专业合作社 | Capsule strain forming machine |
| CN104067852A (en) * | 2014-05-23 | 2014-10-01 | 无锡商业职业技术学院 | Capsule strain packing device |
| CN104067855A (en) * | 2014-06-24 | 2014-10-01 | 泰州职业技术学院 | Spawn capsule forming machine |
Similar Documents
| Publication | Publication Date | Title |
|---|---|---|
| CN202514337U (en) | Capsule strain forming machine | |
| CN107978799A (en) | A high-efficiency lithium-ion battery folding and ironing device | |
| CN202448364U (en) | Pressing forming machine | |
| CN202922829U (en) | Mold device for producing auto rubber parts | |
| CN202222359U (en) | Tea leaf compressing forming equipment | |
| CN203061703U (en) | V-shaped bending die | |
| CN218873612U (en) | Demoulding device of hot die forging hydraulic press | |
| CN202428346U (en) | Grinding wheel compression molding machine | |
| CN203831684U (en) | Laminated mold of toilet cover | |
| CN202098066U (en) | Forming molds and forming machines | |
| CN202725769U (en) | Automatic die-pressing die-cutting machine | |
| CN205967064U (en) | Punching machine of circulated punching press | |
| CN202316930U (en) | Flat-pushing resin sand modeling box jacking device | |
| CN212042566U (en) | Four-station horizontal static pressure flask-separating molding machine | |
| CN102848593A (en) | Forming machine for manually machining components and parts | |
| CN210231220U (en) | Unilateral bending die | |
| CN203125831U (en) | Die specially used for rear molding and foaming polyphenyl interlayer composite heat preservation building block | |
| CN201195341Y (en) | Compression moulding forming apparatus for hollow thermal insulation material product | |
| CN102744948B (en) | Mould and forming machine thereof | |
| CN201587091U (en) | Novel stack mold support mechanism | |
| CN205058472U (en) | Alternative formula injection molding machine | |
| CN202357608U (en) | One-step molding multi-piece pressing machine with I-type wheel disc and tray for hot mould pressing of wastes of bamboos, wood and straws | |
| CN203314072U (en) | Pressing machine for making pet food | |
| CN205341656U (en) | Pipe fitting shaping compound mould that punches a hole | |
| CN201684824U (en) | Sheet material semi-automatic forming machine |
Legal Events
| Date | Code | Title | Description |
|---|---|---|---|
| C14 | Grant of patent or utility model | ||
| GR01 | Patent grant | ||
| CX01 | Expiry of patent term |
Granted publication date: 20121107 |
|
| CX01 | Expiry of patent term |
