CN202494836U - Eyeglasses with detachable eyeglass arms - Google Patents

Eyeglasses with detachable eyeglass arms Download PDF

Info

Publication number
CN202494836U
CN202494836U CN2012201028284U CN201220102828U CN202494836U CN 202494836 U CN202494836 U CN 202494836U CN 2012201028284 U CN2012201028284 U CN 2012201028284U CN 201220102828 U CN201220102828 U CN 201220102828U CN 202494836 U CN202494836 U CN 202494836U
Authority
CN
China
Prior art keywords
handel
fixture block
detachable
fastener
glasses
Prior art date
Legal status (The legal status is an assumption and is not a legal conclusion. Google has not performed a legal analysis and makes no representation as to the accuracy of the status listed.)
Expired - Fee Related
Application number
CN2012201028284U
Other languages
Chinese (zh)
Inventor
徐志宏
Current Assignee (The listed assignees may be inaccurate. Google has not performed a legal analysis and makes no representation or warranty as to the accuracy of the list.)
GUANGZHOU YIWEISHENG OPTICS CO., LTD.
Original Assignee
GUANGZHOU CITY HONGHAI OPTICAL CO Ltd
Priority date (The priority date is an assumption and is not a legal conclusion. Google has not performed a legal analysis and makes no representation as to the accuracy of the date listed.)
Filing date
Publication date
Application filed by GUANGZHOU CITY HONGHAI OPTICAL CO Ltd filed Critical GUANGZHOU CITY HONGHAI OPTICAL CO Ltd
Priority to CN2012201028284U priority Critical patent/CN202494836U/en
Application granted granted Critical
Publication of CN202494836U publication Critical patent/CN202494836U/en
Anticipated expiration legal-status Critical
Expired - Fee Related legal-status Critical Current

Links

Images

Landscapes

  • Eyeglasses (AREA)

Abstract

The utility model discloses a pair of eyeglasses with detachable eyeglass arms. The pair of eyeglasses with the detachable eyeglass arms is characterized in that the pair of eyeglasses with the detachable eyeglass arms comprises an eyeglass bracket body, the eyeglass arms and fasteners; the rotating ends of the fasteners are pivoted with the tail ends of the eyeglass bracket body; blocking grooves are arranged at the front end parts of the eyeglass arms; the free ends of the fasteners are clamped with the blocking grooves of the eyeglass arms; lug bosses which are extended along the length direction of the eyeglass arms are arranged at the outer sides of the blocking grooves; and stop dogs which are matched with the lug bosses are arranged at the outer sides of the tail ends of the eyeglass bracket body; the eyeglass arms of the pair of glasses are convenient to install, simple to dismantle and accurate and stable in positioning; and the pair of eyeglasses has the advantages of being simple in structure, convenient to use and durable.

Description

The glasses of detachable handel
Technical field
The utility model relates to a kind of glasses, is specifically related to a kind of glasses of detachable handel.
Background technology
Glasses are to correct defects of vision or to protect eyes and the optical device made, also to have the function as the beauty decoration article simultaneously.Modern general eyeglass of glasses and mirror holder are formed, and mirror holder comprises mirror holder body and two rotating handels, and be on-dismountable between handel and the mirror holder body, during use opens handel, when not using folds handel.The mirror holder body generally can be designed to arc shape in order more to cooperate the shape of face of human body, makes glasses deposit, take when carrying bigger space; In addition, when folding, wherein a handel can be positioned at the below, and another handel is positioned at the top, if things go on like this can cause two handel height inconsistent, makes the wearer not feel well, and needs often glasses to be carried out adjustment, for use is made troubles.
The patent No. is the glasses that the utility model patent of ZL03222903.8 discloses a kind of detachable handel; Utilize the card post of handel to cooperate and realize removably connecting, and on handel and mirror holder body, respectively salient point is set and shrinkage pool positions with the hole clipping of mirror holder body.This utility model patent has been realized the function of detachable handel, be the depositing, carry and saved the space of glasses, but it can all cause wearing and tearing to salient point when the installation or removal handel; After long-time the use; Can cause handel location inaccurate, even fixing handel, for the wearer makes troubles.
The utility model content
To the deficiency of above-mentioned prior art, the technical matters that the utility model will solve provides a kind of installation, convenient disassembly, the glasses of the detachable handel that location structure is not easy to wear and tear.
For solving the problems of the technologies described above, the technical scheme that the utility model adopts is that a kind of glasses of detachable handel comprise mirror holder body, handel and fastener; The rotation end of fastener and the end of mirror holder body articulate; The leading section of handel is provided with draw-in groove, the draw-in groove clamping of the free end of fastener and handel; The outside of draw-in groove is provided with the projection that extends along the handel length direction, and the terminal outside of mirror holder body is provided with the block with this projection coupling.When wearing, the projection on the handel cooperates with block on the mirror holder body, carries out spacing to the open angle of handel; And when the dismounting handel; Firmly break handel outward off with the fingers and thumb, this moment, the rotating shaft of handel moved on the end face of projection again, and the rotating shaft of fastener is still rotated on the end at it; Make to misplace between the rotation of rotation and fastener of handel, thereby let handel no longer engage with fastener.Such structure makes and realizes removably connecting between handel and the mirror holder body that handel can not come off when wearing, and can not impact use; Simple to operate during dismounting, the convenient use.
A kind of preferred as the utility model, the free end of said fastener comprises fixture block, time fixture block; There is the gap between last fixture block and the following fixture block.This interface arrangment is easy for installation, realizes easily.
Further technical scheme does, the upper surface of said upward fixture block front end, the lower surface of following fixture block front end are inclined-plane or cambered surface.Such design makes the installation of fastener and handel more convenient.
Further technical scheme does, the back surface of the back surface of last fixture block, following fixture block is the inclined-plane of inclination angle less than 45 degree.When such structure made dismounting, the wearing and tearing between last fixture block, following fixture block and the handel reduced, and guaranteed that again the handel installation can not directly be extracted, and improved durability.
A kind of preferred as the utility model, the outside, said fastener middle part is provided with locating convex block, and the upper surface of handel has the last slotted eye with last fixture block form fit, and lower surface has and the following slotted eye of following fixture block form fit.Directly go out to be fit to relatively difficulty of draw-in groove that buckle uses in the handel machined, such structure, only need open at the handel front end groove of a rectangular parallelepiped, upper and lower side offer slotted eye lets fixture block, fixture block is fixing down gets final product, process simply; Locating convex block makes handel fixing more firm.
In sum, the glasses of the detachable handel of the utility model, handel is easy for installation, dismounting is simple, and handel accurate positioning, firm has simple in structure, easy to use, durable advantage.
Description of drawings
Fig. 1 is the structural representation of first kind of embodiment of glasses of the detachable handel of the utility model.
Fig. 2 is that the A of Fig. 1 is to synoptic diagram.
Fig. 3 is the structural representation of second kind of embodiment of glasses of the detachable handel of the utility model.
Fig. 4 is handel and the fastener synoptic diagram of the third embodiment of glasses of the detachable handel of the utility model.
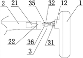
Wherein, 1, mirror holder body; 12, block; 2, handel; 21, draw-in groove; 22, projection; 23, following slotted eye; 3, fastener; 31, rotate end; 32, free end; 33, go up fixture block; 34, following fixture block; 35, go up fixture block; 36, following fixture block; 37, locating convex block.
Embodiment
As shown in Figure 1, first kind of embodiment of the glasses of the detachable handel of the utility model comprises mirror holder body 1, handel 2 and fastener 3.The rotation end 31 of fastener 3 articulates with the end of mirror holder body 1; The leading section of handel 2 is provided with draw-in groove 21, the free end 32 of fastener 3 and draw-in groove 21 clampings of handel 2; The outside of draw-in groove 21 is provided with the projection 22 that extends along handel 2 length directions, and the terminal outside of mirror holder body 1 is provided with the block 12 with this projection 22 couplings.The free end 32 of fastener 3 comprises fixture block 33 and following fixture block 34, has the gap between last fixture block 33 and the following fixture block 34.During use, clamping with it in the draw-in groove 21 of the free end 32 reeve handels 2 of fastener 3, handel 2 can not directly be extracted.
Fig. 2 has showed the dismounting principle of handel 2, and the handel 2 when wearing state and the position of fastener 3 are shown in solid line among the figure, and handel 2 makes things convenient for the user to wear because projection 22 and the position-limiting action that block 12 cooperates are not easy outside rotation.When needs dismounting handel 2, the user firmly firmly outwards breaks handel 2 into two with one's hands, and it is rotating shaft that fastener 3 rotates end 31 with it; The end face that handel 2 then contacts with block 12 with projection 22 is rotating shaft; Both rotations produce dislocation, thereby make fixture block, the gap compression (in figure do not illustrate) of fixture block between wherein down, and fastener 3 no longer tightens with draw-in groove 21; Shown in dotted line among the figure, thereby make handel 2 can break away from fastener.
Shown in Figure 3 is second kind of embodiment of glasses of the detachable handel of the utility model, comprises mirror holder body 1, handel 2 and fastener 3.The rotation end 31 of fastener 3 articulates with the end of mirror holder body 1; The leading section of handel 2 is provided with draw-in groove 21, the free end 32 of fastener 3 and draw-in groove 21 clampings of handel 2; The outside of draw-in groove 21 is provided with the projection 22 that extends along handel 2 length directions, and the terminal outside of mirror holder body 1 is provided with the block 12 with this projection 22 couplings.The free end 32 of fastener 3 comprises fixture block 35 and following fixture block 36, has the gap between last fixture block 35 and the following fixture block 36.Wherein, the lower surface of the upper surface of last fixture block 35 front ends, following fixture block 36 front ends is cambered surface, and such structure is advanced in the draw-in groove 21 easier plug-in mounting of fastener 3, except cambered surface, can also realize said function with the inclined-plane.The back surface of last fixture block 35, down the back surface of fixture block 36 is the inclined-plane, and the angle of this inclined-plane and vertical direction is 25 degree, and its effect is when dismounting handel 2, and last fixture block 35, following fixture block 36 are not easy to be worn the durability of enhancing glasses; For guaranteeing that when wearing state handel 2 can not directly be extracted, the inclination angle on inclined-plane cannot be greater than 45 degree.
Shown in Figure 4 is the fastener 3 and handel 2 syndeton synoptic diagram of the third embodiment of the glasses of the detachable handel of the utility model.Present embodiment is compared with second kind of embodiment; Difference is that the outside at fastener 3 middle parts is provided with locating convex block 37; The upper surface of handel 2 has the last slotted eye (not illustrating among the figure) with last fixture block 35 form fit, and lower surface has the following slotted eye 23 with following fixture block 36 form fit.Directly going out to be fit to fastener 3 draw-in grooves that use, that have two different in width parts in the machined of handel 2 is unusual difficulty, but elder generation is at rectangular parallelepiped groove of handel 2 machined, descends the both sides grooved bore then can simple realization more above that; 37 displacements that can make fastener 3 limit the above-below direction of handel 2 better of locating convex block.
To one skilled in the art, can make other various corresponding changes and deformation, and these all changes and deformation should belong within the protection domain of the utility model claim all according to the technical scheme and the design of above description.

Claims (5)

1. the glasses of a detachable handel comprise mirror holder body, handel, it is characterized in that: also comprise fastener; The rotation end of fastener and the end of mirror holder body articulate; The leading section of handel is provided with draw-in groove, the draw-in groove clamping of the free end of fastener and handel; The outside of draw-in groove is provided with the projection that extends along the handel length direction, and the terminal outside of mirror holder body is provided with the block with this projection coupling.
2. the glasses of detachable handel according to claim 1 is characterized in that: the free end of said fastener comprises fixture block, fixture block down; There is the gap between last fixture block and the following fixture block.
3. the glasses of detachable handel according to claim 2 is characterized in that: saidly go up the upper surface of fixture block front end, the lower surface of fixture block front end is inclined-plane or cambered surface down.
4. the glasses of detachable handel according to claim 3 is characterized in that: go up the back surface of fixture block, the back surface of fixture block is the inclined-plane of inclination angle less than 45 degree down.
5. the glasses of detachable handel according to claim 2 is characterized in that: the outside, said fastener middle part is provided with locating convex block, and the upper surface of handel has the last slotted eye with last fixture block form fit, and lower surface has and the following slotted eye of following fixture block form fit.
CN2012201028284U 2012-03-16 2012-03-16 Eyeglasses with detachable eyeglass arms Expired - Fee Related CN202494836U (en)

Priority Applications (1)

Application Number Priority Date Filing Date Title
CN2012201028284U CN202494836U (en) 2012-03-16 2012-03-16 Eyeglasses with detachable eyeglass arms

Applications Claiming Priority (1)

Application Number Priority Date Filing Date Title
CN2012201028284U CN202494836U (en) 2012-03-16 2012-03-16 Eyeglasses with detachable eyeglass arms

Publications (1)

Publication Number Publication Date
CN202494836U true CN202494836U (en) 2012-10-17

Family

ID=47001059

Family Applications (1)

Application Number Title Priority Date Filing Date
CN2012201028284U Expired - Fee Related CN202494836U (en) 2012-03-16 2012-03-16 Eyeglasses with detachable eyeglass arms

Country Status (1)

Country Link
CN (1) CN202494836U (en)

Similar Documents

Publication Publication Date Title
CN205720936U (en) A magnetic connection structure for a stable spectacle frame
CN202494836U (en) Eyeglasses with detachable eyeglass arms
CN203838431U (en) Novel glasses with combined temple bendings and glasses feet
CN201740938U (en) Three-dimensional glasses
CN201965355U (en) Combined structure of glasses and auxiliary mirrors
CN201226053Y (en) Structure for randomly dismounting and mounting spectacles frame and spectacles leg
CN216210275U (en) Spectacle frame and spectacles with same
CN204331176U (en) A kind of glasses
CN203882043U (en) Magnet fixing structure of magnetic-attraction type sleeve mirror and magnetic-attraction type sleeve mirror
CN204496122U (en) A kind of glasses with pendulous device
CN202486437U (en) Glasses frame and glasses
CN202112444U (en) Tooth structure of invisible zipper
CN209496207U (en) A kind of Jing Quan of spectacle-frame changes structure
CN102793341A (en) Tooth particle structure applied in invisible slide fastener
CN203299478U (en) Detachable camera glasses
CN203133411U (en) Folding visual device
CN204374538U (en) A kind of presbyopic glasses changing focal length
CN219320593U (en) Glasses with detachable earpiece structure
CN203480136U (en) Spectacle frame with easily replaced lenses
CN205910436U (en) There are not outer glasses that show screw
CN2935876Y (en) Cap with eyeglasses
CN204065587U (en) A kind of multifunctional glasses rack
CN211857102U (en) Sunglasses with turnable lenses
CN201780412U (en) Spectacle frame
CN206161985U (en) Novel hinge structure

Legal Events

Date Code Title Description
C14 Grant of patent or utility model
GR01 Patent grant
ASS Succession or assignment of patent right

Owner name: GUANGZHOU YIWEISHENG OPTICAL CO., LTD.

Free format text: FORMER OWNER: GUANGZHOU HONGHAI OPTICAL PRODUCTS CO., LTD.

Effective date: 20121213

C41 Transfer of patent application or patent right or utility model
COR Change of bibliographic data

Free format text: CORRECT: ADDRESS; FROM: 510475 GUANGZHOU, GUANGDONG PROVINCE TO: 510000 GUANGZHOU, GUANGDONG PROVINCE

TR01 Transfer of patent right

Effective date of registration: 20121213

Address after: 510000, No. 17, No. 2, Daphne Road, Xinhua Industrial Zone, Huadu District, Guangdong, Guangzhou

Patentee after: GUANGZHOU YIWEISHENG OPTICS CO., LTD.

Address before: 510475, A3, building 88, village center, man Town, Baiyun District, Guangdong, Guangzhou

Patentee before: Guangzhou City Honghai Optical Co., Ltd.

CF01 Termination of patent right due to non-payment of annual fee
CF01 Termination of patent right due to non-payment of annual fee

Granted publication date: 20121017

Termination date: 20160316