CN202492944U - 菱镁板墙体 - Google Patents
菱镁板墙体 Download PDFInfo
- Publication number
- CN202492944U CN202492944U CN2012200215211U CN201220021521U CN202492944U CN 202492944 U CN202492944 U CN 202492944U CN 2012200215211 U CN2012200215211 U CN 2012200215211U CN 201220021521 U CN201220021521 U CN 201220021521U CN 202492944 U CN202492944 U CN 202492944U
- Authority
- CN
- China
- Prior art keywords
- wall
- magnesium
- oxide plate
- magnesite
- oxide
- Prior art date
- Legal status (The legal status is an assumption and is not a legal conclusion. Google has not performed a legal analysis and makes no representation as to the accuracy of the status listed.)
- Expired - Fee Related
Links
- 229960000869 magnesium oxide Drugs 0.000 title abstract 8
- CPLXHLVBOLITMK-UHFFFAOYSA-N magnesium oxide Inorganic materials [Mg]=O CPLXHLVBOLITMK-UHFFFAOYSA-N 0.000 title abstract 8
- 235000012245 magnesium oxide Nutrition 0.000 title abstract 8
- 239000000395 magnesium oxide Substances 0.000 title abstract 8
- AXZKOIWUVFPNLO-UHFFFAOYSA-N magnesium;oxygen(2-) Chemical compound [O-2].[Mg+2] AXZKOIWUVFPNLO-UHFFFAOYSA-N 0.000 title abstract 8
- 238000009413 insulation Methods 0.000 claims abstract description 11
- ZLNQQNXFFQJAID-UHFFFAOYSA-L magnesium carbonate Chemical compound [Mg+2].[O-]C([O-])=O ZLNQQNXFFQJAID-UHFFFAOYSA-L 0.000 claims description 23
- 229910000021 magnesium carbonate Inorganic materials 0.000 claims description 23
- 235000014380 magnesium carbonate Nutrition 0.000 claims description 23
- 239000001095 magnesium carbonate Substances 0.000 claims description 23
- 239000000463 material Substances 0.000 claims description 5
- 230000002265 prevention Effects 0.000 abstract description 3
- 238000010276 construction Methods 0.000 abstract description 2
- 231100000956 nontoxicity Toxicity 0.000 abstract 1
- 238000004321 preservation Methods 0.000 abstract 1
- 238000007789 sealing Methods 0.000 abstract 1
- XEEYBQQBJWHFJM-UHFFFAOYSA-N Iron Chemical compound [Fe] XEEYBQQBJWHFJM-UHFFFAOYSA-N 0.000 description 2
- 238000005516 engineering process Methods 0.000 description 2
- 229910000831 Steel Inorganic materials 0.000 description 1
- 206010042496 Sunburn Diseases 0.000 description 1
- 230000000694 effects Effects 0.000 description 1
- 239000006260 foam Substances 0.000 description 1
- 229910052742 iron Inorganic materials 0.000 description 1
- 238000004519 manufacturing process Methods 0.000 description 1
- 231100000252 nontoxic Toxicity 0.000 description 1
- 230000003000 nontoxic effect Effects 0.000 description 1
- 229920003023 plastic Polymers 0.000 description 1
- 239000004033 plastic Substances 0.000 description 1
- 230000035939 shock Effects 0.000 description 1
- 239000010959 steel Substances 0.000 description 1
- 230000009967 tasteless effect Effects 0.000 description 1
Images
Landscapes
- Building Environments (AREA)
Abstract
本实用新型涉及一种菱镁板做材料制作的墙体。菱镁板墙体,由内、外两块菱镁板相对固定设置形成墙体板材,多个墙体板材连接构成墙体。本实用新型采用新型菱镁板,具有保温、隔热、防火、防潮、高强度、抗冲击不变形、无毒、无味、密封性好、经济耐久、施工方便的特点。此外,通过工字扣件的连接固定,可使房屋墙体承受更大载荷。
Description
技术领域
本实用新型涉及一种菱镁板做材料制作的墙体。
背景技术
目前,工厂厂房多使用彩钢作为主要墙体或房顶结构,墙体仅有一层铁皮夹塑料硬泡沫。这样技术既轻又薄,在夏季很容易被阳光晒烫,从而使整个厂房温度升高,冬天厂房里的温度几乎与外界相同,几乎起不到保温隔热的作用。在工作车间的工人夏天感到十分闷热,冬天感到寒冷刺骨。
现在,已经有些厂家开始生产菱镁板,这种板材保温、隔热、防火、防潮、高强度等优点。但是,采用菱镁板作为墙体的还没有,主要原因是菱镁板单薄,容易倾斜。还有菱镁板硬度大,多块菱镁板拼接难度大。这样就限制了使用范围,只能用于较小的房屋。
发明内容
本实用新型就是针对上述问题提供一种能够有效隔热的菱镁板墙体,并且能将多块菱镁板拼接起来,结构简单,便于生产制作。
本实用新型提供的技术方案是:
菱镁板墙体,由内、外两块菱镁板相对固定设置形成墙体板材,多个墙体板材连接构成墙体。
具体的,相邻墙体板材之间通过工字扣件连接。
优选的,墙体板材通过螺栓、螺母固定在工字扣件上。
内外两块菱镁板之间还设置有保温层。
本实用新型采用新型菱镁板,具有保温、隔热、防火、防潮、高强度、抗冲击不变形、无毒、无味、密封性好、经济耐久、施工方便的特点。此外,通过工字扣件的连接固定,可使房屋墙体承受更大载荷。
附图说明
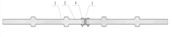
图1是本实用新型的结构示意图。
1工字扣件 2保温层 3菱镁板 4螺栓。
具体实施方式
菱镁板墙体,由内、外两块菱镁板相对固定设置形成墙体板材,内外两块菱镁板之间还设置有保温层。多个墙体板材连接构成墙体。
相邻墙体板材之间通过工字扣件连接。墙体板材通过螺栓、螺母固定在工字扣件上。
本实用新型获得的墙体,能够有效保温,还能够大范围使用,解决了原来仅建造小型房屋的问题。
Claims (4)
1.菱镁板墙体,其特征在于,由内、外两块菱镁板相对固定设置形成墙体板材,多个墙体板材连接构成墙体。
2.根据权利要求1所述菱镁板墙体,其特征在于,相邻墙体板材之间通过工字扣件连接。
3.根据权利要求2所述菱镁板墙体,其特征在于,墙体板材通过螺栓、螺母固定在工字扣件上。
4.根据权利要求1所述菱镁板墙体,其特征在于,内外两块菱镁板之间还设置有保温层。
Priority Applications (1)
| Application Number | Priority Date | Filing Date | Title |
|---|---|---|---|
| CN2012200215211U CN202492944U (zh) | 2012-01-18 | 2012-01-18 | 菱镁板墙体 |
Applications Claiming Priority (1)
| Application Number | Priority Date | Filing Date | Title |
|---|---|---|---|
| CN2012200215211U CN202492944U (zh) | 2012-01-18 | 2012-01-18 | 菱镁板墙体 |
Publications (1)
| Publication Number | Publication Date |
|---|---|
| CN202492944U true CN202492944U (zh) | 2012-10-17 |
Family
ID=46999179
Family Applications (1)
| Application Number | Title | Priority Date | Filing Date |
|---|---|---|---|
| CN2012200215211U Expired - Fee Related CN202492944U (zh) | 2012-01-18 | 2012-01-18 | 菱镁板墙体 |
Country Status (1)
| Country | Link |
|---|---|
| CN (1) | CN202492944U (zh) |
-
2012
- 2012-01-18 CN CN2012200215211U patent/CN202492944U/zh not_active Expired - Fee Related
Similar Documents
| Publication | Publication Date | Title |
|---|---|---|
| CN203347052U (zh) | 一种建筑用双侧保温墙 | |
| CN202492944U (zh) | 菱镁板墙体 | |
| CN204252371U (zh) | 一种消能减震砌块 | |
| CN104231499A (zh) | 一种建筑用隔热防水材料 | |
| CN202492955U (zh) | 菱镁板屋顶 | |
| CN203308008U (zh) | 平面型屋面伸缩缝建筑构件 | |
| CN104153520A (zh) | 双层空心等腰梯形的多功能树脂屋盖板 | |
| CN203307941U (zh) | 平面型屋面沉降缝建筑构件 | |
| CN203977590U (zh) | 内置保温混凝土结构变形缝构造 | |
| CN203905190U (zh) | 发泡陶瓷复合保温板及其组合体 | |
| CN203475626U (zh) | 一种建筑用轻质保温隔热复合板 | |
| CN205134719U (zh) | 冷弯型钢复合房屋墙板 | |
| CN202810088U (zh) | 一种外墙装饰金属板接口构造 | |
| CN102787662A (zh) | 一种新型阻燃隔热材料 | |
| WO2011105696A3 (ko) | 높은 열 흡수 능력과 낮은 수분 흡수 능력을 갖는 냉각제 조성물 | |
| CN200996187Y (zh) | 一种塑坚板 | |
| CN205259373U (zh) | 一种屋面保温板 | |
| CN203393920U (zh) | 夹芯板屋面檐口构造 | |
| CN103483947A (zh) | 建筑用隔热防水材料 | |
| CN203022135U (zh) | 转角墙体变形缝 | |
| CN201857688U (zh) | 组合式可充气砖 | |
| CN203531301U (zh) | 带倒角陶瓷隔热板 | |
| CN202370202U (zh) | Pvc面聚氨酯复合夹芯板 | |
| CN102787671A (zh) | 一种建筑用阻燃材料 | |
| CN205024974U (zh) | 一种咬式屋面复合板 |
Legal Events
| Date | Code | Title | Description |
|---|---|---|---|
| C14 | Grant of patent or utility model | ||
| GR01 | Patent grant | ||
| CF01 | Termination of patent right due to non-payment of annual fee |
Granted publication date: 20121017 Termination date: 20150118 |
|
| EXPY | Termination of patent right or utility model |