CN202490660U - 可防止误动作的碎枝机 - Google Patents

可防止误动作的碎枝机 Download PDF

Info

Publication number
CN202490660U
CN202490660U CN2012200083956U CN201220008395U CN202490660U CN 202490660 U CN202490660 U CN 202490660U CN 2012200083956 U CN2012200083956 U CN 2012200083956U CN 201220008395 U CN201220008395 U CN 201220008395U CN 202490660 U CN202490660 U CN 202490660U
Authority
CN
China
Prior art keywords
switch
fixed
hopper assembly
gasoline engine
base plate
Prior art date
Legal status (The legal status is an assumption and is not a legal conclusion. Google has not performed a legal analysis and makes no representation as to the accuracy of the status listed.)
Expired - Fee Related
Application number
CN2012200083956U
Other languages
English (en)
Inventor
颜志江
Current Assignee (The listed assignees may be inaccurate. Google has not performed a legal analysis and makes no representation or warranty as to the accuracy of the list.)
ZHEJIANG CHIJIANG INDUSTRY TRADE Co Ltd
Original Assignee
ZHEJIANG CHIJIANG INDUSTRY TRADE Co Ltd
Priority date (The priority date is an assumption and is not a legal conclusion. Google has not performed a legal analysis and makes no representation as to the accuracy of the date listed.)
Filing date
Publication date
Application filed by ZHEJIANG CHIJIANG INDUSTRY TRADE Co Ltd filed Critical ZHEJIANG CHIJIANG INDUSTRY TRADE Co Ltd
Priority to CN2012200083956U priority Critical patent/CN202490660U/zh
Application granted granted Critical
Publication of CN202490660U publication Critical patent/CN202490660U/zh
Anticipated expiration legal-status Critical
Expired - Fee Related legal-status Critical Current

Links

Images

Landscapes

  • Crushing And Pulverization Processes (AREA)

Abstract

本实用新型公开了一种可防止误动作的碎枝机,包括汽油机(1)、动力底板(2)、左右挡板(3)、机架(4)、滚轮(5)、进料斗组件(6)、前盖板(7),汽油机(1)固定在动力底板(2)上,动力底板(2)固定在机架(4)上,滚轮(5)设置在机架(4)底部的一侧,进料斗组件(6)固定在动力底板(2)上,所述的动力底板(2)上固定有开关盒(13),开关盒(13)内设有强制开关(12),进料斗组件(6)的底座上设有插片连接座(9),插片连接座(9)上固定有开关插片(11),开关插片(11)插入开关盒(13)内并与强制开关(12)的按钮相配合;所述强制开关(12)的一组常开触点串联在汽油机(1)的主控回路上。采用本结构后,具有结构简单紧凑、工作安全可靠、碎枝效果好、粉碎效率高等优点。

Description

可防止误动作的碎枝机
技术领域
本实用新型涉及一种农林业碎枝机械,特别是一种用来粉碎枝叶茎杆的碎枝机。
背景技术
碎枝机是一种用来粉碎枝叶茎杆的农林机械,广泛应用于农业、林业、畜牧业以及园林等枝叶茎杆的粉碎,深受广大农业种植大户、林业大户、牧场、园林等个人或单位的喜欢。粉碎后枝叶茎杆不仅易于腐烂,可作为有机肥料回用,粉碎后的草料更有利于牧民储存,而且可有效减少放火焚烧枝叶茎杆的现象,可大大减少烟尘对周围环境的污染,有利于人身健康和生态平衡。目前碎枝机在使用过程中主要存在以下不足:由于碎枝机在加工树木的细枝杆和树叶、植物的茎杆、草料时,操作不当就会出现堵塞卡盘现象,安全意识较差的操作者就会在不停机的情况下去拆卸进料斗,当堵塞卡盘现象消除后,进料斗内的刀片就会快速旋转,导致枝叶茎杆飞溅造成对操作者伤害,或者快速旋转的刀片直接对操作者造成严重伤害。为此,许多生产厂家和有识之士针对上述问题进行开发和研究,但至今尚未找到较合理的解决方法。    
发明内容
为克服现有碎枝机存在的上述不足,本实用新型的目的是提供一种结构简单紧凑、碎枝效果好、粉碎效率高、工作安全可靠的可防止误动作的碎枝机。
本实用新型解决上述技术问题所采用的技术方案,它包括汽油机、动力底板、左右挡板、机架、滚轮、进料斗组件、前盖板,汽油机固定在动力底板上,动力底板固定在机架上,滚轮设置在机架底部的一侧,进料斗组件固定在动力底板上,所述的动力底板上固定有开关盒,开关盒内设有强制开关,进料斗组件的底座上设有插片连接座,插片连接座上固定有开关插片,开关插片插入开关盒内并与强制开关的按钮相配合。
所述强制开关的一组常开触点串联在汽油机的主控回路上。
所述动力底板的开关插片插口上设有防尘片。
所述的进料斗组件上部设有移动手柄。
采用上述结构后,与现有技术相比有如下优点和效果,一是可以快速将枝叶茎杆粉碎回用,碎枝效果好、粉碎效率高,可有效降低生产成本,改善土壤结构,提高土地肥力;二是当发生堵塞卡盘现象后,即使操作者不停机就去拆卸进料斗组件,开关插片与强制开关的按钮脱离,强制开关从常闭转换为常开,由于强制开关串联在汽油机的主控回路上,所以进料斗组件拆下后,汽油机就自动熄火,从而避免了未关机时快速旋转的刀片对操作者造成的危害。
附图说明
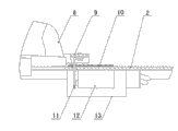
图1为本实用新型的立体结构示意图。
图2为本实用新型进料斗组件与强制开关配合的结构示意图。
其中1汽油机,2动力底板,3左右挡板,4机架,5滚轮,6进料斗组件,7前盖板,8移动手柄,9插片连接座,10防尘片,11开关插片,12强制开关,13开关盒。
具体实施方式
图1和图2所示,为本实用新型一种可防止误动作的碎枝机的具体实施方案,它包括汽油机1、动力底板2 、左右挡板3、机架4、滚轮5、进料斗组件6、前盖板7,汽油机1固定在动力底板2上,动力底板2固定在机架4上,滚轮5设置在机架4底部的一侧,进料斗组件6固定在动力底板2上,所述的动力底板2上固定有开关盒13,开关盒13内设有强制开关12,进料斗组件6的底座上设有插片连接座9,插片连接座9上固定有开关插片11,开关插片11插入开关盒13内并与强制开关12的按钮相配合;所述强制开关12的一组常开触点串联在汽油机1的主控回路上,当拆下进料斗组件6时,强制开关12的常开触点断开汽油机1的主控回路,汽油机1自动熄火或不能起动。为了防止粉尘进入开关盒13内影响强制开关12正常工作,所述动力底板2的开关插片插口上设有防尘片10。为了便于机器移动,所述的进料斗组件6上部设有移动手柄8。

Claims (4)

1.一种可防止误动作的碎枝机,包括汽油机(1)、动力底板(2) 、左右挡板(3)、机架(4)、滚轮(5)、进料斗组件(6)、前盖板(7),汽油机(1)固定在动力底板(2)上,动力底板(2)固定在机架(4)上,滚轮(5)设置在机架(4)底部的一侧,进料斗组件(6)固定在动力底板(2)上,其特征是:所述的动力底板(2)上固定有开关盒(13),开关盒(13)内设有强制开关(12),进料斗组件(6)的底座上设有插片连接座(9),插片连接座(9)上固定有开关插片(11),开关插片(11)插入开关盒(13)内并与强制开关(12)的按钮相配合。
2.根据权利要求1所述的可防止误动作的碎枝机,其特征是:所述强制开关(12)的一组常开触点串联在汽油机(1)的主控回路上。
3.根据权利要求1或2所述的可防止误动作的碎枝机,其特征是:所述动力底板(2)的开关插片插口上设有防尘片(10)。
4.根据权利要求3所述的可防止误动作的碎枝机,其特征是:所述的进料斗组件(6)上部设有移动手柄(8)。
CN2012200083956U 2012-01-10 2012-01-10 可防止误动作的碎枝机 Expired - Fee Related CN202490660U (zh)

Priority Applications (1)

Application Number Priority Date Filing Date Title
CN2012200083956U CN202490660U (zh) 2012-01-10 2012-01-10 可防止误动作的碎枝机

Applications Claiming Priority (1)

Application Number Priority Date Filing Date Title
CN2012200083956U CN202490660U (zh) 2012-01-10 2012-01-10 可防止误动作的碎枝机

Publications (1)

Publication Number Publication Date
CN202490660U true CN202490660U (zh) 2012-10-17

Family

ID=46996904

Family Applications (1)

Application Number Title Priority Date Filing Date
CN2012200083956U Expired - Fee Related CN202490660U (zh) 2012-01-10 2012-01-10 可防止误动作的碎枝机

Country Status (1)

Country Link
CN (1) CN202490660U (zh)

Similar Documents

Publication Publication Date Title
CN107509487A (zh) 一种秸秆粉碎机
CN204261758U (zh) 玉米皮粉碎机
CN201744383U (zh) 树枝粉碎机
CN203723071U (zh) 一种环保收割机
CN202490660U (zh) 可防止误动作的碎枝机
CN205510883U (zh) 一种秸秆切碎排草可转换式联合收割机
CN201613160U (zh) 碎枝机
CN202104806U (zh) 大料口食物处理器
CN202919003U (zh) 一种饲料加工装置
CN203494607U (zh) 一种铡草机破碎装置
CN202490676U (zh) 碎枝机安全防范装置
CN204426039U (zh) 一种玉米秸秆还田设备
CN205389467U (zh) 水平甩刀式玉米秸秆粉碎装置
CN203723099U (zh) 一种农作物根茬破碎还田装置
CN220986751U (zh) 一种畜牧业用玉米秸秆粉碎设备
CN203181632U (zh) 一种秸秆粉碎机
CN207341155U (zh) 一种饲料粉碎装置
CN207505491U (zh) 一种畜牧用草料切割装置
CN203206779U (zh) 一种烟田废弃物切割机
CN205914250U (zh) 节能碎枝机
CN2779842Y (zh) 秸杆粉碎灭茬还田机
CN214508103U (zh) 农业废料回收利用秸秆破碎装置
CN216857002U (zh) 一种节约环保型农业废弃物粉碎机
CN205008096U (zh) 一种废弃畜禽液化处理用破碎机
CN205320584U (zh) 一种小型野外铡草装置

Legal Events

Date Code Title Description
C14 Grant of patent or utility model
GR01 Patent grant
C17 Cessation of patent right
CF01 Termination of patent right due to non-payment of annual fee

Granted publication date: 20121017

Termination date: 20140110