CN202490413U - Rehabilitative basketball player leg protector - Google Patents
Rehabilitative basketball player leg protector Download PDFInfo
- Publication number
- CN202490413U CN202490413U CN2012200869193U CN201220086919U CN202490413U CN 202490413 U CN202490413 U CN 202490413U CN 2012200869193 U CN2012200869193 U CN 2012200869193U CN 201220086919 U CN201220086919 U CN 201220086919U CN 202490413 U CN202490413 U CN 202490413U
- Authority
- CN
- China
- Prior art keywords
- protective body
- rehabilitation
- utility
- protective
- model
- Prior art date
- Legal status (The legal status is an assumption and is not a legal conclusion. Google has not performed a legal analysis and makes no representation as to the accuracy of the status listed.)
- Expired - Fee Related
Links
- 230000001012 protector Effects 0.000 title claims abstract description 9
- 230000001681 protective effect Effects 0.000 claims abstract description 25
- 230000003014 reinforcing effect Effects 0.000 claims abstract description 13
- 230000002787 reinforcement Effects 0.000 claims abstract description 8
- 210000002414 leg Anatomy 0.000 abstract description 6
- 210000003041 ligament Anatomy 0.000 abstract description 5
- 210000003205 muscle Anatomy 0.000 abstract description 5
- 210000001503 joint Anatomy 0.000 abstract description 4
- 210000004417 patella Anatomy 0.000 abstract description 4
- 230000035699 permeability Effects 0.000 abstract description 3
- 238000004140 cleaning Methods 0.000 abstract description 2
- 238000004519 manufacturing process Methods 0.000 abstract description 2
- 244000309466 calf Species 0.000 description 3
- 208000014674 injury Diseases 0.000 description 3
- 210000000629 knee joint Anatomy 0.000 description 3
- 235000019687 Lamb Nutrition 0.000 description 2
- 208000027418 Wounds and injury Diseases 0.000 description 2
- 210000000544 articulatio talocruralis Anatomy 0.000 description 2
- 230000002860 competitive effect Effects 0.000 description 2
- 230000006378 damage Effects 0.000 description 2
- 230000000694 effects Effects 0.000 description 2
- 210000000689 upper leg Anatomy 0.000 description 2
- 210000002268 wool Anatomy 0.000 description 2
- 239000004677 Nylon Substances 0.000 description 1
- 230000007423 decrease Effects 0.000 description 1
- 230000007812 deficiency Effects 0.000 description 1
- 238000006073 displacement reaction Methods 0.000 description 1
- 230000003670 easy-to-clean Effects 0.000 description 1
- 230000014759 maintenance of location Effects 0.000 description 1
- 238000000034 method Methods 0.000 description 1
- 229920001778 nylon Polymers 0.000 description 1
- 229920000728 polyester Polymers 0.000 description 1
- 238000011084 recovery Methods 0.000 description 1
- 230000003068 static effect Effects 0.000 description 1
- 210000004243 sweat Anatomy 0.000 description 1
- 230000008733 trauma Effects 0.000 description 1
- 238000009941 weaving Methods 0.000 description 1
Images
Landscapes
- Rehabilitation Tools (AREA)
- Orthopedics, Nursing, And Contraception (AREA)
Abstract
本实用新型公开了一种康复型篮球运动员腿部护具,特征是:为一富有弹性的长管形的护具体,在护具体的两个侧壁上端的内部分别固定有一根竖向的加强护条,在护具体的下端背面设有让脚后跟露出的脚后跟口,在护具体的背面的上下端分别设有让上加强弹力带穿过的上加强带弹力环和让下加强弹力带穿过的下加强带弹力环。护具体的上端口的直径大于下端口的直径。本实用新型具有能将髌骨固定在相对稳定的位置上、对受过伤的关节、肌肉、韧带在训练康复期内有良好的保护作用、透气性好、穿带舒适、清洗和携带均很方便、实用性强、制作成本低、结构简单合理的优点,是一种一次性投资少、适用性强的体育保健康复用品。
The utility model discloses a rehabilitation type basketball player's leg protector, which is characterized in that it is a long tube-shaped protective body full of elasticity, and a vertical reinforcement is respectively fixed inside the upper ends of the two side walls of the protective body. Protective strips, on the back of the lower end of the protective body, there is a heel opening for the heel to be exposed, and at the upper and lower ends of the back of the protective body, there are respectively upper reinforcing belt elastic rings for the upper reinforcing elastic band to pass through and a lower reinforcing elastic band for passing through The lower reinforcement belt elastic loop. The diameter of the upper port of the protective body is larger than the diameter of the lower port. The utility model has the advantages of being able to fix the patella in a relatively stable position, having a good protective effect on injured joints, muscles and ligaments during training and rehabilitation, good air permeability, comfortable wearing, and convenient cleaning and carrying. The utility model has the advantages of strong practicability, low production cost and simple and reasonable structure, and is a sports health care rehabilitation product with low one-time investment and strong applicability.
Description
技术领域 technical field
本实用新型涉及体育器械,尤其是涉及一种为运动员比赛受伤后康复而采用的篮球运动员腿部护具。 The utility model relates to sports equipment, in particular to a basketball player's leg protector used for recovery after the athlete is injured in a game.
背景技术 Background technique
当篮球运动员受伤以后,创伤给运动员带来的最大负面影响不在于伤病本身,而在于运动员对伤病的态度所导致的生理和心理变化,致使运动员整体机能水平和竞技状态大幅度下降。如何改变这种现象,将静止的休息与动态的训练合理地搭配起来,并在康复训练中注意尽量保持运动员原有的机能竞技状态,同时弥补在其它技战术方面的不足,既养伤又不停训,是现代篮球运动发展中须解决的实际问题。 When a basketball player is injured, the biggest negative impact of the trauma on the athlete is not the injury itself, but the physical and psychological changes caused by the athlete's attitude towards the injury, resulting in a significant decline in the overall functional level and competitive state of the athlete. How to change this phenomenon, combine static rest and dynamic training reasonably, and pay attention to maintaining the original functional competitive state of athletes as much as possible during rehabilitation training, and at the same time make up for the deficiencies in other technical and tactical aspects. Training is a practical problem to be solved in the development of modern basketball.
发明内容 Contents of the invention
本实用新型的目的在于提供一种能将髌骨固定在相对稳定的位置上、对受过伤的关节、肌肉、韧带在训练康复期内有良好的保护作用、透气性好、穿带舒适、清洗和携带均很方便的康复型篮球运动员腿部护具。 The purpose of the utility model is to provide a patella that can be fixed in a relatively stable position, has a good protective effect on the injured joints, muscles, and ligaments during the training and rehabilitation period, has good air permeability, is comfortable to wear, and is easy to clean and comfortable. Rehabilitation basketball player leg protector that is easy to carry.
本实用新型的目的是这样实现的: The purpose of this utility model is achieved in that:
一种康复型篮球运动员腿部护具,特征是:为一富有弹性的长管形的护具体,在护具体的两个侧壁上端的内部分别固定有一根竖向的加强护条,在护具体的下端背面设有让脚后跟露出的脚后跟口,在护具体的背面的上下端分别设有让上加强弹力带穿过的上加强带弹力环和让下加强弹力带穿过的下加强带弹力环。 A rehabilitation type basketball player's leg protector is characterized in that it is an elastic long tube-shaped protective body, and a vertical reinforcement bar is respectively fixed inside the upper ends of the two side walls of the protective body. The back of the lower end of the concrete is provided with a heel opening that allows the heel to be exposed, and the upper and lower ends of the back of the protective body are respectively provided with an upper reinforcing band elastic ring that allows the upper reinforcing elastic band to pass through and a lower reinforcing band elastic that allows the lower reinforcing elastic band to pass through. ring.
护具体的上端口的直径大于下端口的直径。 The diameter of the upper port of the armor body is larger than the diameter of the lower port.
当运动员穿带好本实用新型后,由于护具体的两个侧壁上端内部的橡胶加强护条,加之护具体又是由尼龙涤纶、纯羊羔毛、橡皮筋混纺编织而成,具有高弹力性,以及上加强弹力带和下加强弹力带的弹性和紧固作用,这样,护具体就能将髌骨固定在相对稳定的位置上,固定膝关节不发生横向位移,从而使大腿至小腿维持在相对的一条直线上,对受过伤的关节、肌肉、韧带在训练康复期内有良好的保护作用。护具体的表面含有纯羊羔毛,纯羊羔毛的保暖性很好,套在腿部轻便暖和,具有防寒、防潮、防汗的功效。上加强弹力带和下加强弹力带在膝关节和踝关节部位做“8”字形交叉加固包扎,或在大腿和小腿做环形加固包扎,可以有效地防止膝关节和踝关节外展外旋,同时对小腿肌肉、韧带起到稳固保护作用。因此,本实用新型具有能将髌骨固定在相对稳定的位置上、对受过伤的关节、肌肉、韧带在训练康复期内有良好的保护作用、透气性好、穿带舒适、清洗和携带均很方便、实用性强、制作成本低、结构简单合理的优点,是一种一次性投资少、适用性强的体育保健康复用品。 After the athlete puts on the utility model, because the rubber reinforcement strips inside the upper ends of the two side walls of the protective body, and the protective body is made of nylon polyester, pure lamb's wool and rubber band blended weaving, it has high elasticity, And the elasticity and fastening effect of the upper elastic band and the lower elastic band, so that the protective body can fix the patella in a relatively stable position, and fix the knee joint without lateral displacement, so that the thigh to the calf can be maintained in a relative position. In a straight line, it has a good protective effect on the injured joints, muscles and ligaments during the training and rehabilitation period. The surface of the protective cover contains pure lamb wool, which has good warmth retention property. It is light and warm when worn on the legs, and has the effect of preventing cold, moisture and sweat. The upper elastic band and the lower elastic band are bandaged in the shape of an "8" cross at the knee joint and ankle joint, or a circular bandage is made at the thigh and calf, which can effectively prevent the abduction and external rotation of the knee joint and ankle joint, and at the same time It plays a stable and protective role for the calf muscles and ligaments. Therefore, the utility model has the advantages of being able to fix the patella in a relatively stable position, having a good protective effect on injured joints, muscles and ligaments during training and rehabilitation, good air permeability, comfortable wearing, easy cleaning and carrying. The utility model has the advantages of convenience, strong practicability, low production cost and simple and reasonable structure, and is a sports health care rehabilitation product with low one-time investment and strong applicability.
附图说明 Description of drawings
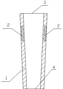
图1为本实用新型的主视剖视图; Fig. 1 is the front sectional view of the utility model;
图2为本实用新型的后视图; Fig. 2 is the rear view of the utility model;
图3为图1的右视图; Fig. 3 is the right view of Fig. 1;
图4为图1的俯视图。 FIG. 4 is a top view of FIG. 1 .
具体实施方式 Detailed ways
下面结合实施例并对照附图对本实用新型作进一步详细说明。 Below in conjunction with embodiment and with reference to accompanying drawing, the utility model is described in further detail.
一种康复型篮球运动员腿部护具,为一富有弹性的长管形的护具体1,在护具体1的两个侧壁上端的内部分别固定有一根竖向的加强护条2,在护具体1的下端背面设有让脚后跟露出的脚后跟口9,在护具体1的背面的上下端分别设有让上加强弹力带5穿过的上加强带弹力环6和让下加强弹力带7穿过的下加强带弹力环8。
A rehabilitation type basketball player's leg protector, which is a long tubular
护具体1的上端口3的直径大于下端口4的直径。
The diameter of the
Claims (2)
Priority Applications (1)
| Application Number | Priority Date | Filing Date | Title |
|---|---|---|---|
| CN2012200869193U CN202490413U (en) | 2012-03-09 | 2012-03-09 | Rehabilitative basketball player leg protector |
Applications Claiming Priority (1)
| Application Number | Priority Date | Filing Date | Title |
|---|---|---|---|
| CN2012200869193U CN202490413U (en) | 2012-03-09 | 2012-03-09 | Rehabilitative basketball player leg protector |
Publications (1)
| Publication Number | Publication Date |
|---|---|
| CN202490413U true CN202490413U (en) | 2012-10-17 |
Family
ID=46996658
Family Applications (1)
| Application Number | Title | Priority Date | Filing Date |
|---|---|---|---|
| CN2012200869193U Expired - Fee Related CN202490413U (en) | 2012-03-09 | 2012-03-09 | Rehabilitative basketball player leg protector |
Country Status (1)
| Country | Link |
|---|---|
| CN (1) | CN202490413U (en) |
-
2012
- 2012-03-09 CN CN2012200869193U patent/CN202490413U/en not_active Expired - Fee Related
Similar Documents
| Publication | Publication Date | Title |
|---|---|---|
| US20180228226A1 (en) | Rehabilitation compression garments | |
| CN106174775B (en) | Dynamic elastic one-way water guide sportswear | |
| WO2016192135A1 (en) | Leg-protecting apparatus having dynamic biological function | |
| ES2383476T3 (en) | Protective sportswear | |
| CN207084206U (en) | A kind of protecting, monitoring knee-pad | |
| CN207383591U (en) | A kind of elbow protector for sports | |
| CN202490413U (en) | Rehabilitative basketball player leg protector | |
| CN203943090U (en) | A kind of high-performance surplus is run and is taken | |
| CN205867515U (en) | Basketball player protector | |
| CN110368662A (en) | Protective device is used in a kind of exercise of novel badminton | |
| CN223053927U (en) | Tight sports pants with knee protection and leg shaping functions | |
| CN207412676U (en) | A kind of Novel boxing legging | |
| CN207167822U (en) | A kind of children with abdominal post-operative care trousers | |
| CN106492443A (en) | Gymnastics protector | |
| CN202311199U (en) | Sandbeach sepa takraw sports socks | |
| CN205516384U (en) | Football socks with ankle guard leg guard function | |
| CN204745602U (en) | Novel football person's shank protective equipment | |
| CN218420946U (en) | A hip protector for dry boat racing | |
| JP2890119B1 (en) | Socks | |
| CN219939751U (en) | Yoga trousers | |
| CN205672511U (en) | A kind of Ice-sports protection device | |
| CN207948973U (en) | Hip pad is worn outside a kind of athletic protective | |
| CN211581650U (en) | Knee pad with zipper | |
| CN202407093U (en) | Sports socks for football | |
| CN210901490U (en) | Knitted silicone knee pads |
Legal Events
| Date | Code | Title | Description |
|---|---|---|---|
| C14 | Grant of patent or utility model | ||
| GR01 | Patent grant | ||
| C17 | Cessation of patent right | ||
| CF01 | Termination of patent right due to non-payment of annual fee |
Granted publication date: 20121017 Termination date: 20130309 |
