CN202480319U - Die with push plate provided with cooling water channel - Google Patents

Die with push plate provided with cooling water channel Download PDF

Info

Publication number
CN202480319U
CN202480319U CN2012200705846U CN201220070584U CN202480319U CN 202480319 U CN202480319 U CN 202480319U CN 2012200705846 U CN2012200705846 U CN 2012200705846U CN 201220070584 U CN201220070584 U CN 201220070584U CN 202480319 U CN202480319 U CN 202480319U
Authority
CN
China
Prior art keywords
cooling water
water channel
push plate
utility
model
Prior art date
Legal status (The legal status is an assumption and is not a legal conclusion. Google has not performed a legal analysis and makes no representation as to the accuracy of the status listed.)
Expired - Fee Related
Application number
CN2012200705846U
Other languages
Chinese (zh)
Inventor
蒋方荣
Current Assignee (The listed assignees may be inaccurate. Google has not performed a legal analysis and makes no representation or warranty as to the accuracy of the list.)
Sen Sen Excellent Precision Mould (shenzhen) Co Ltd
Original Assignee
Sen Sen Excellent Precision Mould (shenzhen) Co Ltd
Priority date (The priority date is an assumption and is not a legal conclusion. Google has not performed a legal analysis and makes no representation as to the accuracy of the date listed.)
Filing date
Publication date
Application filed by Sen Sen Excellent Precision Mould (shenzhen) Co Ltd filed Critical Sen Sen Excellent Precision Mould (shenzhen) Co Ltd
Priority to CN2012200705846U priority Critical patent/CN202480319U/en
Application granted granted Critical
Publication of CN202480319U publication Critical patent/CN202480319U/en
Anticipated expiration legal-status Critical
Expired - Fee Related legal-status Critical Current

Links

Images

Landscapes

  • Moulds For Moulding Plastics Or The Like (AREA)

Abstract

本实用新型涉及模具,尤其涉及一种推板上具有冷却水道的模具。本实用新型提供了一种推板上具有冷却水道的模具,包括推板,所述推板上设有冷却水道。本实用新型的有益效果是:在推板上加设冷却水道,用于改善薄壁产品开口部的冷却效果,以提高成型质量。

Figure 201220070584

The utility model relates to a mold, in particular to a mold with a cooling water channel on a push plate. The utility model provides a mold with a cooling water channel on a push plate, which comprises a push plate, and the cooling water channel is arranged on the push plate. The beneficial effect of the utility model is that a cooling water channel is added on the push plate to improve the cooling effect of the opening of the thin-walled product so as to improve the molding quality.

Figure 201220070584

Description

The mould that has cooling water channel in a kind of push pedal
Technical field
The utility model relates to mould, relates in particular to the mould that has cooling water channel in a kind of push pedal.
Background technology
Because the temperature of mould will directly have influence on the Forming Quality and the production efficiency of plastic, therefore, need design one cover cooling system on the mould; And the cooling system of mould generally includes cooling water channel; To reach best cooling effect, simultaneously, in mould, come off in order to make the product after the moulding; Also need design a cover ejection system, mould has ejection system then to generally include push pedal.
At present, normally by the moulding of injection mold institute, for example lid or box etc. have the product of cavity to some thin-wall products, in the process of moulding, because the article of the opening portion of thin-wall product concentrates on push pedal place of mould, cause cooling effect not good, influence Forming Quality.
Summary of the invention
In order to solve the problems of the prior art, the utility model provides the mould that has cooling water channel in a kind of push pedal.
The utility model provides the mould that has cooling water channel in a kind of push pedal, comprises push pedal, and said push pedal is provided with cooling water channel.
As the further improvement of the utility model, said cooling water channel is connected with inlet channel and water outlet.
As the further improvement of the utility model, said cooling water channel is provided with around said push pedal.
As the further improvement of the utility model, said cooling water channel is a ring-type.
The beneficial effect of the utility model is: through such scheme, in push pedal, add cooling water channel, be used to improve the cooling effect of thin-wall product peristome, to improve Forming Quality.
Description of drawings
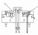
Fig. 1 is the structural representation that has the mould of cooling water channel in a kind of push pedal of the utility model;
Fig. 2 is the partial enlarged drawing A of Fig. 1.
The specific embodiment
Below in conjunction with the description of drawings and the specific embodiment the utility model is further specified.
Drawing reference numeral among Fig. 1 is: push pedal 1; Cooling water channel 2.
As shown in Figure 1, have the mould of cooling water channel in a kind of push pedal, comprise push pedal 1, said push pedal 1 is provided with cooling water channel 2.
As shown in Figure 1, said cooling water channel 2 is connected with inlet channel and water outlet.
As shown in Figure 1, said cooling water channel 2 is provided with around said push pedal 1.
As shown in Figure 1, said cooling water channel 2 is a ring-type.
Have the mould of cooling water channel in a kind of push pedal that the utility model provides, in push pedal 1, add cooling water channel 2, be used to improve the cooling effect of thin-wall product peristome, to improve Forming Quality.
Above content is the further explain that combines concrete preferred implementation that the utility model is done, and can not assert that the practical implementation of the utility model is confined to these explanations.For the those of ordinary skill of technical field under the utility model, under the prerequisite that does not break away from the utility model design, can also make some simple deduction or replace, all should be regarded as belonging to the protection domain of the utility model.

Claims (4)

1.一种推板上具有冷却水道的模具,其特征在于:包括推板,所述推板上设有冷却水道。 1. A mold with a cooling water channel on a push plate, characterized in that: it comprises a push plate, and the said push plate is provided with a cooling water channel. 2.根据权利要求1所述的推板上具有冷却水道的模具,其特征在于:所述冷却水道连接有进水道和出水道。 2. The mold with a cooling channel on the push plate according to claim 1, characterized in that: the cooling channel is connected with a water inlet and an outlet. 3.根据权利要求1所述的推板上具有冷却水道的模具,其特征在于:所述冷却水道绕所述推板的四周设置。 3. The mold with cooling water channels on the push plate according to claim 1, characterized in that: the cooling water channels are arranged around the periphery of the push plate. 4.根据权利要求1所述的推板上具有冷却水道的模具,其特征在于:所述冷却水道为环状。 4. The mold with cooling channels on the push plate according to claim 1, characterized in that: the cooling channels are ring-shaped.
CN2012200705846U 2012-02-29 2012-02-29 Die with push plate provided with cooling water channel Expired - Fee Related CN202480319U (en)

Priority Applications (1)

Application Number Priority Date Filing Date Title
CN2012200705846U CN202480319U (en) 2012-02-29 2012-02-29 Die with push plate provided with cooling water channel

Applications Claiming Priority (1)

Application Number Priority Date Filing Date Title
CN2012200705846U CN202480319U (en) 2012-02-29 2012-02-29 Die with push plate provided with cooling water channel

Publications (1)

Publication Number Publication Date
CN202480319U true CN202480319U (en) 2012-10-10

Family

ID=46954776

Family Applications (1)

Application Number Title Priority Date Filing Date
CN2012200705846U Expired - Fee Related CN202480319U (en) 2012-02-29 2012-02-29 Die with push plate provided with cooling water channel

Country Status (1)

Country Link
CN (1) CN202480319U (en)

Cited By (1)

* Cited by examiner, † Cited by third party
Publication number Priority date Publication date Assignee Title
CN109278250A (en) * 2018-11-26 2019-01-29 惠安贤江金刚石工具开发有限公司 A kind of rapid cooling plastic section bar extruding mould using reflux thimble cooling diving board

Cited By (1)

* Cited by examiner, † Cited by third party
Publication number Priority date Publication date Assignee Title
CN109278250A (en) * 2018-11-26 2019-01-29 惠安贤江金刚石工具开发有限公司 A kind of rapid cooling plastic section bar extruding mould using reflux thimble cooling diving board

Similar Documents

Publication Publication Date Title
CN203945598U (en) A kind of Novel injection mold
CN202753362U (en) Cooling circulation system for injection mold
CN202480319U (en) Die with push plate provided with cooling water channel
CN205735739U (en) A kind of monoblock type mould bases
CN204309198U (en) A kind of high-light no-trace injection moulding apparatus
CN202186017U (en) Pouring mould
CN202781744U (en) Cooling device of injection mold
CN203973937U (en) Three template dies
CN201979671U (en) Cooling water channel of split mould cavity of injection preform mould
CN201768877U (en) Novel bracelet-type mould for casting sacrificial anode
CN203267096U (en) Injection mold with multi-hole cooling water inlet holes
CN202212557U (en) A mould for preparing sealed lid
CN203019626U (en) Compression molding die
CN202097921U (en) Fountain-type cooling system for ultrathin injection mold
CN203600572U (en) Two-stage temperature-control rubber feeding mechanism for injection mould
CN202572821U (en) Injection mold with internally flanged safety cover
CN202219301U (en) An integrated molding apparatus for collecting pipe expansion openings
CN202781680U (en) Material feeding flow channel of injection molding mold
CN202293256U (en) Heat conducting bar type cooling device
CN202029349U (en) Ejection-free automatic product-stripping mechanism for pen mold
CN203844077U (en) Compression mould with cooling system
CN204977282U (en) A mould that is used for dark chamber class to mould piece
CN206426339U (en) A kind of high-efficiency and precision VR spectacle-frame production moulds
CN203994466U (en) A kind of frangipanis mould
CN203854157U (en) Die for injection molding automobile air outlet product

Legal Events

Date Code Title Description
C14 Grant of patent or utility model
GR01 Patent grant
C17 Cessation of patent right
CF01 Termination of patent right due to non-payment of annual fee

Granted publication date: 20121010

Termination date: 20140229

CF01 Termination of patent right due to non-payment of annual fee