CN202419013U - Self-tapping threaded reducing pipe joint - Google Patents

Self-tapping threaded reducing pipe joint Download PDF

Info

Publication number
CN202419013U
CN202419013U CN2011204868509U CN201120486850U CN202419013U CN 202419013 U CN202419013 U CN 202419013U CN 2011204868509 U CN2011204868509 U CN 2011204868509U CN 201120486850 U CN201120486850 U CN 201120486850U CN 202419013 U CN202419013 U CN 202419013U
Authority
CN
China
Prior art keywords
pipe joint
pipe
tapping thread
joint
handed
Prior art date
Legal status (The legal status is an assumption and is not a legal conclusion. Google has not performed a legal analysis and makes no representation as to the accuracy of the status listed.)
Expired - Fee Related
Application number
CN2011204868509U
Other languages
Chinese (zh)
Inventor
罗锋
邱克
Current Assignee (The listed assignees may be inaccurate. Google has not performed a legal analysis and makes no representation or warranty as to the accuracy of the list.)
North China Institute of Aerospace Engineering
Original Assignee
North China Institute of Aerospace Engineering
Priority date (The priority date is an assumption and is not a legal conclusion. Google has not performed a legal analysis and makes no representation as to the accuracy of the date listed.)
Filing date
Publication date
Application filed by North China Institute of Aerospace Engineering filed Critical North China Institute of Aerospace Engineering
Priority to CN2011204868509U priority Critical patent/CN202419013U/en
Application granted granted Critical
Publication of CN202419013U publication Critical patent/CN202419013U/en
Anticipated expiration legal-status Critical
Expired - Fee Related legal-status Critical Current

Links

Images

Classifications

    • YGENERAL TAGGING OF NEW TECHNOLOGICAL DEVELOPMENTS; GENERAL TAGGING OF CROSS-SECTIONAL TECHNOLOGIES SPANNING OVER SEVERAL SECTIONS OF THE IPC; TECHNICAL SUBJECTS COVERED BY FORMER USPC CROSS-REFERENCE ART COLLECTIONS [XRACs] AND DIGESTS
    • Y02TECHNOLOGIES OR APPLICATIONS FOR MITIGATION OR ADAPTATION AGAINST CLIMATE CHANGE
    • Y02ATECHNOLOGIES FOR ADAPTATION TO CLIMATE CHANGE
    • Y02A40/00Adaptation technologies in agriculture, forestry, livestock or agroalimentary production
    • Y02A40/10Adaptation technologies in agriculture, forestry, livestock or agroalimentary production in agriculture
    • Y02A40/22Improving land use; Improving water use or availability; Controlling erosion

Landscapes

  • Joints Allowing Movement (AREA)
  • Branch Pipes, Bends, And The Like (AREA)

Abstract

一种自攻螺纹式变径管接头,它主要用于滴灌系统中输水管路中变径PE管子的连接。该管接头内孔的两端一边是左旋攻丝螺纹、一边是右旋攻丝螺纹,将被连接的PE塑料管插入管接头的孔中并施以一定的轴向力,转动管接头则就会使左旋攻丝螺纹和右旋攻丝螺纹同时切削旋进被连接的塑料管中,随着管接头的旋转被连接塑料管会被自动拽进管接头中和管接头牢固地连接在一起,达到连接塑料管的目的。橡胶密封圈起密封水的作用。该管接头结构简单,安装使用方便,连接功能可靠,成本低。

Figure 201120486850

The utility model relates to a self-tapping screw type variable diameter pipe joint, which is mainly used for the connection of the variable diameter PE pipe in the water delivery pipeline in the drip irrigation system. One end of the inner hole of the pipe joint is a left-handed tapping thread and the other is a right-handed tapping thread. Insert the connected PE plastic pipe into the hole of the pipe joint and apply a certain axial force. Turn the pipe joint to The left-handed tapping thread and the right-handed tapping thread will be cut and screwed into the connected plastic pipe at the same time. With the rotation of the pipe joint, the connected plastic pipe will be automatically pulled into the pipe joint and firmly connected with the pipe joint. To achieve the purpose of connecting plastic pipes. The rubber sealing ring plays the role of sealing water. The pipe joint has the advantages of simple structure, convenient installation and use, reliable connection function and low cost.

Figure 201120486850

Description

Thread Forming TF formula reduction nipple
Technical field
The utility model relates to a kind of drip irrigation system and uses plastic water pipe joint.Belong to the pipeline connection technology field.
Background technique
At present drip irrigation technique is being widelyd popularize, and the water transport pipeline ways of connecting is of all kinds in the drip irrigation system, and wherein the quick replacable type joint is used morely, but present most of quick release coupling is that to form the number of spare parts of quick release coupling more by individual common problem, causes cost higher.For this reason, researched and developed a kind of number of spare parts few, change reduction nipple easily.
Summary of the invention
The purpose of the utility model is to provide in a kind of drip irrigation system water transport pipeline to connect with Thread Forming TF formula reduction nipple; This joint can connect and open the reducing PE plastic tube of all size that uses in the drip irrigation system easily; This joint is a quick release coupling, and the assembly of joint is few, and linkage function is reliable; Cost is low, is fit to promote the use of.
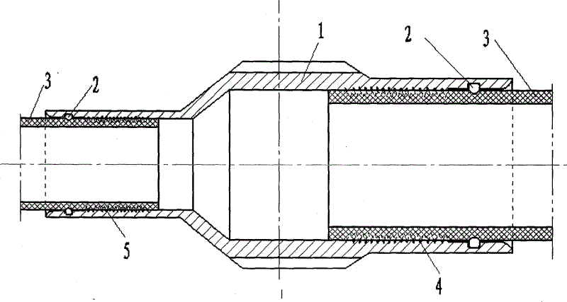
The purpose of the utility model is realized by following proposal: a kind of Thread Forming TF formula reduction nipple; Comprise the tubular configured joint body; Said tubular configured joint body has one to connect endoporus, endoporus be one big one little, respectively there is one section tapping thread at the endoporus two ends, and (screw thread has cutting edge; Similar with the screw thread of screw die), while the tapping thread at two ends be left-handed be dextrorotation.Respectively there is a groove at the endoporus two ends, and groove is to adorn rubber seal, and pipe joint just is equivalent to the outside thread that a screw die can be attacked plastic pipe.The root diameter of this pipe joint tapping thread is identical with connected plastic tube external diameter.Insert connected two sections pipes respectively in the hole on Thread Forming TF formula reduction nipple both sides and impose certain axial force; Swivel joint; Because one of the tapping thread at two ends is left-handed in the pipe joint endoporus, another dextrorotation, so during swivel joint just connected pipe tapping outside thread and be drawn into the Kong Zhongyu joint to pipe simultaneously and link together; Connected pipe and joints is become one, reach the purpose that connects plastic tube.Rubber ring seals, and tapping thread works the pipe effect that connects.The outer surface of this pipe joint is made anti-skid design, and is manually actuated during installation.The counterrotating joint can be opened joint easily.This pipe joint material is harder plastics such as ABS, also can be metal.
The beneficial effect of the utility model is, its structure is very simple, has only a plastic part to form, and easy to install, linkage function is reliable, has reduced the cost of pipe joint effectively.This pipe joint also can be used for other plastic duct systems.
Description of drawings
Below in conjunction with accompanying drawing and embodiment the utility model is further specified.
Fig. 1 is the tectonic maps of the utility model.
Fig. 2 is the sectional drawing of Thread Forming TF formula reduction nipple.
1. fittings bodies among the figure, 2. rubber seal, 3. plastic tube, 4. dextrorotation tapping thread, 5. left-handed tapping thread.
Embodiment
In the embodiment shown in fig. 1; In the groove of fittings body (1) endoporus rubber seal (2) is housed; Connected reducing PE plastic tube is inserted in the hole of fittings body (1) and impose certain axial force; Swivel body (1) then will make left-handed tapping thread (5) and dextrorotation tapping thread (4) cut simultaneously and get in the plastic tube (3), along with the rotary plastic pipe (3) of fittings body (1) can be drawn in the fittings body (1) with fittings body (1) links together securely automatically, reaches the purpose of connection plastic tube.Rubber seal (2) plays sealing water.Fig. 2 is the sectional drawing of fittings body (1), and the intermediate portion of its expression fittings body (1) outer surface is an anti-skid design, convenient manual operations., needs can make connected plastic tube (3) withdraw from joint by counterrotating fittings body (1) when opening joint.

Claims (1)

1. Thread Forming TF formula reduction nipple; Comprise the tubular configured joint body, it is characterized in that: said tubular configured joint body has one to connect endoporus, endoporus be one big one little; Respectively there is one section tapping thread at the endoporus two ends, while the tapping thread at two ends be left-handed be dextrorotation.
CN2011204868509U 2011-11-28 2011-11-28 Self-tapping threaded reducing pipe joint Expired - Fee Related CN202419013U (en)

Priority Applications (1)

Application Number Priority Date Filing Date Title
CN2011204868509U CN202419013U (en) 2011-11-28 2011-11-28 Self-tapping threaded reducing pipe joint

Applications Claiming Priority (1)

Application Number Priority Date Filing Date Title
CN2011204868509U CN202419013U (en) 2011-11-28 2011-11-28 Self-tapping threaded reducing pipe joint

Publications (1)

Publication Number Publication Date
CN202419013U true CN202419013U (en) 2012-09-05

Family

ID=46743776

Family Applications (1)

Application Number Title Priority Date Filing Date
CN2011204868509U Expired - Fee Related CN202419013U (en) 2011-11-28 2011-11-28 Self-tapping threaded reducing pipe joint

Country Status (1)

Country Link
CN (1) CN202419013U (en)

Cited By (5)

* Cited by examiner, † Cited by third party
Publication number Priority date Publication date Assignee Title
CN103657830A (en) * 2012-09-22 2014-03-26 马英 Sealed water feeder
CN104033676A (en) * 2014-05-23 2014-09-10 无锡市崇安区科技创业服务中心 Pipeline joint
CN109424802A (en) * 2017-08-25 2019-03-05 秦凤海 A kind of variable diameter bushing that size organizine pitch thread is opposite
CN113090951A (en) * 2021-02-23 2021-07-09 广东乾晖生物科技有限公司 Pipeline flow control method
CN114852256A (en) * 2022-06-02 2022-08-05 交通运输部广州打捞局 Suction anchor and use method thereof

Cited By (5)

* Cited by examiner, † Cited by third party
Publication number Priority date Publication date Assignee Title
CN103657830A (en) * 2012-09-22 2014-03-26 马英 Sealed water feeder
CN104033676A (en) * 2014-05-23 2014-09-10 无锡市崇安区科技创业服务中心 Pipeline joint
CN109424802A (en) * 2017-08-25 2019-03-05 秦凤海 A kind of variable diameter bushing that size organizine pitch thread is opposite
CN113090951A (en) * 2021-02-23 2021-07-09 广东乾晖生物科技有限公司 Pipeline flow control method
CN114852256A (en) * 2022-06-02 2022-08-05 交通运输部广州打捞局 Suction anchor and use method thereof

Similar Documents

Publication Publication Date Title
CN202419013U (en) Self-tapping threaded reducing pipe joint
CN202402874U (en) Self-threading type co-diameter pipe joint
EP2128508A3 (en) Fluid shut-off device
CN201159349Y (en) Hydraulic system pipe joint
CN204852709U (en) Impact modification polyvinyl chloride pipe system is used in telescopic feedwater
CN203010086U (en) Cutting pipe grafting type branch pipe joint
CN202419018U (en) Plug-in type four-way reducing pipe joint
CN104455815A (en) Tapered sealing pipe connector for excavator
CN202484510U (en) Insertion type variable diameter pipe joint
CN202419012U (en) Plug-in type pipe connector with the same diameter
CN202402872U (en) Inserted type screw hose
CN206234516U (en) The convenient oil pipe hoop installed
CN201246559Y (en) Three-way pipe fitting
CN202327478U (en) Splicing type same-diameter elbow
CN202371372U (en) Inserted connection type reducing elbow
CN202402876U (en) Plug-in type reducing tee pipe joint
CN204692843U (en) A kind of tubing seal device
CN202419017U (en) Plug-in type equal tee pipe joint
CN203336088U (en) Pipeline quick connector
CN201964059U (en) Micro-irrigation pipe connector
CN202419016U (en) Spliced diameter-identical four-way pipe joint
CN203784523U (en) Self-closing water pipe outer connector
CN202992489U (en) Direct-type integrally formed sub-catchment
CN205001719U (en) Cutting sleeve type three -way joint
CN201858410U (en) Integrated faucet connector

Legal Events

Date Code Title Description
C14 Grant of patent or utility model
GR01 Patent grant
C17 Cessation of patent right
CF01 Termination of patent right due to non-payment of annual fee

Granted publication date: 20120905

Termination date: 20131128