CN202342353U - Nursing tray - Google Patents

Nursing tray Download PDF

Info

Publication number
CN202342353U
CN202342353U CN2011204286387U CN201120428638U CN202342353U CN 202342353 U CN202342353 U CN 202342353U CN 2011204286387 U CN2011204286387 U CN 2011204286387U CN 201120428638 U CN201120428638 U CN 201120428638U CN 202342353 U CN202342353 U CN 202342353U
Authority
CN
China
Prior art keywords
material storage
storage room
nursing
divided
disk body
Prior art date
Legal status (The legal status is an assumption and is not a legal conclusion. Google has not performed a legal analysis and makes no representation as to the accuracy of the status listed.)
Expired - Fee Related
Application number
CN2011204286387U
Other languages
Chinese (zh)
Inventor
田红
Current Assignee (The listed assignees may be inaccurate. Google has not performed a legal analysis and makes no representation or warranty as to the accuracy of the list.)
Individual
Original Assignee
Individual
Priority date (The priority date is an assumption and is not a legal conclusion. Google has not performed a legal analysis and makes no representation as to the accuracy of the date listed.)
Filing date
Publication date
Application filed by Individual filed Critical Individual
Priority to CN2011204286387U priority Critical patent/CN202342353U/en
Application granted granted Critical
Publication of CN202342353U publication Critical patent/CN202342353U/en
Anticipated expiration legal-status Critical
Expired - Fee Related legal-status Critical Current

Links

Images

Landscapes

  • Accommodation For Nursing Or Treatment Tables (AREA)

Abstract

The utility model relates to a medical instrument and particularly relates to a nursing tray which comprises a square tray body. The nursing tray is characterized in that the tray body is divided into a first storage chamber on the left and a second storage chamber on the right by a partition board; a disinfection cylinder is arranged on one side edge of the tray body; needle head slots are formed in the disinfection cylinder; and a filter plate is arranged at the inner bottom of the first storage chamber. The nursing tray is simple in structure and simple and convenient to manufacture, and is divided into areas reasonably and effectively, so that cross infection is avoided, and the working difficulty is reduced.

Description

The nursing pallet
Technical field
This utility model relates to a kind of medical apparatus and instruments, is specifically related to a kind of nursing pallet.
Background technology
In the clinical care; The nursing pallet is the requisite apparatus of nursing staff; Usually the nursing pallet of nursing staff's use is a rectangle dish, is used for placing various medical instruments, and this plate does not have separated region; Sometimes medical instruments and medical waste put together, and cause the pollution to medical instruments.Common this pallet does not have injection needle disinfectant function yet, causes cross infection to increase big work difficulty to the nursing staff than being easier to.
The utility model content
According to the deficiency of above prior art, this utility model technical problem to be solved is: a kind of nursing pallet is provided, can effectively avoids cross infection, reduce work difficulty.
The described a kind of nursing pallet of this utility model; Comprise square disk body, first material storage room and second material storage room about disk body is divided into through dividing plate, a lateral edges place of disk body is provided with sterile pot; Sterile pot is built-in with the syringe needle slot, and wherein first material storage room's inner bottom part is provided with filter plate.
Wherein, two spaces before and after second material storage room can be divided into through dividing plate.Second material storage room is used for placing medical waste, is separated into two spaces and can recyclable rubbish and not recyclable rubbish be distinguished placement.
First material storage room is used for holding medical instruments all in the medical treatment and nursing in this utility model, and the filter plate that the bottom is provided with pollutes medical instruments in the time of effectively avoiding liquid to spill.Owing to built-in syringe needle slot, can in time carry out disinfection in the sterile pot to entry needle.
The beneficial effect that this utility model had is: simple in structure, simple for production, through the rational and effective subregion, thereby avoided cross infection, and reduced work difficulty.
Description of drawings
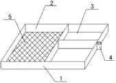
Fig. 1 is the structural representation of this utility model;
Among the figure: 1, disk body 2, first material storage room 3, second material storage room 4, sterile pot 5, filter plate.
The specific embodiment
Below in conjunction with accompanying drawing this utility model is done and to be further described.
As shown in Figure 1; The described a kind of nursing pallet of this utility model; Comprise square disk body 1, first material storage room 2 about disk body 1 is divided into through dividing plate and second material storage room 3, a lateral edges place of disk body 1 is provided with sterile pot 4; Sterile pot 4 is built-in with the syringe needle slot, and wherein first material storage room, 2 inner bottom parts are provided with filter plate 5.
Wherein, two spaces before and after second material storage room 3 is divided into through dividing plate.Second material storage room 3 is used for placing medical waste, is separated into two spaces and can recyclable rubbish and not recyclable rubbish be distinguished placement.
First material storage room 2 is used for holding medical instruments all in the medical treatment and nursing in this utility model, and the filter plate 5 that the bottom is provided with pollutes medical instruments in the time of effectively avoiding liquid to spill.Owing to built-in syringe needle slot, can in time carry out disinfection in the sterile pot 4 to entry needle.
This utility model is simple in structure, and is simple for production, through the rational and effective subregion, thereby avoided cross infection, reduced work difficulty.

Claims (2)

1. nurse pallet for one kind; Comprise square disk body, it is characterized in that first material storage room and second material storage room about disk body is divided into through dividing plate, a lateral edges place of disk body is provided with sterile pot; Sterile pot is built-in with the syringe needle slot, and wherein first material storage room's inner bottom part is provided with filter plate.
2. nursing pallet according to claim 1 is characterized in that second material storage room is divided into two spaces of front and back through dividing plate.
CN2011204286387U 2011-11-02 2011-11-02 Nursing tray Expired - Fee Related CN202342353U (en)

Priority Applications (1)

Application Number Priority Date Filing Date Title
CN2011204286387U CN202342353U (en) 2011-11-02 2011-11-02 Nursing tray

Applications Claiming Priority (1)

Application Number Priority Date Filing Date Title
CN2011204286387U CN202342353U (en) 2011-11-02 2011-11-02 Nursing tray

Publications (1)

Publication Number Publication Date
CN202342353U true CN202342353U (en) 2012-07-25

Family

ID=46531375

Family Applications (1)

Application Number Title Priority Date Filing Date
CN2011204286387U Expired - Fee Related CN202342353U (en) 2011-11-02 2011-11-02 Nursing tray

Country Status (1)

Country Link
CN (1) CN202342353U (en)

Cited By (1)

* Cited by examiner, † Cited by third party
Publication number Priority date Publication date Assignee Title
CN104887329A (en) * 2014-03-05 2015-09-09 齐鲁工业大学 Medical nursing tray

Cited By (1)

* Cited by examiner, † Cited by third party
Publication number Priority date Publication date Assignee Title
CN104887329A (en) * 2014-03-05 2015-09-09 齐鲁工业大学 Medical nursing tray

Similar Documents

Publication Publication Date Title
CN202342353U (en) Nursing tray
CN202184806U (en) Surgical instrument placing trolley
CN202321217U (en) Cotton swab box with liquid medicine
CN202005857U (en) Nursing pallet
CN202244732U (en) Acupuncture needle disinfection case
CN104116605A (en) Nursing tray
CN204684038U (en) Medical nursing treatment is coiled
CN201814776U (en) Medical nursing tray
CN202682460U (en) Multifunction operating room infusion disc
CN202821969U (en) Treatment tray
CN202086723U (en) Convenient nursing tray
CN202605182U (en) Multi-functional nursing tray
CN204995715U (en) Postoperative care shallow
CN203122634U (en) Magnetic nursing tray for operating room
CN201631559U (en) Nursing treatment box for ward nurses
CN203777222U (en) Double-layer sanitary tray for nursing
CN202113276U (en) Novel nursing tray for hospitals
CN202776574U (en) Peripherally inserted central catheter (PICC) medicine change bag
CN203619826U (en) Safety frame for dividing usage regions of treatment disc
CN212879994U (en) Multipurpose nursing and treating plate
CN201618071U (en) Nursing tray
CN202942335U (en) Simple liquid adding and taking nursing tray
CN203017280U (en) Multifunctional treatment trolley
CN202236072U (en) Medical multifunctional nursing vehicle
CN212730268U (en) Acupuncture treatment dish

Legal Events

Date Code Title Description
C14 Grant of patent or utility model
GR01 Patent grant
C17 Cessation of patent right
CF01 Termination of patent right due to non-payment of annual fee

Granted publication date: 20120725

Termination date: 20121102