CN202328473U - 一种新型电取暖器发热体 - Google Patents
一种新型电取暖器发热体 Download PDFInfo
- Publication number
- CN202328473U CN202328473U CN2011204795090U CN201120479509U CN202328473U CN 202328473 U CN202328473 U CN 202328473U CN 2011204795090 U CN2011204795090 U CN 2011204795090U CN 201120479509 U CN201120479509 U CN 201120479509U CN 202328473 U CN202328473 U CN 202328473U
- Authority
- CN
- China
- Prior art keywords
- metallic cavity
- heater
- infrared heating
- heating pipe
- novel space
- Prior art date
- Legal status (The legal status is an assumption and is not a legal conclusion. Google has not performed a legal analysis and makes no representation as to the accuracy of the status listed.)
- Expired - Fee Related
Links
- 238000010438 heat treatment Methods 0.000 title claims abstract description 36
- OKTJSMMVPCPJKN-UHFFFAOYSA-N Carbon Chemical compound [C] OKTJSMMVPCPJKN-UHFFFAOYSA-N 0.000 claims description 4
- 229910052799 carbon Inorganic materials 0.000 claims description 4
- 210000001503 joint Anatomy 0.000 claims description 4
- 230000005855 radiation Effects 0.000 claims description 4
- 229910000838 Al alloy Inorganic materials 0.000 claims description 3
- 238000000465 moulding Methods 0.000 claims description 3
- 125000005843 halogen group Chemical group 0.000 claims description 2
- 229910052751 metal Inorganic materials 0.000 abstract description 13
- 239000002184 metal Substances 0.000 abstract description 13
- 230000004888 barrier function Effects 0.000 description 3
- 230000007423 decrease Effects 0.000 description 2
- 238000005516 engineering process Methods 0.000 description 2
- 150000004820 halides Chemical class 0.000 description 2
- 230000032683 aging Effects 0.000 description 1
- 230000009286 beneficial effect Effects 0.000 description 1
- 238000007323 disproportionation reaction Methods 0.000 description 1
- 230000000694 effects Effects 0.000 description 1
- 238000007254 oxidation reaction Methods 0.000 description 1
- 238000009423 ventilation Methods 0.000 description 1
Images
Landscapes
- Resistance Heating (AREA)
Abstract
本实用新型公开了一种新型电取暖器发热体,包括金属腔体,金属腔体内插装有红外发热管,金属腔体内侧圆周分布有用于吸收红外发热管光波热量的导热片,金属腔体外侧设有散热片。本实用新型提供了采用红外发热管装在一个相对封闭的金属空间内,利用光波加热金属腔体,再利用金属腔体与空气交换热量的一种使用安全的新型电取暖器发热体。
Description
技术领域
本实用新型涉及一种新型电取暖器发热体。
背景技术
现有电取暖器按取暖方式有两大类:一种是以可见光或半可见光的卤素管、电热管或碳素管直接热辐射加热取暖。这种取暖器的温度指向性强,温度分布不均匀,而且存在火灾隐患。另一种是一发热膜、发热板、发热丝或发热丝加绝缘层再传导给金属以增加散热面积利用空气对流来取暖。这类加热体一方面容易高温氧化,时间长了功率下降接触电阻增大,效率也随之下降,更为严重的烧坏发热体;另一方面中间加入了绝缘层,绝缘层老化容易出现漏电事故。
实用新型内容
本实用新型的目的是为了解决解决传统取暖器的种种安全隐患,采用红外发热管装在一个相对封闭的金属空间内,利用光波加热金属腔体,再利用金属腔体与空气交换热量的一种使用安全的新型电取暖器发热体。
为达到上述目的,本实用新型采用如下技术方案:
一种新型电取暖器发热体,其特征在于包括金属腔体,金属腔体内插装有红外发热管,金属腔体内侧圆周分布有用于吸收红外发热管光波热量的导热片,金属腔体外侧设有散热片。
如上所述一种新型电取暖器发热体,其特征在于:所述金属腔体为长条形中空腔体,所述导热片、散热片与金属腔体为铝合金整体拉伸成型的一体结构。
如上所述一种新型电取暖器发热体,其特征在于:所述金属腔体有多个,各金属腔体顺次卡扣相连,相邻的两金属腔体上的散热片对接后形成一散热腔;所述红外发热管两端分别固定安装在两固定片上,两固定片分别与金属腔体两端锁紧连接,固定片上设有与散热腔相通的透气孔。
如上所述一种新型电取暖器发热体,其特征在于:所述在金属腔体上卡扣连接有左端盖、右端盖、上端盖和下端盖。
如上所述一种新型电取暖器发热体,其特征在于:所述红外发热管并联或串联后与温控器相连。
如上所述一种新型电取暖器发热体,其特征在于:所述红外发热管并联或串联后与控制板相连。
如上所述一种新型电取暖器发热体,其特征在于:所述红外发热管为卤素管或碳素管。
本实用新型相对现有技术的有益效果:本实用新型采用红外发热管装在一个相对封闭的金属空间内,利用光波加热金属腔体,再利用金属腔体与空气交换热量,杜绝了发热管与外界可燃物体接触引起火灾的隐患,同时利用光波来完成加热金属腔体,利用空气进行热交换,不存在现有技术中采用电阻时因时间长了会增大接触电阻效率下降的问题,更不存在漏电的问题,使用安全。
附图说明
图1是本实用新型立体结构示意图。
图2是两个金属腔体对接后与左端盖、右端盖组装起来的示意图。
图3是左端盖或右端盖结构示意图。
图4是上端盖或下端盖结构示意图。
图5是固定片结构示意图。
具体实施方式
为了使本实用新型实现的技术手段、创作特征、达成的目的与功效容易明白了解,下面结合附图进一步阐述本实用新型。
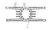
如图1所示,一种新型电取暖器发热体,包括金属腔体1,金属腔体1内插装有红外发热管2,金属腔体1内侧圆周分布有用于吸收红外发热管光波热量的导热片12,金属腔体1外侧设有散热片11。红外发热管2为卤素管或碳素管或其它可以发出红外线加热的管子,红外发热管2并联或串联后与温控器或控制板相连。
其中,金属腔体1为长条形中空腔体,散热片11、导热片12与金属腔体1为铝合金整体拉伸成型的一体结构。
如图2所示,金属腔体1有多个,各金属腔体1顺次卡扣相连,相邻的两金属腔体1上的散热片11对接后形成一散热腔10;红外发热管2两端分别固定安装在两固定片3上,两固定片3分别与金属腔体1两端锁紧连接,固定片3上设有与散热腔10相通的透气孔31(如图5所示)。在金属腔体1外还卡扣连接有左端盖41、右端盖42(如图3所示)、上端盖和下端盖(如图4所示)。
Claims (7)
1.一种新型电取暖器发热体,其特征在于包括金属腔体,金属腔体内插装有红外发热管,金属腔体内侧圆周分布有用于吸收红外发热管光波热量的导热片,金属腔体外侧设有散热片。
2.根据权利要求1所述一种新型电取暖器发热体,其特征在于:所述金属腔体为长条形中空腔体,所述导热片、散热片与金属腔体为铝合金整体拉伸成型的一体结构。
3.根据权利要求2所述一种新型电取暖器发热体,其特征在于:所述金属腔体有多个,各金属腔体顺次卡扣相连,相邻的两金属腔体上的散热片对接后形成一散热腔;所述红外发热管两端分别固定安装在两固定片上,两固定片分别与金属腔体两端锁紧连接,固定片上设有与散热腔相通的透气孔。
4.根据权利要求3所述一种新型电取暖器发热体,其特征在于:所述在金属腔体上卡扣连接有左端盖、右端盖、上端盖和下端盖。
5.根据权利要求3所述一种新型电取暖器发热体,其特征在于:所述红外发热管并联或串联后与温控器相连。
6.根据权利要求3所述一种新型电取暖器发热体,其特征在于:所述红外发热管并联或串联后与控制板相连。
7.根据权利要求1所述一种新型电取暖器发热体,其特征在于:所述红外发热管为卤素管或碳素管。
Priority Applications (1)
| Application Number | Priority Date | Filing Date | Title |
|---|---|---|---|
| CN2011204795090U CN202328473U (zh) | 2011-11-28 | 2011-11-28 | 一种新型电取暖器发热体 |
Applications Claiming Priority (1)
| Application Number | Priority Date | Filing Date | Title |
|---|---|---|---|
| CN2011204795090U CN202328473U (zh) | 2011-11-28 | 2011-11-28 | 一种新型电取暖器发热体 |
Publications (1)
| Publication Number | Publication Date |
|---|---|
| CN202328473U true CN202328473U (zh) | 2012-07-11 |
Family
ID=46440454
Family Applications (1)
| Application Number | Title | Priority Date | Filing Date |
|---|---|---|---|
| CN2011204795090U Expired - Fee Related CN202328473U (zh) | 2011-11-28 | 2011-11-28 | 一种新型电取暖器发热体 |
Country Status (1)
| Country | Link |
|---|---|
| CN (1) | CN202328473U (zh) |
Cited By (5)
| Publication number | Priority date | Publication date | Assignee | Title |
|---|---|---|---|---|
| CN107062358A (zh) * | 2016-12-16 | 2017-08-18 | 江苏海创电气科技有限公司 | 一种智能控温光子散热器 |
| CN107559936A (zh) * | 2017-09-08 | 2018-01-09 | 贵州美诚凯辉电器制造有限公司 | 电取暖装置 |
| CN108006792A (zh) * | 2017-11-30 | 2018-05-08 | 徐欣欣 | 一种发热片结构以及电热挂毯暖气 |
| CN109945727A (zh) * | 2019-02-27 | 2019-06-28 | 烯旺新材料科技股份有限公司 | 一种散热片及调温装置 |
| CN114686974A (zh) * | 2022-03-30 | 2022-07-01 | 上海埃延半导体有限公司 | 一种用于衬底外延的反应器 |
-
2011
- 2011-11-28 CN CN2011204795090U patent/CN202328473U/zh not_active Expired - Fee Related
Cited By (5)
| Publication number | Priority date | Publication date | Assignee | Title |
|---|---|---|---|---|
| CN107062358A (zh) * | 2016-12-16 | 2017-08-18 | 江苏海创电气科技有限公司 | 一种智能控温光子散热器 |
| CN107559936A (zh) * | 2017-09-08 | 2018-01-09 | 贵州美诚凯辉电器制造有限公司 | 电取暖装置 |
| CN108006792A (zh) * | 2017-11-30 | 2018-05-08 | 徐欣欣 | 一种发热片结构以及电热挂毯暖气 |
| CN109945727A (zh) * | 2019-02-27 | 2019-06-28 | 烯旺新材料科技股份有限公司 | 一种散热片及调温装置 |
| CN114686974A (zh) * | 2022-03-30 | 2022-07-01 | 上海埃延半导体有限公司 | 一种用于衬底外延的反应器 |
Similar Documents
| Publication | Publication Date | Title |
|---|---|---|
| CN201740110U (zh) | 一种电热膜双面取暖器 | |
| CN202328473U (zh) | 一种新型电取暖器发热体 | |
| EP3040639B1 (en) | Radiating fin with bent radiating portion and electrothermal oil heater using same | |
| CN201539917U (zh) | 电热膜双面取暖器 | |
| CN201463224U (zh) | 多管分离加热结构的电热水器 | |
| CN201954651U (zh) | 充油对流速效一体化加热体 | |
| CN202281299U (zh) | 油热暖风机发热体 | |
| CN201937849U (zh) | 一种ptc液体加热器 | |
| CN206119976U (zh) | 覆铝电热锅 | |
| CN206281036U (zh) | 一种带有散热器的远红外电暖器 | |
| CN201443809U (zh) | 一种电暖器 | |
| CN201114835Y (zh) | 管式不带电ptc发热器 | |
| CN201259270Y (zh) | 一种对流电暖器 | |
| CN203704123U (zh) | 一种带有网格散热片的电热油汀 | |
| CN202121802U (zh) | 管式表面不带电ptc发热器 | |
| CN202452582U (zh) | 一种小型电暖器 | |
| CN209130991U (zh) | 一种电暖气片 | |
| CN106123095A (zh) | 电暖装置 | |
| CN205897322U (zh) | 电暖装置 | |
| CN204006272U (zh) | 空气对流式电暖器 | |
| CN202361602U (zh) | 金属ptc单管空调加热器 | |
| CN201000133Y (zh) | 内嵌式碳纤维电暖器 | |
| CN202485083U (zh) | 一种新型远红外电暖气 | |
| CN201517812U (zh) | 防爆型超导液电加热取暖器 | |
| CN202281300U (zh) | 一种封闭式电热油汀 |
Legal Events
| Date | Code | Title | Description |
|---|---|---|---|
| C14 | Grant of patent or utility model | ||
| GR01 | Patent grant | ||
| CF01 | Termination of patent right due to non-payment of annual fee |
Granted publication date: 20120711 Termination date: 20141128 |
|
| EXPY | Termination of patent right or utility model |