CN202310978U - Greenhouse atomizing machine - Google Patents
Greenhouse atomizing machine Download PDFInfo
- Publication number
- CN202310978U CN202310978U CN201120449542.9U CN201120449542U CN202310978U CN 202310978 U CN202310978 U CN 202310978U CN 201120449542 U CN201120449542 U CN 201120449542U CN 202310978 U CN202310978 U CN 202310978U
- Authority
- CN
- China
- Prior art keywords
- frame
- pressure
- module
- greenhouse
- sprayer according
- Prior art date
- Legal status (The legal status is an assumption and is not a legal conclusion. Google has not performed a legal analysis and makes no representation as to the accuracy of the status listed.)
- Expired - Fee Related
Links
- 239000003814 drug Substances 0.000 claims abstract description 29
- 239000007788 liquid Substances 0.000 claims abstract description 21
- 239000007921 spray Substances 0.000 claims abstract description 13
- 230000000087 stabilizing effect Effects 0.000 claims abstract description 5
- 229940079593 drug Drugs 0.000 claims description 15
- 238000004804 winding Methods 0.000 claims description 5
- 230000001105 regulatory effect Effects 0.000 claims description 4
- 239000000575 pesticide Substances 0.000 abstract description 5
- 238000005507 spraying Methods 0.000 abstract description 4
- 230000000903 blocking effect Effects 0.000 abstract description 2
- 241000238631 Hexapoda Species 0.000 description 1
- 241000607479 Yersinia pestis Species 0.000 description 1
- 230000009286 beneficial effect Effects 0.000 description 1
- 201000010099 disease Diseases 0.000 description 1
- 208000037265 diseases, disorders, signs and symptoms Diseases 0.000 description 1
- 239000003517 fume Substances 0.000 description 1
- 238000000034 method Methods 0.000 description 1
- -1 pressure module 5 Substances 0.000 description 1
- 239000000126 substance Substances 0.000 description 1
Images
Classifications
-
- Y—GENERAL TAGGING OF NEW TECHNOLOGICAL DEVELOPMENTS; GENERAL TAGGING OF CROSS-SECTIONAL TECHNOLOGIES SPANNING OVER SEVERAL SECTIONS OF THE IPC; TECHNICAL SUBJECTS COVERED BY FORMER USPC CROSS-REFERENCE ART COLLECTIONS [XRACs] AND DIGESTS
- Y02—TECHNOLOGIES OR APPLICATIONS FOR MITIGATION OR ADAPTATION AGAINST CLIMATE CHANGE
- Y02A—TECHNOLOGIES FOR ADAPTATION TO CLIMATE CHANGE
- Y02A40/00—Adaptation technologies in agriculture, forestry, livestock or agroalimentary production
- Y02A40/10—Adaptation technologies in agriculture, forestry, livestock or agroalimentary production in agriculture
- Y02A40/25—Greenhouse technology, e.g. cooling systems therefor
Landscapes
- Catching Or Destruction (AREA)
Abstract
本实用新型涉及一种农用喷雾机,公开了一种温室喷雾机,包括:机架、安装在机架上的液药箱、采用交流电驱动的压力模块以及喷药枪。本实用新型采用交流电驱动压力模块控制喷药枪进行喷药,减少了作业时对环境和作物的污染;进一步,压力模块内设有稳压模块,有效节约了电能;进一步地,采用防滴防堵喷嘴,有效防止农药滴漏和堵塞喷嘴,从而提高了农药利用率和工作效率。
The utility model relates to an agricultural sprayer, which discloses a greenhouse sprayer, comprising: a frame, a liquid medicine tank installed on the frame, a pressure module driven by alternating current and a spray gun. The utility model adopts the alternating current to drive the pressure module to control the spraying gun for spraying, which reduces the pollution to the environment and crops during operation; further, the pressure module is equipped with a voltage stabilizing module, which effectively saves electric energy; Blocking nozzles can effectively prevent pesticide dripping and nozzle clogging, thereby improving the utilization rate of pesticides and work efficiency.
Description
技术领域 technical field
本实用新型涉及一种农用喷雾机,特别是涉及一种适用于温室作物的农用喷雾机。The utility model relates to an agricultural sprayer, in particular to an agricultural sprayer suitable for greenhouse crops.
背景技术 Background technique
近年来温室、塑料大棚等保护地种植发展迅速,温室大棚中的病虫害主要是通过喷洒各类化学农药来防治,但目前的农用药物喷雾机大多采用汽油机驱动,该类喷雾机在温室内作业时产生严重的油烟污染,对温室作物的品质产生严重的影响。In recent years, greenhouses, plastic greenhouses and other protected areas have developed rapidly. Diseases and insect pests in greenhouses are mainly controlled by spraying various chemical pesticides. However, most of the current agricultural sprayers are driven by gasoline engines. Serious oil fume pollution is produced, which has a serious impact on the quality of greenhouse crops.
实用新型内容 Utility model content
(一)要解决的技术问题(1) Technical problems to be solved
本实用新型要解决的技术问题是如何减少喷雾机在温室作业时对环境和作物的污染。The technical problem to be solved by the utility model is how to reduce the pollution of the sprayer to the environment and crops when it works in the greenhouse.
(二)技术方案(2) Technical solutions
为了解决上述技术问题,本实用新型提供一种温室喷雾机,包括:机架;安装在机架上的液药箱,其底部设有出料口;采用交流电驱动的压力模块,其设有进药口和出药口;位于机架前端的喷药枪,其枪口设有喷嘴;进料管,其两端分别与液药箱的出料口和压力模块的进药口相连接;高压管,其两端分别与压力模块的出药口和喷药枪相连接。In order to solve the above technical problems, the utility model provides a greenhouse sprayer, which includes: a frame; a liquid medicine tank installed on the frame, with a discharge port at the bottom; The drug inlet and the drug outlet; the spray gun located at the front end of the frame, the nozzle of which is provided with a nozzle; the feed pipe, the two ends of which are respectively connected with the outlet of the liquid drug tank and the drug inlet of the pressure module; the high pressure The two ends of the tube are respectively connected with the drug outlet of the pressure module and the spray gun.
其中,所述喷嘴为防滴防堵型喷嘴。Wherein, the nozzle is an anti-drip and anti-clogging type nozzle.
其中,所述压力模块内部设有稳压模块。Wherein, the pressure module is provided with a voltage stabilizing module inside.
其中,所述液药箱的下部设有液位模块。Wherein, the lower part of the liquid medicine tank is provided with a liquid level module.
其中,所述进药口与高压管的连接处设有调压阀。Wherein, the connection between the drug inlet and the high-pressure pipe is provided with a pressure regulating valve.
其中,所述机架的前端还设有绕管器。Wherein, the front end of the frame is also provided with a pipe winder.
其中,所述机架的后端设有绕线架。Wherein, the rear end of the frame is provided with a winding frame.
其中,所述机架的底部设有四个轮子。Wherein, the bottom of the frame is provided with four wheels.
(三)有益效果(3) Beneficial effects
上述技术方案所提供的一种温室喷雾机,采用交流电驱动压力模块控制喷药枪进行喷药,减少了作业时对环境和作物的污染;进一步,压力模块内设有稳压模块,有效节约电能;进一步,采用防滴防堵喷嘴,有效防止农药滴漏和堵塞喷嘴,从而提高了农药利用率和工作效率。The greenhouse sprayer provided by the above technical solution uses an AC-driven pressure module to control the spray gun for spraying, which reduces the pollution to the environment and crops during operation; further, the pressure module is equipped with a voltage stabilizing module to effectively save electric energy ; Further, anti-drip and anti-blocking nozzles are used to effectively prevent pesticides from dripping and blocking nozzles, thereby improving the utilization rate and work efficiency of pesticides.
附图说明 Description of drawings
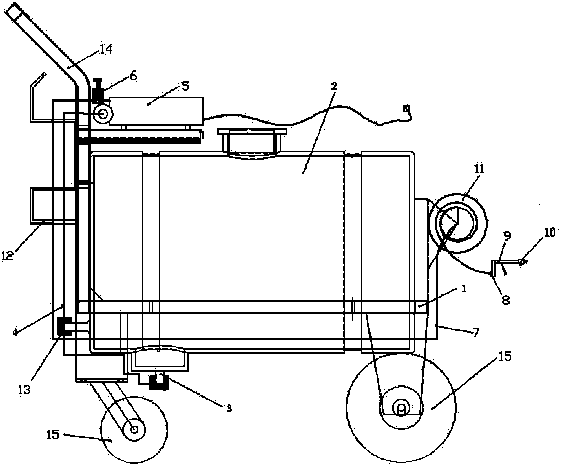
图1是本实用新型温室喷雾机的主视图;Fig. 1 is the front view of the utility model greenhouse sprayer;
图2是本实用新型温室喷雾机的侧视图。Fig. 2 is a side view of the utility model greenhouse sprayer.
其中,1、机架;2、液药箱;3、出料口;4、进料管;5、压力模块;6、调压阀;7、高压管;8、转动接头;9、喷药枪;10、喷嘴;11、绕管器;12、绕线架;13、液位模块;14、推手;15、轮子。Among them, 1. rack; 2. liquid medicine tank; 3. discharge port; 4. feed pipe; 5. pressure module; 6. pressure regulating valve; 7. high pressure pipe; 8. rotary joint; 9. spray Gun; 10, nozzle; 11, pipe winder; 12, winding frame; 13, liquid level module; 14, push handle; 15, wheel.
具体实施方式 Detailed ways
下面结合附图和实施例,对本实用新型的具体实施方式作进一步详细描述。以下实施例用于说明本实用新型,但不用来限制本实用新型的范围。Below in conjunction with accompanying drawing and embodiment, the specific embodiment of the utility model is described in further detail. The following examples are used to illustrate the utility model, but not to limit the scope of the utility model.
图1和2所示,本实用新型温室喷雾机包括:机架1,安装在机架1上装有混合后药液的液药箱2,压力模块5、喷药枪9、进料管4以及高压管7,所述液药箱2的底部设有出料口3。所述压力模块5包括电机、喷药泵、压力表、过滤器、进药口、出药口以及电缆。所述进料管4的两端分别与所述出料口3和所述进药口相连;所述高压管7的两端分别与所述出药口与所述喷药枪9相连,所述出药口与高压管7的连接处设有调压阀6,所述高压管7与喷药枪9的连接处设有转动接头8,所述喷药枪9设有防滴防堵喷嘴10,喷药枪9位于机架1的前端。其中,压力模块5设有交流电插头,交流电驱动压力模块5工作。所述压力模块5内部还设有稳压模块,稳压模块可根据设定的压力值对药液进行加压,可实现压力单元的间歇工作,有效节省电能。Shown in Fig. 1 and 2, the greenhouse sprayer of the present utility model comprises:
所述机架1的前端还安装有绕管器11,绕管器11设有可折叠的把手,转动把手可使高压管7在绕管器11内环绕,不使用时可使高压管7缠绕在绕管器11中,节省空间以便搬运;所述机架1的后端设有绕线架12,足够长的电缆缠绕在绕线架12上,需要使用时将交流电插头插入温室内的插座上,电缆可随机架1的移动被拉出绕线器12。The front end of the
所述液药箱2的下部安装有液位模块13,当液药箱2的液位高度低于警戒线时,液位模块13会自动报警,提醒操作人员应该添加药液。A
为了方便机架1移动,设有安放机架1的后部设有推手14,在所述机架1的底部设有四个轮子15,其中的两个安装在车架推手14前部,另外两个安装在车架推手14的后部。In order to facilitate the movement of the
以上所述仅是本实用新型的优选实施方式,应当指出,对于本技术领域的普通技术人员来说,在不脱离本实用新型技术原理的前提下,还可以做出若干改进和替换,这些改进和替换也应视为本实用新型的保护范围。The above is only the preferred embodiment of the utility model, it should be pointed out that for those of ordinary skill in the art, without departing from the technical principle of the utility model, some improvements and replacements can also be made. And replacement should also be regarded as the protection scope of the present utility model.
Claims (8)
Priority Applications (1)
| Application Number | Priority Date | Filing Date | Title |
|---|---|---|---|
| CN201120449542.9U CN202310978U (en) | 2011-11-14 | 2011-11-14 | Greenhouse atomizing machine |
Applications Claiming Priority (1)
| Application Number | Priority Date | Filing Date | Title |
|---|---|---|---|
| CN201120449542.9U CN202310978U (en) | 2011-11-14 | 2011-11-14 | Greenhouse atomizing machine |
Publications (1)
| Publication Number | Publication Date |
|---|---|
| CN202310978U true CN202310978U (en) | 2012-07-11 |
Family
ID=46422993
Family Applications (1)
| Application Number | Title | Priority Date | Filing Date |
|---|---|---|---|
| CN201120449542.9U Expired - Fee Related CN202310978U (en) | 2011-11-14 | 2011-11-14 | Greenhouse atomizing machine |
Country Status (1)
| Country | Link |
|---|---|
| CN (1) | CN202310978U (en) |
Cited By (7)
| Publication number | Priority date | Publication date | Assignee | Title |
|---|---|---|---|---|
| CN103478110A (en) * | 2013-09-16 | 2014-01-01 | 北京农业信息技术研究中心 | Disinfecting and pesticide applying device for multi-span greenhouse |
| CN104719274A (en) * | 2015-04-03 | 2015-06-24 | 精韬伟业(天津)环保能源科技发展有限公司 | Backpack type normal temperature smoke pesticide sprayer |
| CN105994242A (en) * | 2016-08-02 | 2016-10-12 | 天津百利种苗培育有限公司 | Portable high-capacity pesticide sprayer |
| CN106689091A (en) * | 2015-07-18 | 2017-05-24 | 余姚市力成模具厂 | Spray pipe passage controller used for agriculture |
| CN107372433A (en) * | 2017-08-17 | 2017-11-24 | 北京农业智能装备技术研究中心 | A kind of wind send device for administration of drugs and method |
| CN109045526A (en) * | 2018-05-10 | 2018-12-21 | 苏州海马消防设备制造有限公司 | A kind of water injector of fire-fighting |
| CN110604112A (en) * | 2018-06-14 | 2019-12-24 | 安徽新兴翼凌机电发展有限公司 | Convenient and easy-to-use agricultural pesticide spraying device |
-
2011
- 2011-11-14 CN CN201120449542.9U patent/CN202310978U/en not_active Expired - Fee Related
Cited By (10)
| Publication number | Priority date | Publication date | Assignee | Title |
|---|---|---|---|---|
| CN103478110A (en) * | 2013-09-16 | 2014-01-01 | 北京农业信息技术研究中心 | Disinfecting and pesticide applying device for multi-span greenhouse |
| CN103478110B (en) * | 2013-09-16 | 2015-03-18 | 北京农业信息技术研究中心 | Disinfecting and pesticide applying device for multi-span greenhouse |
| CN104719274A (en) * | 2015-04-03 | 2015-06-24 | 精韬伟业(天津)环保能源科技发展有限公司 | Backpack type normal temperature smoke pesticide sprayer |
| CN104719274B (en) * | 2015-04-03 | 2018-05-08 | 精韬伟业(天津)环保能源科技发展有限公司 | Backpack normal temperature fog pesticide applicator |
| CN106689091A (en) * | 2015-07-18 | 2017-05-24 | 余姚市力成模具厂 | Spray pipe passage controller used for agriculture |
| CN105994242A (en) * | 2016-08-02 | 2016-10-12 | 天津百利种苗培育有限公司 | Portable high-capacity pesticide sprayer |
| CN107372433A (en) * | 2017-08-17 | 2017-11-24 | 北京农业智能装备技术研究中心 | A kind of wind send device for administration of drugs and method |
| CN107372433B (en) * | 2017-08-17 | 2020-08-28 | 北京农业智能装备技术研究中心 | Air-conveying pesticide applying device and method |
| CN109045526A (en) * | 2018-05-10 | 2018-12-21 | 苏州海马消防设备制造有限公司 | A kind of water injector of fire-fighting |
| CN110604112A (en) * | 2018-06-14 | 2019-12-24 | 安徽新兴翼凌机电发展有限公司 | Convenient and easy-to-use agricultural pesticide spraying device |
Similar Documents
| Publication | Publication Date | Title |
|---|---|---|
| CN202310978U (en) | Greenhouse atomizing machine | |
| CN202310977U (en) | Pesticide sprayer | |
| CN206165591U (en) | Portable agriculture device that spreads pesticides of spraying water | |
| CN202122033U (en) | Hand-operated spraying device of self-propelled sprayer | |
| CN205357887U (en) | A pneumatic spraying machine for fruit tree is planted | |
| CN202514470U (en) | Spraying system with field plant protection function | |
| CN202232660U (en) | Small pesticide spraying vehicle | |
| CN219961761U (en) | Pesticide spraying device for pesticide test | |
| CN203290128U (en) | Protection forest pesticide spraying machine | |
| CN208407367U (en) | A kind of courtyard-style gardens spray locomotive | |
| CN205865740U (en) | Agricultural protection against insects atomizer | |
| CN201140140Y (en) | electric sprayer | |
| CN202129166U (en) | Rear spraying device of self-propelled spraying machine | |
| CN205199812U (en) | Mister head impurity removal's structure | |
| CN207613018U (en) | a pesticide sprayer | |
| CN207444108U (en) | A kind of sprinkling system for the intelligent dispensing that can be cleaned automatically | |
| CN203620833U (en) | Multi-functional electric sprayer | |
| CN210496874U (en) | Ultra-low capacity sprayer | |
| CN202078986U (en) | Novel self-priming electric pump type sprayer | |
| CN202845233U (en) | Motor-driven air sending multifunction spraying machine | |
| CN205585158U (en) | Pesticide sprayer | |
| CN202958558U (en) | Convenient pesticide atomizer | |
| CN205794602U (en) | A kind of packaged type motor-driven pesticide sprayer | |
| CN211064496U (en) | Convenient to use's agricultural irrigation device | |
| CN222396763U (en) | Remote agricultural convenient medicine blowing machine |
Legal Events
| Date | Code | Title | Description |
|---|---|---|---|
| C14 | Grant of patent or utility model | ||
| GR01 | Patent grant | ||
| CF01 | Termination of patent right due to non-payment of annual fee |
Granted publication date: 20120711 Termination date: 20141114 |
|
| EXPY | Termination of patent right or utility model |
