CN202288583U - External urine collector for women - Google Patents
External urine collector for women Download PDFInfo
- Publication number
- CN202288583U CN202288583U CN2011202778870U CN201120277887U CN202288583U CN 202288583 U CN202288583 U CN 202288583U CN 2011202778870 U CN2011202778870 U CN 2011202778870U CN 201120277887 U CN201120277887 U CN 201120277887U CN 202288583 U CN202288583 U CN 202288583U
- Authority
- CN
- China
- Prior art keywords
- urinal
- external
- front panel
- allantois
- urinal according
- Prior art date
- Legal status (The legal status is an assumption and is not a legal conclusion. Google has not performed a legal analysis and makes no representation as to the accuracy of the status listed.)
- Expired - Fee Related
Links
Images
Landscapes
- Undergarments, Swaddling Clothes, Handkerchiefs Or Underwear Materials (AREA)
Abstract
一种女用体外接尿器,包括腰带、前幅及与所述前幅连接的接尿囊,其特征在于,所述接尿器还包括后幅,所述后幅的上端与腰带连接,两侧和下端与前幅连接成为内裤。本实用新型在现有的体外接尿器上增加后幅,使其成为一个完整的内裤,不仅穿着舒服,使用方便,美观大方,而且紧固性好,能有效防止尿液外漏。
An external urinal for women, comprising a belt, a front panel and an allantois connected to the front panel, characterized in that the urinal also includes a rear panel, the upper end of which is connected to the waist belt, The two sides and the lower end are connected with the front panel to become underwear. The utility model adds a rear panel to the existing external urinal to make it a complete underpants, which is not only comfortable to wear, convenient to use, elegant in appearance, but also has good fastening performance and can effectively prevent urine from leaking out.
Description
技术领域 technical field
本实用新型涉及一种体外接尿器,尤其涉及一种女用体外接尿器。 The utility model relates to an external urinal, in particular to an external urinal for women. the
背景技术 Background technique
现有一种女用体外接尿器,参见图1,包括腰带1、上端与腰带1连接的前幅2及与所述前幅2下方的开口3连接并紧贴于人体下部的接尿囊,所述前幅2下端连有两根布带14,使用时,所述两根布带14系于人体的腰部起紧固作用,排尿时,尿液排入接尿囊后通过胶管流入体外引流袋。这种女用体外接尿器为行动不便或小便失禁的女性患者排尿提供了便利,但是,这种女用体外接尿器结构过于简单,不仅穿着者感觉不舒服,而且很难紧固接尿囊,容易引起尿液外漏。
There is an existing external urinal for women, as shown in Fig. 1, which includes a
实用新型内容 Utility model content
本实用新型的目的就是为了提供一种女用体外接尿器,该接尿器不仅穿着舒服,而且不容易引起尿液外漏。 The purpose of this utility model is to provide a female external urinal, which is not only comfortable to wear, but also not easy to cause urine leakage. the
本实用新型的目的是这样实现的,一种女用体外接尿器,包括腰带、前幅及与所述前幅连接的接尿囊,其特征在于:所述接尿器还包括后幅,所述后幅的上端与所述腰带连接,两侧和下端与所述前幅连接成为内裤。 The purpose of this utility model is achieved in this way, a female external urine receiver, including a belt, a front panel and an allantoic connection connected to the front panel, characterized in that: the urine receiver also includes a rear panel, The upper end of the rear panel is connected with the waist belt, and the two sides and the lower end are connected with the front panel to form underwear. the
为了穿着方便,上述内裤分为前片和后片,所述前片和后片的两侧采用挂扣连接。 For the convenience of wearing, the underpants are divided into a front piece and a back piece, and the two sides of the front piece and the back piece are connected by hanging buckles. the
为了增加提升度,使接尿囊紧贴于身体,上述前片和后片分别从 外到里斜向下增设有橡皮筋。 In order to increase the lifting degree and make the allantois close to the body, the above-mentioned front piece and the back piece are respectively provided with rubber bands obliquely downwards from the outside to the inside. the
为了进一步增加提升度,上述前片的下部增设高弹棉。 In order to further increase the lifting degree, high elastic cotton is added to the lower part of the above-mentioned front piece. the
为了穿着紧固并防止破损,上述挂扣安装的位置增设加厚层。 In order to wear fast and prevent damage, a thickened layer is added to the position where the above-mentioned hanging buckle is installed. the
为了紧身,所用面料为弹力面料。 For a tight fit, the fabric used is a stretch fabric. the
为了使用方便,所述接尿囊通过胶管与体外引流袋连接。 For the convenience of use, the allantois is connected with the external drainage bag through a rubber tube. the
本实用新型有如下有益效果,本实用新型在现有的体外接尿器上增加后幅,使其成为一个完整的内裤,不仅穿着舒服,使用方便,美观大方,而且紧固性好,能有效防止尿液外漏。 The utility model has the following beneficial effects. The utility model adds a rear panel to the existing external urinal to make it a complete underwear, which is not only comfortable to wear, convenient to use, beautiful in appearance, but also has good fastening performance and can effectively Prevent urine leakage. the
附图说明 Description of drawings
图1为现有女用体外接尿器结构示意图; Fig. 1 is the structural schematic diagram of existing female external urinal;
图2为本实用新型前视图; Fig. 2 is a front view of the utility model;
图3为本实用新型后视图; Fig. 3 is the rear view of the utility model;
图4为本实用新型接尿囊结构示意图。 Fig. 4 is the schematic diagram of the structure of the utility model connecting the allantois. the
具体实施方式 Detailed ways
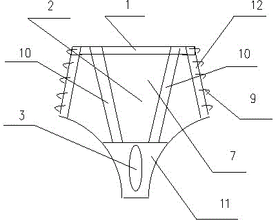
实施例,参见图2、图3,一种女用体外接尿器,包括腰带1、前幅2及与所述前幅2连接的接尿囊13,该接尿器还包括后幅4,后幅4的上端与腰带1连接,两侧和下端与前幅2连接成为内裤。
Embodiment, referring to Fig. 2 and Fig. 3, a female external urinal includes a
该内裤分为前片7和后片8,前片7和后片8之间采用挂扣9连接。
The underwear is divided into a
前片7及后片8分别从外到里斜向下增设有橡皮筋10。
The
前片7的下部增设高弹棉11。
The bottom of the
挂扣9安装的位置增设加厚层12。
A thickened
该接尿器所用面料为弹力面料。 The used fabric of the urinal is elastic fabric. the
参见图4,接尿囊13通过胶管5与体外引流袋6连接,接尿囊13为河南新乡市日康医疗器械厂生产。
Referring to Fig. 4, the
Claims (10)
Priority Applications (1)
| Application Number | Priority Date | Filing Date | Title |
|---|---|---|---|
| CN2011202778870U CN202288583U (en) | 2011-08-02 | 2011-08-02 | External urine collector for women |
Applications Claiming Priority (1)
| Application Number | Priority Date | Filing Date | Title |
|---|---|---|---|
| CN2011202778870U CN202288583U (en) | 2011-08-02 | 2011-08-02 | External urine collector for women |
Publications (1)
| Publication Number | Publication Date |
|---|---|
| CN202288583U true CN202288583U (en) | 2012-07-04 |
Family
ID=46357581
Family Applications (1)
| Application Number | Title | Priority Date | Filing Date |
|---|---|---|---|
| CN2011202778870U Expired - Fee Related CN202288583U (en) | 2011-08-02 | 2011-08-02 | External urine collector for women |
Country Status (1)
| Country | Link |
|---|---|
| CN (1) | CN202288583U (en) |
Cited By (1)
| Publication number | Priority date | Publication date | Assignee | Title |
|---|---|---|---|---|
| CN108261134A (en) * | 2017-01-03 | 2018-07-10 | 杨福顺 | A kind of portable vehicle sitting posture urinal of health |
-
2011
- 2011-08-02 CN CN2011202778870U patent/CN202288583U/en not_active Expired - Fee Related
Cited By (1)
| Publication number | Priority date | Publication date | Assignee | Title |
|---|---|---|---|---|
| CN108261134A (en) * | 2017-01-03 | 2018-07-10 | 杨福顺 | A kind of portable vehicle sitting posture urinal of health |
Similar Documents
| Publication | Publication Date | Title |
|---|---|---|
| CN202288583U (en) | External urine collector for women | |
| CN201719426U (en) | Male urinary incontinence nursing drainage short pants | |
| CN201283042Y (en) | Convenient diaper for baby | |
| CN203815694U (en) | Stoma shorts | |
| CN202005266U (en) | Baby/infant pants with movable protective crotch | |
| CN203244486U (en) | Man urine receiving device | |
| CN202223408U (en) | Sitting-type urine catching instrument | |
| CN201742937U (en) | Underpants capable of changing bottom liner | |
| CN201230575Y (en) | Male reproduction health-care pants | |
| CN202035481U (en) | men's underwear | |
| CN219205972U (en) | High-comfort briefs for men | |
| CN201226792Y (en) | Menstrual period pants | |
| CN209075162U (en) | A kind of paper diaper | |
| CN105726223A (en) | Novel trouser sanitary towel based on quick-changing structure | |
| CN214414119U (en) | Trousers for postoperative patient | |
| CN207341189U (en) | A kind of indirect inguinal hernia underpants | |
| CN201399049Y (en) | Infant paper diaper | |
| CN221864693U (en) | Elastic moisture absorption underpants | |
| CN205007100U (en) | Male sex catheter is used in nursing | |
| CN219042844U (en) | Novel urine collector | |
| CN107334574A (en) | Incontinence collection urinates close-fitting net trousers | |
| CN201108032Y (en) | Convenient health care trousers | |
| CN201701358U (en) | A kind of urine bag fitting structure for collecting urination | |
| CN201319861Y (en) | Underpants capable of leading men to sleep comfortably and hygienically | |
| CN202112312U (en) | Man health care underpants |
Legal Events
| Date | Code | Title | Description |
|---|---|---|---|
| C14 | Grant of patent or utility model | ||
| GR01 | Patent grant | ||
| C17 | Cessation of patent right | ||
| CF01 | Termination of patent right due to non-payment of annual fee |
Granted publication date: 20120704 Termination date: 20130802 |
