CN202277030U - Commonly-used medicine storage rack - Google Patents

Commonly-used medicine storage rack Download PDF

Info

Publication number
CN202277030U
CN202277030U CN2011203909361U CN201120390936U CN202277030U CN 202277030 U CN202277030 U CN 202277030U CN 2011203909361 U CN2011203909361 U CN 2011203909361U CN 201120390936 U CN201120390936 U CN 201120390936U CN 202277030 U CN202277030 U CN 202277030U
Authority
CN
China
Prior art keywords
medicines
medicine
commonly
medicine holding
storage rack
Prior art date
Legal status (The legal status is an assumption and is not a legal conclusion. Google has not performed a legal analysis and makes no representation as to the accuracy of the status listed.)
Expired - Fee Related
Application number
CN2011203909361U
Other languages
Chinese (zh)
Inventor
李福良
Current Assignee (The listed assignees may be inaccurate. Google has not performed a legal analysis and makes no representation or warranty as to the accuracy of the list.)
Individual
Original Assignee
Individual
Priority date (The priority date is an assumption and is not a legal conclusion. Google has not performed a legal analysis and makes no representation as to the accuracy of the date listed.)
Filing date
Publication date
Application filed by Individual filed Critical Individual
Priority to CN2011203909361U priority Critical patent/CN202277030U/en
Application granted granted Critical
Publication of CN202277030U publication Critical patent/CN202277030U/en
Anticipated expiration legal-status Critical
Expired - Fee Related legal-status Critical Current

Links

Images

Landscapes

  • Warehouses Or Storage Devices (AREA)

Abstract

A commonly-used medicine storage rack comprises a support and two medicine holding trays; each medicine holding tray adopts a rectangular structure, a rail is arranged at the periphery of each medicine holding tray, and partition boards are arranged in each medicine holding tray; and one side of one medicine holding tray is fixedly connected with that of the other medicine holding tray, so that the two medicine holding trays form an upper layer and a lower layer. The commonly-used medicine storage rack can be placed beside a person working in a dispensary, various commonly-used medicines can be placed on the medicine holding trays, the rails can prevent the medicines from slipping, and the staff can stick labels with the names of the medicines on the rails conveniently, so that the commonly-used medicine storage rack has the advantages that medicines are taken conveniently, a great number of medicines can be placed, the positions and the names of the medicines are definite, and time for taking the medicines and errors in medicine taking can be reduced.

Description

The common drug laying rack
Technical field
The utility model relates to a kind of pharmacy and uses apparatus, is specifically related to a kind of common drug laying rack.
Background technology
The Pharmacy in the pharmacy, the staff always likes some common drugs are placed in the place that can get conveniently, in order to the raising speed of getting it filled; Reduce patient's stand-by period, but in fact staff's desk space is limited, waits article but also will put prescription; So common drug put quantity just seldom; The doctor just need ask back and forth with the window of getting it filled at the medicine cupboard and run, and has not only increased staff's physical demands but also lost time, and has had a strong impact on the efficient of getting it filled.
The utility model content
The purpose of the utility model is exactly the defective that exists to prior art, and a kind of common drug laying rack is provided.
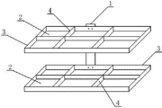
Its technical scheme is: comprise support and drug putting dish.Said drug putting dish is a rectangle structure, is provided with fence on every side, and its inside is provided with dividing plate; The drug putting dish is made as two, and a side of two drug putting dishes is fixedly connected into two-layer up and down through support.
The utility model can be placed on pharmacy staff at one's side; On the drug putting dish, place multiple common drug; Fence the landing that can prevent medicine is set; Can also be convenient to the personnel that do the label of nomenclature of drug is sticked on the top, have and get it filled conveniently, put that medicine is many, the medicine location name clear and definite, reduce the time of getting it filled and the advantage of the mistake of getting it filled.
Description of drawings
Fig. 1 is the structural representation of a kind of embodiment of the utility model.
The specific embodiment
With reference to Fig. 1, a kind of common drug laying rack comprises support 1 and drug putting dish 2.Said drug putting dish 2 is a rectangle structure, is provided with fence 3 on every side, and its inside is provided with dividing plate 4; Drug putting dish 2 is made as two, and a side of two drug putting dishes 2 is fixedly connected into two-layer up and down through support 1.

Claims (1)

1. a common drug laying rack comprises support and drug putting dish, it is characterized in that: said drug putting dish is a rectangle structure, is provided with fence on every side, and its inside is provided with dividing plate; The drug putting dish is made as two, and a side of two drug putting dishes is fixedly connected into two-layer up and down through support.
CN2011203909361U 2011-10-14 2011-10-14 Commonly-used medicine storage rack Expired - Fee Related CN202277030U (en)

Priority Applications (1)

Application Number Priority Date Filing Date Title
CN2011203909361U CN202277030U (en) 2011-10-14 2011-10-14 Commonly-used medicine storage rack

Applications Claiming Priority (1)

Application Number Priority Date Filing Date Title
CN2011203909361U CN202277030U (en) 2011-10-14 2011-10-14 Commonly-used medicine storage rack

Publications (1)

Publication Number Publication Date
CN202277030U true CN202277030U (en) 2012-06-20

Family

ID=46223218

Family Applications (1)

Application Number Title Priority Date Filing Date
CN2011203909361U Expired - Fee Related CN202277030U (en) 2011-10-14 2011-10-14 Commonly-used medicine storage rack

Country Status (1)

Country Link
CN (1) CN202277030U (en)

Cited By (1)

* Cited by examiner, † Cited by third party
Publication number Priority date Publication date Assignee Title
CN104398015A (en) * 2014-11-26 2015-03-11 湖南中医药大学 Special convenient rack for storing drug

Cited By (1)

* Cited by examiner, † Cited by third party
Publication number Priority date Publication date Assignee Title
CN104398015A (en) * 2014-11-26 2015-03-11 湖南中医药大学 Special convenient rack for storing drug

Similar Documents

Publication Publication Date Title
CN201617439U (en) Common medicine shelf
CN201384664Y (en) Nursing vehicle
CN202277030U (en) Commonly-used medicine storage rack
CN202750991U (en) Commonly used drug placing frame
CN202515018U (en) Common medicine putting frame
CN204444853U (en) Folding medicine container stand
CN201767418U (en) Commonly-used drug rack
CN201602377U (en) Placing shelf for common medicines
CN202604122U (en) Drug storage cabinet
CN201591291U (en) Portable medicine placing frame
CN202504697U (en) Medicine placing device for drugstore
CN203794043U (en) Automatic drugstore drug storage mechanism
CN202375518U (en) Medicine cabinet
CN204106443U (en) A kind of Mobile medical oral medicine car
CN201727131U (en) Rotary medicine rack
CN202426812U (en) Multi-functional emergency service vehicle
CN202312158U (en) Medical medicine shelf
CN202096391U (en) Medicine placing shelf for venous transfusion
CN205072435U (en) Medicine rack is got to drugstore western medicine
CN201929370U (en) Rotatable medicine placing shelf
CN208726145U (en) A kind of Emergency Medicine portable medicine taking device
CN201734889U (en) Novel dosage operating platform
CN208434983U (en) Medicament storage device
CN201392067Y (en) Storage rack for placing insulin in refrigerator
CN202859559U (en) Medical care tray

Legal Events

Date Code Title Description
C14 Grant of patent or utility model
GR01 Patent grant
C17 Cessation of patent right
CF01 Termination of patent right due to non-payment of annual fee

Granted publication date: 20120620

Termination date: 20131014