CN202276166U - Solar charger - Google Patents
Solar charger Download PDFInfo
- Publication number
- CN202276166U CN202276166U CN2011203893081U CN201120389308U CN202276166U CN 202276166 U CN202276166 U CN 202276166U CN 2011203893081 U CN2011203893081 U CN 2011203893081U CN 201120389308 U CN201120389308 U CN 201120389308U CN 202276166 U CN202276166 U CN 202276166U
- Authority
- CN
- China
- Prior art keywords
- solar
- charger
- charger body
- mobile phone
- battery
- Prior art date
- Legal status (The legal status is an assumption and is not a legal conclusion. Google has not performed a legal analysis and makes no representation as to the accuracy of the status listed.)
- Expired - Fee Related
Links
Images
Landscapes
- Charge And Discharge Circuits For Batteries Or The Like (AREA)
Abstract
本实用新型涉及一种太阳能充电器,包括座充本体,座充本体上设有USB插口、电源插头,座充本体的表面设有太阳能接收板,座充本体内设有电池槽和电源转换器,电池槽、太阳能接收板和电源转换器的输出端与USB插口连接,将普通的手机座充与太阳能技术及干电池结合起来,达到了随时随地为手机充电的目的,从而能实现使手机永不断电的效果。
The utility model relates to a solar charger, which comprises a charger body. The charger body is provided with a USB socket and a power plug. The surface of the charger body is provided with a solar receiving plate. The charger body is provided with a battery slot and a power converter. , the battery slot, the solar receiver board and the output end of the power converter are connected to the USB socket, and the ordinary mobile phone charger is combined with solar technology and dry batteries to achieve the purpose of charging the mobile phone anytime and anywhere, so that the mobile phone can be used forever. The effect of electricity.
Description
技术领域 technical field
本实用新型涉及一种充电器,具体地说,涉及一种利用太阳能为手机充电的太阳能充电器,属于电子技术领域。The utility model relates to a charger, in particular to a solar charger which uses solar energy to charge a mobile phone, and belongs to the field of electronic technology.
背景技术 Background technique
目前,普通手机通常能够待机3至5天,对于经常出差的公务人员及工作繁忙的上班族来说,会经常忘记为手机充电,受环境影响又无法随时为手机充电,为手机充电成为了一个人头疼的大问题,手机没有电,自动关机,使用非常不便。At present, ordinary mobile phones can usually stand by for 3 to 5 days. For public servants who often travel and busy office workers, they often forget to charge their mobile phones. Due to the influence of the environment, they cannot charge their mobile phones at any time. Charging mobile phones has become a problem. It is a big headache for people. The mobile phone has no power and automatically shuts down, which is very inconvenient to use.
实用新型内容 Utility model content
本实用新型要解决的问题是针对以上不足,提供一种使用方便的太阳能充电器。The problem to be solved by the utility model is to provide an easy-to-use solar charger aiming at the above deficiencies.
为解决以上问题,本实用新型采用以下技术方案:太阳能充电器,其特征在于:所述太阳能充电器包括座充本体,座充本体上设有USB插口、电源插头,座充本体的表面设有太阳能接收板,座充本体内设有电池槽和电源转换器,电池槽、太阳能接收板和电源转换器的输出端与USB插口连接。In order to solve the above problems, the utility model adopts the following technical solutions: a solar charger, which is characterized in that: the solar charger includes a charger body, the charger body is provided with a USB socket and a power plug, and the surface of the charger body is provided with The solar receiving board and the charger body are provided with a battery slot and a power converter, and the output ends of the battery slot, the solar receiving board and the power converter are connected to the USB socket.
作为上述技术方案的进一步改进:As a further improvement of the above technical solution:
所述座充本体的侧面上还设有电源指示灯、太阳能指示灯、电池指示灯和座充指示灯。The side of the charger body is also provided with a power indicator, a solar indicator, a battery indicator and a charger indicator.
本实用新型采用以上技术方案后,与现有技术相比,具有以下优点:将普通的手机座充与太阳能技术及干电池结合起来,达到了随时随地为手机充电的目的,从而能实现使手机永不断电的效果。After the utility model adopts the above technical scheme, compared with the prior art, the utility model has the following advantages: the ordinary mobile phone charger is combined with solar energy technology and dry batteries to achieve the purpose of charging the mobile phone anytime and anywhere, so that the mobile phone can be permanently charged. Uninterrupted power effect.
下面结合附图和实施例对本实用新型进行详细说明。The utility model is described in detail below in conjunction with accompanying drawing and embodiment.
附图说明 Description of drawings
附图1是本实用新型实施例中太阳能充电器的结构示意图;Accompanying
附图2是附图1的后视图;Accompanying drawing 2 is the back view of accompanying
附图3是附图1的左视图;Accompanying drawing 3 is the left view of accompanying
图中,In the figure,
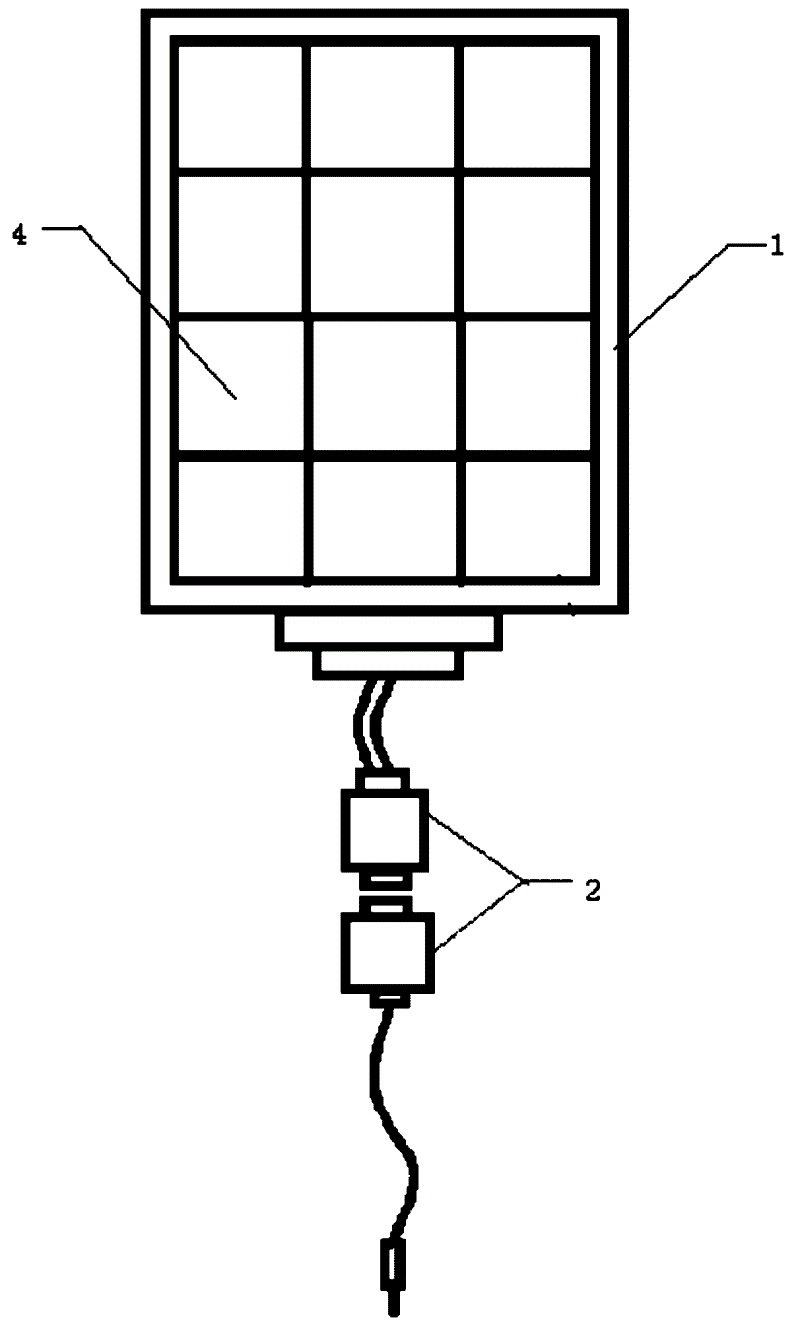
1-座充本体,2-USB插口,3-电源插头,4-太阳能接收板,5-电池槽,6-电源指示灯,7-太阳能指示灯,8-电池指示灯,9-座充指示灯。1-charger body, 2-USB socket, 3-power plug, 4-solar receiver board, 5-battery slot, 6-power indicator light, 7-solar indicator light, 8-battery indicator light, 9-cradle charger indicator lamp.
具体实施方式 Detailed ways
实施例,如图1、图2、图3所示,太阳能充电器,包括座充本体1,座充本体1上设有USB插口2、电源插头3,座充本体1的表面设有太阳能接收板4,座充本体1内设有电池槽5和电源转换器,电池槽5、太阳能接收板4和电源转换器的输出端与USB插口2连接,在座充本体1的侧面上还设有电源指示灯6、太阳能指示灯7、电池指示灯8和座充指示灯9。Embodiment, as shown in Fig. 1, Fig. 2 and Fig. 3, the solar charger includes a
座充本体1能够通过电源插头3连接外界220V电源,对手机电池进行充电;在没有220V电源的情况下,可以利用太阳光使用太阳能电池4对手机电池进行充电;在没有220V电源和阳光的情况下,可以将电池放于电池槽5对手机电池进行充电;这样,就可以随时为手机电池充电,解决了手机不能随时随地充电的问题。The
Claims (2)
Priority Applications (1)
| Application Number | Priority Date | Filing Date | Title |
|---|---|---|---|
| CN2011203893081U CN202276166U (en) | 2011-10-13 | 2011-10-13 | Solar charger |
Applications Claiming Priority (1)
| Application Number | Priority Date | Filing Date | Title |
|---|---|---|---|
| CN2011203893081U CN202276166U (en) | 2011-10-13 | 2011-10-13 | Solar charger |
Publications (1)
| Publication Number | Publication Date |
|---|---|
| CN202276166U true CN202276166U (en) | 2012-06-13 |
Family
ID=46196503
Family Applications (1)
| Application Number | Title | Priority Date | Filing Date |
|---|---|---|---|
| CN2011203893081U Expired - Fee Related CN202276166U (en) | 2011-10-13 | 2011-10-13 | Solar charger |
Country Status (1)
| Country | Link |
|---|---|
| CN (1) | CN202276166U (en) |
Cited By (1)
| Publication number | Priority date | Publication date | Assignee | Title |
|---|---|---|---|---|
| CN106505711A (en) * | 2015-09-08 | 2017-03-15 | 南京德朔实业有限公司 | Luminous energy charger and the combination of the charging with the Luminous energy charger |
-
2011
- 2011-10-13 CN CN2011203893081U patent/CN202276166U/en not_active Expired - Fee Related
Cited By (2)
| Publication number | Priority date | Publication date | Assignee | Title |
|---|---|---|---|---|
| CN106505711A (en) * | 2015-09-08 | 2017-03-15 | 南京德朔实业有限公司 | Luminous energy charger and the combination of the charging with the Luminous energy charger |
| CN106505711B (en) * | 2015-09-08 | 2019-04-19 | 南京德朔实业有限公司 | Luminous energy charger and with the Luminous energy charger charging combination |
Similar Documents
| Publication | Publication Date | Title |
|---|---|---|
| CN206117189U (en) | Electric toothbrush charging device | |
| CN202276166U (en) | Solar charger | |
| CN204681313U (en) | A kind of Solar energy charger based on GPS locator | |
| CN204305113U (en) | A kind of solar recharging mobile phone | |
| CN203326651U (en) | Solar charger for mobile phones | |
| CN203225556U (en) | Novel solar charging device | |
| CN201897683U (en) | Solar energy camera strap | |
| CN205248833U (en) | Dual Mode Power Bank with Solar Charging and Wireless Charging | |
| CN205123310U (en) | Mobile phone lithium battery charger that can suddenly fill | |
| CN203225591U (en) | A wireless transmission device for solar power generation | |
| CN204497759U (en) | Solar charger | |
| CN104578217A (en) | Chargable backpack | |
| CN201869248U (en) | Solar charging mobile phone housing | |
| CN103311993A (en) | Solar charger for cell phones | |
| CN204885263U (en) | Take USB charging socket's battery structure | |
| CN201562741U (en) | Rechargeable battery | |
| CN201994698U (en) | Portable solar energy travel power supply | |
| CN202930505U (en) | USB interface type solar battery | |
| CN202959266U (en) | Solar backpack | |
| CN202712896U (en) | Digital partner used for solar energy charging | |
| CN202651856U (en) | A mobile phone charger | |
| CN203014878U (en) | Mobile phone with photovoltaic panels | |
| CN201750174U (en) | Universal solar battery charger | |
| CN203423520U (en) | Solar socket | |
| CN201413857Y (en) | Solar rechargeable battery with plug |
Legal Events
| Date | Code | Title | Description |
|---|---|---|---|
| C14 | Grant of patent or utility model | ||
| GR01 | Patent grant | ||
| C17 | Cessation of patent right | ||
| CF01 | Termination of patent right due to non-payment of annual fee |
Granted publication date: 20120613 Termination date: 20121013 |
