CN202184454U - Chair with foldable ladder - Google Patents
Chair with foldable ladder Download PDFInfo
- Publication number
- CN202184454U CN202184454U CN2011203192024U CN201120319202U CN202184454U CN 202184454 U CN202184454 U CN 202184454U CN 2011203192024 U CN2011203192024 U CN 2011203192024U CN 201120319202 U CN201120319202 U CN 201120319202U CN 202184454 U CN202184454 U CN 202184454U
- Authority
- CN
- China
- Prior art keywords
- chair
- supporting leg
- section
- folding ladder
- crossbeam
- Prior art date
- Legal status (The legal status is an assumption and is not a legal conclusion. Google has not performed a legal analysis and makes no representation as to the accuracy of the status listed.)
- Expired - Fee Related
Links
- 238000010586 diagram Methods 0.000 description 3
- 230000007812 deficiency Effects 0.000 description 1
- 238000000034 method Methods 0.000 description 1
- 239000002699 waste material Substances 0.000 description 1
Images
Landscapes
- Ladders (AREA)
Abstract
本实用新型属于生活用品领域,涉及一种具有折叠梯子的椅子。本实用新型具有折叠梯子的椅子,包括椅座、支撑椅座的椅腿和椅背,所述椅背上端设有椅背横梁,所述椅背横梁与一折叠梯子的一端枢接,且椅背横梁与折叠梯子的横梁平行。本实用新型的具有折叠梯子的椅子,结构简单、占用空间小,且使用方便,并同时具有多种功能。
The utility model belongs to the field of daily necessities and relates to a chair with a folding ladder. The utility model has a chair with a folding ladder, which includes a seat, chair legs supporting the seat, and a chair back. The upper end of the chair back is provided with a chair back beam. The back beam is parallel to the beam of the folding ladder. The chair with the folding ladder of the utility model has a simple structure, takes up little space, is convenient to use, and has multiple functions at the same time.
Description
技术领域 technical field
本实用新型属于生活用品领域,涉及一种具有折叠梯子的椅子。The utility model belongs to the field of daily necessities and relates to a chair with a folding ladder.
背景技术 Background technique
家中的书架上层、橱柜上层往往过高,需要踩在一些支撑物上才能取放所需的物品,但是类似的动作往往很危险,一不小心也很容易受伤,取放高处的物品需要梯子才方便,但普通人家的家中放置梯子,占用很大的空间且过于浪费空间,而且找到支撑梯子的支撑物也不方便。The upper shelves and cabinets at home are often too high, and you need to step on some supports to take and place the required items, but similar actions are often dangerous, and it is easy to be injured if you are not careful. A ladder is required to take and place high items It is convenient, but placing ladders in ordinary people's homes takes up a lot of space and is too much of a waste of space, and it is also inconvenient to find supports to support the ladders.
实用新型内容 Utility model content
本实用新型的目的是提供一种具有折叠梯子的椅子,以克服上述现有技术的不足。The purpose of this utility model is to provide a chair with a folding ladder to overcome the above-mentioned deficiencies in the prior art.
为了解决上述技术问题,本实用新型采用以下技术方案来实现:In order to solve the above-mentioned technical problems, the utility model adopts the following technical solutions to realize:
一种具有折叠梯子的椅子,包括椅座、支撑椅座的椅腿和椅背,所述椅背上端设有椅背横梁,所述椅背横梁与一折叠梯子的一端枢接,且椅背横梁与折叠梯子的横梁平行。A chair with a folding ladder, comprising a seat, chair legs supporting the seat, and a chair back, the upper end of the chair back is provided with a chair back beam, the chair back beam is pivotally connected to one end of a folding ladder, and the chair back The beams are parallel to the beams of the folding ladder.
较佳的,所述折叠梯子包括相互平行的左支撑腿和右支撑腿,所述左支撑腿和右支撑腿均包括三段,且左支撑腿的相邻两段间铰接,右支撑腿的相邻两段间铰接;所述左支撑腿的第一段和右支撑腿的第一段经垂直于左、右支撑腿的横梁固定连接,左支撑腿的第二段和右支撑腿的第二段经垂直于左、右支撑腿的横梁固定连接,左支撑腿的第三段和右支撑腿的第三段经垂直于左、右支撑腿的横梁固定连接。Preferably, the folding ladder includes a left support leg and a right support leg parallel to each other, and each of the left support leg and the right support leg includes three sections, and the adjacent two sections of the left support leg are hinged, and the right support leg Hinged between two adjacent sections; the first section of the left support leg and the first section of the right support leg are fixedly connected through the beam perpendicular to the left and right support legs, the second section of the left support leg and the first section of the right support leg The two sections are fixedly connected by crossbeams perpendicular to the left and right support legs, and the third section of the left support leg and the third section of the right support leg are fixedly connected by crossbeams perpendicular to the left and right support legs.
本实用新型的具有折叠梯子的椅子,使用时可将与椅背枢接的的折叠梯子打开,椅子可作为折叠梯子的支撑,站在梯子上可取到高处的物品,不用的时候,将折叠梯子折叠起来,折叠起来的梯子不占用空间。The chair with a folding ladder of the utility model can open the folding ladder pivotally connected to the back of the chair when in use, and the chair can be used as a support for the folding ladder, and can be taken to a high place by standing on the ladder, and can be folded when not in use. The ladder folds up, and the folded ladder does not take up space.
本实用新型的具有折叠梯子的椅子,结构简单、占用空间小,且使用方便,并同时具有多种功能。The chair with the folding ladder of the utility model has a simple structure, takes up little space, is convenient to use, and has multiple functions at the same time.
附图说明 Description of drawings
图1折叠梯子折叠时的椅子示意图Figure 1 Schematic diagram of the chair when the folding ladder is folded
图2折叠梯子打开时的椅子示意图Figure 2 Schematic diagram of the chair when the folding ladder is opened
图3折叠梯子打开示意图Figure 3 Schematic Diagram of Opening the Folding Ladder
具体实施方式 Detailed ways
实施例Example
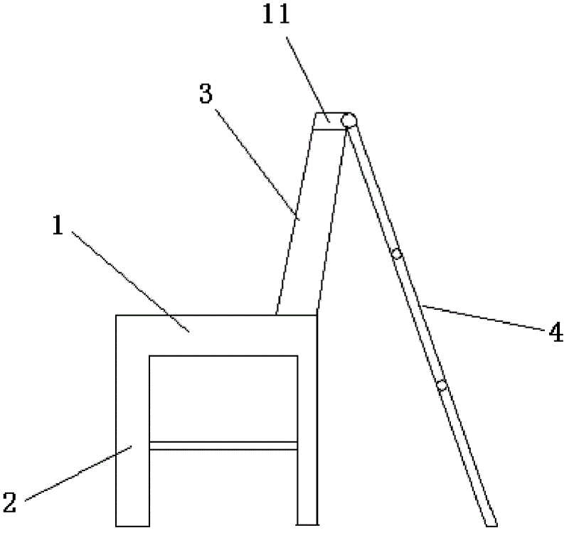
如图1和图2所示的具有折叠梯子的椅子,包括椅座1、支撑椅座的椅腿2和椅背3,所述椅背3上端设有椅背横梁11,所述椅背横梁11与一折叠梯子4的一端枢接,且椅背横梁11与折叠梯子4的横梁平行。The chair with folding ladder as shown in Figure 1 and Figure 2, comprises
如图3所示,所述折叠梯子4包括相互平行的左支撑腿和右支撑腿,所述左支撑腿和右支撑腿均包括三段,且左支撑腿的相邻两段间铰接,右支撑腿的相邻两段间铰接;所述左支撑腿的第一段5和右支撑腿的第一段5’经垂直于左、右支撑腿的横梁8固定连接,左支撑腿的第二段6和右支撑腿的第二段6’经垂直于左、右支撑腿的横梁9固定连接,左支撑腿的第三段7和右支撑腿的第三段7’经垂直于左、右支撑腿的横梁10固定连接。As shown in Figure 3, the
本实用新型的具有折叠梯子的椅子,使用时可将与椅背枢接的的折叠梯子打开,椅子可作为折叠梯子的支撑,站在梯子上可取到高处的物品,不用的时候,将折叠梯子折叠起来,折叠起来的梯子不占用空间。The chair with a folding ladder of the utility model can open the folding ladder pivotally connected to the back of the chair when in use, and the chair can be used as a support for the folding ladder, and can be taken to a high place by standing on the ladder, and can be folded when not in use. The ladder folds up, and the folded ladder does not take up space.
Claims (2)
Priority Applications (1)
| Application Number | Priority Date | Filing Date | Title |
|---|---|---|---|
| CN2011203192024U CN202184454U (en) | 2011-08-29 | 2011-08-29 | Chair with foldable ladder |
Applications Claiming Priority (1)
| Application Number | Priority Date | Filing Date | Title |
|---|---|---|---|
| CN2011203192024U CN202184454U (en) | 2011-08-29 | 2011-08-29 | Chair with foldable ladder |
Publications (1)
| Publication Number | Publication Date |
|---|---|
| CN202184454U true CN202184454U (en) | 2012-04-11 |
Family
ID=45915937
Family Applications (1)
| Application Number | Title | Priority Date | Filing Date |
|---|---|---|---|
| CN2011203192024U Expired - Fee Related CN202184454U (en) | 2011-08-29 | 2011-08-29 | Chair with foldable ladder |
Country Status (1)
| Country | Link |
|---|---|
| CN (1) | CN202184454U (en) |
Cited By (2)
| Publication number | Priority date | Publication date | Assignee | Title |
|---|---|---|---|---|
| CN104068666A (en) * | 2014-07-18 | 2014-10-01 | 朱景建 | Multifunctional chair |
| CN109927909A (en) * | 2017-12-19 | 2019-06-25 | 空中客车运营简化股份公司 | Pilot seat and aircraft equipped with this pilot seat |
-
2011
- 2011-08-29 CN CN2011203192024U patent/CN202184454U/en not_active Expired - Fee Related
Cited By (3)
| Publication number | Priority date | Publication date | Assignee | Title |
|---|---|---|---|---|
| CN104068666A (en) * | 2014-07-18 | 2014-10-01 | 朱景建 | Multifunctional chair |
| CN109927909A (en) * | 2017-12-19 | 2019-06-25 | 空中客车运营简化股份公司 | Pilot seat and aircraft equipped with this pilot seat |
| US11084588B2 (en) * | 2017-12-19 | 2021-08-10 | Airbus Operations Sas | Aircraft pilot seat |
Similar Documents
| Publication | Publication Date | Title |
|---|---|---|
| CN202899662U (en) | Folding stage | |
| CN202184454U (en) | Chair with foldable ladder | |
| CN201911679U (en) | Folding sofa | |
| CN203168361U (en) | Folding mechanism and folding table | |
| CN204561322U (en) | A kind of folding table | |
| CN202218734U (en) | Novel folding chair | |
| CN202311949U (en) | Wall-mounted folding table | |
| CN202874370U (en) | Notebook computer table special for dorm | |
| CN201718723U (en) | Dual purpose dining table | |
| CN206933801U (en) | A kind of tables and chairs dual purpose fold furniture | |
| CN205306270U (en) | Collapsible folding double -deck desk | |
| CN204708254U (en) | A kind of folding table/chair | |
| CN204091455U (en) | A kind of cabinet style combination cot | |
| CN202218726U (en) | Foldable C-shaped table and chair | |
| CN204541273U (en) | A kind of bed desk | |
| CN202032257U (en) | Support device for placing laptop | |
| CN202941639U (en) | Plastic folding table | |
| CN203058790U (en) | Foldable rotary dining table | |
| CN202558427U (en) | Special foldable chair for elevator | |
| CN202436617U (en) | Folding bunk bed | |
| CN203436009U (en) | Folding bed | |
| CN201452159U (en) | retractable foldable desk | |
| CN202396954U (en) | Folded chair | |
| CN203000070U (en) | Two-in-one table-chair combination | |
| CN201587411U (en) | foldable train table |
Legal Events
| Date | Code | Title | Description |
|---|---|---|---|
| C14 | Grant of patent or utility model | ||
| GR01 | Patent grant | ||
| C17 | Cessation of patent right | ||
| CF01 | Termination of patent right due to non-payment of annual fee |
Granted publication date: 20120411 Termination date: 20120829 |
