CN202154792U - Unfolder for foldable artificial vitreous body - Google Patents
Unfolder for foldable artificial vitreous body Download PDFInfo
- Publication number
- CN202154792U CN202154792U CN2011202490524U CN201120249052U CN202154792U CN 202154792 U CN202154792 U CN 202154792U CN 2011202490524 U CN2011202490524 U CN 2011202490524U CN 201120249052 U CN201120249052 U CN 201120249052U CN 202154792 U CN202154792 U CN 202154792U
- Authority
- CN
- China
- Prior art keywords
- wide
- head
- inject
- injecting
- sleeve pipe
- Prior art date
- Legal status (The legal status is an assumption and is not a legal conclusion. Google has not performed a legal analysis and makes no representation as to the accuracy of the status listed.)
- Expired - Lifetime
Links
- 210000004127 vitreous body Anatomy 0.000 title abstract description 8
- 239000011521 glass Substances 0.000 claims description 22
- 210000003128 head Anatomy 0.000 abstract description 22
- 230000008901 benefit Effects 0.000 abstract description 3
- 210000002105 tongue Anatomy 0.000 description 14
- 238000000034 method Methods 0.000 description 8
- 210000001525 retina Anatomy 0.000 description 8
- 230000008569 process Effects 0.000 description 7
- 238000001802 infusion Methods 0.000 description 6
- 229920002545 silicone oil Polymers 0.000 description 5
- 230000008859 change Effects 0.000 description 3
- 239000010409 thin film Substances 0.000 description 3
- 206010012689 Diabetic retinopathy Diseases 0.000 description 2
- 208000002158 Proliferative Vitreoretinopathy Diseases 0.000 description 2
- 206010038934 Retinopathy proliferative Diseases 0.000 description 2
- FAPWRFPIFSIZLT-UHFFFAOYSA-M Sodium chloride Chemical compound [Na+].[Cl-] FAPWRFPIFSIZLT-UHFFFAOYSA-M 0.000 description 2
- 241001300078 Vitrea Species 0.000 description 2
- 210000005252 bulbus oculi Anatomy 0.000 description 2
- 230000000694 effects Effects 0.000 description 2
- 210000001508 eye Anatomy 0.000 description 2
- 239000000017 hydrogel Substances 0.000 description 2
- 238000002347 injection Methods 0.000 description 2
- 239000007924 injection Substances 0.000 description 2
- 239000000463 material Substances 0.000 description 2
- 208000021971 neovascular inflammatory vitreoretinopathy Diseases 0.000 description 2
- 201000007914 proliferative diabetic retinopathy Diseases 0.000 description 2
- 230000006785 proliferative vitreoretinopathy Effects 0.000 description 2
- 230000001988 toxicity Effects 0.000 description 2
- 231100000419 toxicity Toxicity 0.000 description 2
- 208000002177 Cataract Diseases 0.000 description 1
- 208000010412 Glaucoma Diseases 0.000 description 1
- 208000021957 Ocular injury Diseases 0.000 description 1
- 229910000831 Steel Inorganic materials 0.000 description 1
- 210000002457 barrier cell Anatomy 0.000 description 1
- 230000037237 body shape Effects 0.000 description 1
- 239000002775 capsule Substances 0.000 description 1
- 210000000795 conjunctiva Anatomy 0.000 description 1
- 230000007797 corrosion Effects 0.000 description 1
- 238000005260 corrosion Methods 0.000 description 1
- 230000006378 damage Effects 0.000 description 1
- 230000007547 defect Effects 0.000 description 1
- 201000010099 disease Diseases 0.000 description 1
- 208000037265 diseases, disorders, signs and symptoms Diseases 0.000 description 1
- 239000003814 drug Substances 0.000 description 1
- 238000004945 emulsification Methods 0.000 description 1
- 230000001804 emulsifying effect Effects 0.000 description 1
- 206010014801 endophthalmitis Diseases 0.000 description 1
- 239000007943 implant Substances 0.000 description 1
- 238000002513 implantation Methods 0.000 description 1
- 229910010272 inorganic material Inorganic materials 0.000 description 1
- 239000011147 inorganic material Substances 0.000 description 1
- 230000004410 intraocular pressure Effects 0.000 description 1
- 239000007788 liquid Substances 0.000 description 1
- 239000007769 metal material Substances 0.000 description 1
- 229910052756 noble gas Inorganic materials 0.000 description 1
- 230000035764 nutrition Effects 0.000 description 1
- 235000016709 nutrition Nutrition 0.000 description 1
- 239000011368 organic material Substances 0.000 description 1
- 230000035790 physiological processes and functions Effects 0.000 description 1
- 150000004291 polyenes Chemical class 0.000 description 1
- 229920000728 polyester Polymers 0.000 description 1
- 229920000642 polymer Polymers 0.000 description 1
- 230000002980 postoperative effect Effects 0.000 description 1
- 230000008439 repair process Effects 0.000 description 1
- 239000010959 steel Substances 0.000 description 1
- TXEYQDLBPFQVAA-UHFFFAOYSA-N tetrafluoromethane Chemical compound FC(F)(F)F TXEYQDLBPFQVAA-UHFFFAOYSA-N 0.000 description 1
- 230000001225 therapeutic effect Effects 0.000 description 1
- 230000007306 turnover Effects 0.000 description 1
- 230000002792 vascular Effects 0.000 description 1
- 230000004382 visual function Effects 0.000 description 1
Images
Landscapes
- Prostheses (AREA)
Abstract
The utility model discloses an unfolder for an artificial vitreous body, which comprises a sleeve and an unfolding rod inserted into the sleeve and capable of sliding back and forth. The unfolding rod comprises an unfolding head and an unfolding handle which are arranged at two ends of the unfolding rod respectively. The sleeve comprises a tube, a sleeve head is arranged at one end of the tube, a positioning tongue is connected to the front end of an orifice of the sleeve head, a grip is connected to the other end of the tube, and a sight hole is arranged on the tube and close to the grip. The unfolder for the foldable artificial vitreous body has the advantages that firstly, the unfolder is simple in operation and convenient in use; secondly, the unfolder realizes unfolding stably and positioning accurately; and thirdly, the foldable artificial vitreous body and ocular tissue are not easy to be hurt by the unfolder so that the unfolder is safe in use.
Description
Technical field
This utility model relates to technical field of medical instruments, is a kind of auxiliary pusher, especially refers to implant in a kind of folding assisted formula artificial vitreous's art the device of vitreous chamber.
Background technology
The nature vitreous body accounts for 4/5 of eyeball volume, is a kind of transparent gelinite, has thin film to surround outward, and physiological function mainly is to support retina, refraction of eye, barrier cell and nutrition etc.Because vitreous body can not be regenerated; When vitreoretinal diseases takes place, during like detachment of retina, proliferative vitreoretinopathy (PVR), proliferative diabetic retinopathy (PDR) and endophthalmitis, must extract the nature vitreous body and fill suitable artificial vitreous; To repair ocular injury; Support retina, rebuild visual function and prevent ophthalmatrophy.
Numerous to artificial vitreous's research both at home and abroad at present, mainly contain noble gas, silicone oil, heavy silicone oil, perfluorocarbon liquid, and the hydrophilic high molecular polymer hydrogel etc., but their therapeutic effect is all not satisfactory.Like present clinical practice silicone oil substitute more widely, can cause cataract and glaucoma, and itself can must take out after the emulsifying at the regular hour internal emulsification, be prone to take place to break away from once more and take out the back retina.Present artificial vitreous, method for implantation all is in art, it directly to be injected into vitreous chamber, supports retina, prevents that retina breaks away from again.Their occupation mode (for example silicone oil) is easy to generate that ophthalmic toxicity, ophthalmic are unordered to flow and take out critical defect such as difficulty, and the ophthalmologist can not be controlled.
Therefore, we change thinking, propose to substitute the Vitrea New Policy-foldable artificial glass of nature, and it mainly is made up of sacculus, drainage tube and drain valve.Through mini-incision sacculus portion is implanted to vitreous chamber, injects flow media subsequently, like normal saline, silicone oil, hydrogel etc., the thin film sacculus that forms the vitreous body shape supports retina, filling eyeball, and drain valve is fixed under the conjunctiva subsequently.Owing to the Vitrea profile of thin film restore nature is arranged, and has limited flowing of the interior medium of capsule, overcome present artificial vitreous's ophthalmic toxicity and unordered mobile shortcoming; It regulates intraocular pressure in addition, does not change refraction of eye degree (after filling normal saline), and patient's postoperative keeps normal posture, and plurality of advantages such as medicament slow release function have shown good prospects for application.
But; We find, in the process of implanting sacculus, use apparatuses such as general ophthalmology microforceps, the vascular forceps folding artificial vitreous of clamping well; Thereby be not easy it is sent into vitreous chamber once smoothly; Turnover is organized and retina near then damaging otch easily repeatedly, simultaneously, and after the artificial vitreous is sent into vitreous chamber; Apparatuses such as microforceps also are not easy to withdraw from, and therefore need a kind of special pusher that can easily and safely the artificial vitreous be implanted smoothly vitreous chamber of design.
The utility model content
The purpose of this utility model is to overcome prior art equipment can't fine clamping foldable artificial glass; The technical problem that can not withdraw from smoothly again after used assistive device is sent into, the auxiliary device instrument that provides a kind of and make things convenient for, safely and steadly foldable artificial glass sent into.
For realizing above purpose; Technical scheme below this utility model has been taked: foldable artificial glass injector; Comprise sleeve pipe and be inserted in the sleeve pipe and can before and after pass inject bar, the said bar of injecting comprises injecting body and being separately positioned on and injects injecting head and injecting handle of end, body two ends; Said sleeve pipe comprises body, is provided with casing head in body one end end, and the mouth of pipe front end of casing head is connected with allocation tongue, is connected with grab handle at the other end of said body, has the skylight on the said body near grab handle.
The foldable artificial glass that folds is put into sleeve pipe from the skylight, sleeve pipe front end allocation tongue is vertically inserted scleral incision, can inject; The head of injecting of injecting bar inserts in telescopic grab handle; Inject head and pass through grab handle, skylight, body successively, injecting under the thrust of bar, foldable artificial glass is steadily to front slide; Through injection port, allocation tongue and the otch of casing head, safety gets into vitreous chamber and preliminary the expansion; The structure of grab handle is convenient to fixedly injector; Allocation tongue helps the auxiliary fixing artificial vitreous to inject the position of vitreous chamber; This utility model main feature is, can be easily with foldable artificial glass according to the certain orientation stability and safety send into vitreous chamber, also can be used for the propelling movement of other similar products.
Said vertical view of injecting head is trapezoidal, injects the last base 1~10mm of head, bottom 2~20mm, and high 1~20mm, its trapezoidal gradient is 5 °~85 °, its shape, size make it can smoothly get into the sleeve pipe head; Inject the long 30~300mm of body, wide 2~20mm, high 1~20mm; Injecting handle is to be positioned at the part of expanding of injecting the body rear portion, firmly stable when conveniently injecting, and injects the thick 0.1mm~5mm of handle, wide 2~25mm, long 3~30mm; Inject bar total length 32~320mm.
The vertical view of said casing head is trapezoidal, and it is suitable with size, the shape of injecting head, base 1~12mm on the casing head, bottom 2~25mm, high 1~25mm, 5 °~85 ° of its trapezoidal gradients; Side view is a rectangle or trapezoidal; Long 10~the 300mm of body, outer wide 2~25mm, outer high 1~25mm, inner width 2~20mm, in high 1~20mm; The long 30mm of grab handle, outer wide 2~25mm, outer high 1~25mm, inner width 2~20mm, in high 1~20mm, the high 5~50mm of handle wing before and after it, wide 5~80mm, thick 0.1mm~8mm; Sleeve pipe total length 20~320mm.
Said allocation tongue links to each other with the base of the casing head mouth of pipe, wide 1~10mm, and level is stretched out 1~20mm forward.Its width is according to artificial vitreous's type and the decision of operation needs; Smaller or equal to operative incision length,, can guarantee that therefore the artificial vitreous accurately gets into vitreous chamber through cutting part to insert cutting part; And in bolus infusion processes, play the effect of fulcrum, improve the stability of bolus infusion processes.
On the body front portion, also be provided with in order to observe body and inject the observation window of situation.--the sleeve pipe body front portion of this foldable artificial glass injector can be as required if do not establish observation window; Observation window can be rectangle, ellipse, streamlined, or other satisfy the shape of functional requirement; Observation window can adopt edge formula, the transparent organic or inorganic material of embedding formula, or does not insert any material.
This utility model compared with prior art has following advantage:
1, simple to operate, easy to use.
2, bolus infusion processes is steady, accurate positioning.The head of injecting of injecting bar inserts in telescopic grab handle; Inject head and pass through grab handle, skylight, body successively, injecting under the thrust of bar, foldable artificial glass is steadily to front slide; Through injection port, allocation tongue and the otch of casing head, safety gets into vitreous chamber and preliminary the expansion; Allocation tongue inserts and is fixed on scleral incision, plays the effect of fulcrum in the bolus infusion processes, improves the stability of bolus infusion processes; The structure of grab handle is convenient to fixedly injector.Whole bolus infusion processes can be easily with foldable artificial glass according to the certain orientation stability and safety send into vitreous chamber; Allocation tongue vertically inserts scleral incision, helps the auxiliary fixing artificial vitreous to inject the position of vitreous chamber, guarantees that the artificial vitreous accurately gets into vitreous chamber through cutting part;
3, safety is difficult for foldable artificial glass and ocular tissue are caused damage.
Description of drawings
Fig. 1 is the sketch map of this utility model injector;
Fig. 2 is the structure chart of this utility model injector;
Fig. 3 injects the vertical view of bar for this utility model injector:
Fig. 4 injects the side view of bar for this utility model injector:
Fig. 5 is the telescopic vertical view of this utility model injector;
Fig. 6 is the profile of this utility model injector sleeve pipe body:
Fig. 7 is the telescopic side view of this utility model injector:
Fig. 8 is this utility model operating structure sketch map;
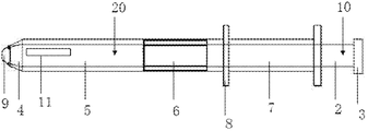
Description of reference numerals: 1-injects head, and 2-injects body, and 3-injects handle, the 4-casing head, and the 5-body, the 6-skylight, the 7-grab handle, the 8-handle wing, the 9-allocation tongue, 10-injects bar, 11-observation window, 20-sleeve pipe.
The specific embodiment
Explain further details below in conjunction with accompanying drawing and the specific embodiment content to this utility model.
Embodiment:
See also Fig. 1 to shown in Figure 5; The foldable artificial glass injector; Comprise sleeve pipe 20 and be inserted in the sleeve pipe 20 and can before and after pass inject bar 10; Inject bar 10 comprise inject body 2 and be separately positioned on inject end, body 2 two ends inject 1 with inject handle 3, it is trapezoidal injecting a vertical cross-section of 1; Sleeve pipe 20 comprises body 5, is provided with casing head 4 in body 5 one end ends, is connected with allocation tongue 9 at the mouth of pipe front end of casing head 4, is connected with grab handle 7 at the other end of body 5, has skylight 6 on the body 5 near grab handle 7.
In the present embodiment, this is injected bar and comprises and inject 1, inject body 2, inject handle 3 three parts, and wherein inject 1 vertical view and be trapezoidal, last base 4.0mm, bottom 6.0mm, high 3.0mm, its trapezoidal gradient is 22.7 °, the long 4.0mm of front end, wide 3.0mm; Inject body 2 long 145.8mm, wide 6.0mm, high 4.0mm; Inject handle 3 thick 2.5mm, wide 8.0mm, long 10mm; Inject bar total length 151.3mm.
Casing head 4 vertical views are trapezoidal, last base 4.1mm, and bottom 9mm, high 5mm, its trapezoidal gradient is 50 °; The outer wide 4.1mm of the mouth of pipe, outer high 3.8mm, inner width 4mm, in high 3.7mm; Body minister 104.0mm, outer wide 9mm, outer high 7mm, inner width 6mm, in high 4mm; Grab handle 8 long 30mm, outer wide 9mm, outer high 7mm, inner width 6mm, in high 4mm, all high 25mm of handle wing before and after it, wide 16.7mm, thick 2mm; Sleeve pipe total length 113.1mm.
This positioner is the allocation tongue 9 that is connected in sleeve pipe head front end, and allocation tongue 9 links to each other with the base of the sleeve pipe mouth of pipe, wide 3.5mm, and level is stretched out 3mm forward.
This sleeve pipe body middle part is provided with skylight 7, long 22mm, wide 6mm.
On body 5 front portions, also be provided with in order to observe body 5 and inject the observation window 11 of situation.
The present embodiment use is following, please combine shown in Figure 8: will be folded into the wide foldable artificial glass of 3mm and put into sleeve pipe 20 from the skylight, will inject bar 10 and insert in the sleeve pipe 20, and with the sleeve pipe 20 front end allocation tongues 9 vertical scleral incisions that insert, ready.Proficiency is grab handle 7 fixedly, injects forward on the other hand, and under the thrust of injecting bar 10, foldable artificial glass is steadily to front slide, and through sleeve pipe 20 mouths of pipe, allocation tongue 9 and otch, safety gets into vitreous chamber and tentatively launches.
The rapidoprint of the foldable artificial glass injector of present embodiment is a corrosion resisting mirror mould steel, or the satisfiability metal material that can require, medical macromolecular materials such as polyene, polyesters.
Above-listed detailed description is to the specifying of this utility model possible embodiments, and this embodiment is not the claim in order to restriction this utility model, does not allly break away from the equivalence that this utility model does and implements or change, all should be contained in the claim of this case.
Claims (6)
1. foldable artificial glass injector; Comprise sleeve pipe (20) and be inserted in the sleeve pipe (20) and can before and after pass inject bar (10), it is characterized in that: the said bar (10) of injecting comprises injecting body (2) and being separately positioned on and injects injecting head (1) and injecting handle (3) of body (2) end, two ends; Said sleeve pipe (20) comprises body (5); Be provided with casing head (4) in body (5) one end ends; The mouth of pipe front end of casing head (4) is connected with allocation tongue (9), is connected with grab handle (7) at the other end of said body (5), and said body near grab handle (7) has skylight (6) on (5).
2. foldable artificial glass injector as claimed in claim 1 is characterized in that: the said face of overlooking of injecting head (1) is trapezoidal, injects the last base 1~10mm of head (1), bottom 2~20mm, high 1~20mm, 5 °~85 ° of the trapezoidal gradients; Inject the long 30~300mm of body (2), wide 2~20mm, high 1~20mm; Inject the thick 0.1mm~5mm of handle (3), wide 2~25mm, long 3~30mm; Inject bar (10) total length 32~320mm.
3. foldable artificial glass injector as claimed in claim 2 is characterized in that: the vertical view of said casing head (4) is trapezoidal, and it is suitable with the cross sectional shape of injecting head (1); Casing head (4) is gone up base 1~12mm; Bottom 2~25mm, high 1~25mm, 5 °~85 ° of the trapezoidal gradients; Side view is a rectangle or trapezoidal; Long 10~the 300mm of body, outer wide 2~25mm, outer high 1~25mm, inner width 2~20mm, in high 1~20mm; The long 30mm of grab handle, outer wide 2~25mm, outer high 1~25mm, inner width 2~20mm, in high 1~20mm, the high 5~50mm of handle wing (8) before and after it, wide 5~80mm, thick 0.1mm~8mm; Sleeve pipe (20) total length 20~320mm.
4. foldable artificial glass injector as claimed in claim 1 is characterized in that: said allocation tongue links to each other with the base of casing head (4) mouth of pipe, wide 1~10mm, and level is stretched out 1~20mm forward.
5. foldable artificial glass injector as claimed in claim 1 is characterized in that: the flute length 2~80mm of said skylight (6), wide 1~20mm.
6. foldable artificial glass injector as claimed in claim 1 is characterized in that: on said body (5) front portion, also be provided with in order to observe body (5) and inject the observation window (11) of situation.
Priority Applications (1)
| Application Number | Priority Date | Filing Date | Title |
|---|---|---|---|
| CN2011202490524U CN202154792U (en) | 2011-07-14 | 2011-07-14 | Unfolder for foldable artificial vitreous body |
Applications Claiming Priority (1)
| Application Number | Priority Date | Filing Date | Title |
|---|---|---|---|
| CN2011202490524U CN202154792U (en) | 2011-07-14 | 2011-07-14 | Unfolder for foldable artificial vitreous body |
Publications (1)
| Publication Number | Publication Date |
|---|---|
| CN202154792U true CN202154792U (en) | 2012-03-07 |
Family
ID=45762446
Family Applications (1)
| Application Number | Title | Priority Date | Filing Date |
|---|---|---|---|
| CN2011202490524U Expired - Lifetime CN202154792U (en) | 2011-07-14 | 2011-07-14 | Unfolder for foldable artificial vitreous body |
Country Status (1)
| Country | Link |
|---|---|
| CN (1) | CN202154792U (en) |
Cited By (1)
| Publication number | Priority date | Publication date | Assignee | Title |
|---|---|---|---|---|
| CN102283741A (en) * | 2011-07-14 | 2011-12-21 | 广州卫视博生物科技有限公司 | Folding artificial vitreous body injector |
-
2011
- 2011-07-14 CN CN2011202490524U patent/CN202154792U/en not_active Expired - Lifetime
Cited By (1)
| Publication number | Priority date | Publication date | Assignee | Title |
|---|---|---|---|---|
| CN102283741A (en) * | 2011-07-14 | 2011-12-21 | 广州卫视博生物科技有限公司 | Folding artificial vitreous body injector |
Similar Documents
| Publication | Publication Date | Title |
|---|---|---|
| JP2020049361A (en) | AB EXTERNO intraocular shunt placement | |
| Dick et al. | Laser-assisted cataract surgery in small pupils using mechanical dilation devices | |
| HK1217893A1 (en) | Intraocular lens peripheral surgical systems | |
| US20120191064A1 (en) | Methods and apparatus for sub-retinal catheterization | |
| WO2023001244A1 (en) | Ophthalmic injection assembly and injection device, and use method | |
| CN102283741A (en) | Folding artificial vitreous body injector | |
| CN202154792U (en) | Unfolder for foldable artificial vitreous body | |
| CN109620534B (en) | 20G crystal back-bag bearing auxiliary apparatus | |
| CN210277474U (en) | 20G crystal posterior capsule bearing auxiliary instrument | |
| CN208243689U (en) | Needle assembly for ophthalmologic operation and the syringe with it | |
| CN113397809B (en) | Glaucoma minimally invasive surgery injector | |
| CN211096872U (en) | Casing type under-tenon-capsule anesthesia apparatus | |
| CN102715967B (en) | Easily planted intraocular lens suspension device | |
| JP2024522004A (en) | Medical Penetration Devices and Systems | |
| CN209518889U (en) | A kind of puncture merging integrated dual-head iris hooks | |
| CN215192883U (en) | Synchronous injection and suction device special for cataract surgery | |
| CN203029465U (en) | Iris fixing device | |
| CN222693659U (en) | Subfascial anesthesia scissors and injection scissors | |
| CN218792741U (en) | A push injection device for assisting intraocular amniotic membrane transplantation | |
| CN209422231U (en) | A capsule separation needle | |
| CN218552554U (en) | ICL operation is with filling position-adjusting syringe needle | |
| CN215385131U (en) | Anterior chamber maintainer in intraocular lens implantation with lens | |
| CN214484803U (en) | Viscoelastic agent and perfusate double-channel integrated injection device | |
| CN202724242U (en) | Lacrimal punctum dilating irrigator | |
| CN115154033A (en) | Suprachoroidal Compression Balloon and Implantation Device in Macular Region of High Myopia |
Legal Events
| Date | Code | Title | Description |
|---|---|---|---|
| C14 | Grant of patent or utility model | ||
| GR01 | Patent grant | ||
| CX01 | Expiry of patent term | ||
| CX01 | Expiry of patent term |
Granted publication date: 20120307 |