CN202147069U - Linear cutting fixture - Google Patents

Linear cutting fixture Download PDF

Info

Publication number
CN202147069U
CN202147069U CN201120201754U CN201120201754U CN202147069U CN 202147069 U CN202147069 U CN 202147069U CN 201120201754 U CN201120201754 U CN 201120201754U CN 201120201754 U CN201120201754 U CN 201120201754U CN 202147069 U CN202147069 U CN 202147069U
Authority
CN
China
Prior art keywords
set screw
grip block
block
utility
model
Prior art date
Legal status (The legal status is an assumption and is not a legal conclusion. Google has not performed a legal analysis and makes no representation as to the accuracy of the status listed.)
Expired - Fee Related
Application number
CN201120201754U
Other languages
Chinese (zh)
Inventor
许一青
Current Assignee (The listed assignees may be inaccurate. Google has not performed a legal analysis and makes no representation or warranty as to the accuracy of the list.)
KUNSHAN CITY SANJING PRECISION MOULD CO Ltd
Original Assignee
KUNSHAN CITY SANJING PRECISION MOULD CO Ltd
Priority date (The priority date is an assumption and is not a legal conclusion. Google has not performed a legal analysis and makes no representation as to the accuracy of the date listed.)
Filing date
Publication date
Application filed by KUNSHAN CITY SANJING PRECISION MOULD CO Ltd filed Critical KUNSHAN CITY SANJING PRECISION MOULD CO Ltd
Priority to CN201120201754U priority Critical patent/CN202147069U/en
Application granted granted Critical
Publication of CN202147069U publication Critical patent/CN202147069U/en
Anticipated expiration legal-status Critical
Expired - Fee Related legal-status Critical Current

Links

Images

Landscapes

  • Jigs For Machine Tools (AREA)

Abstract

The utility model discloses a linear cutting fixture, which comprises a clamping block and a combining block. A positioning groove is arranged at the lower end of the clamping block, a first regulating screw is arranged on one side of the clamping block horizontally, one end of the first regulating screw is positioned in the positioning groove and butted against a workpiece, the other end of the first regulating screw is positioned on the outside of the clamping block, and the combining block is connected with the clamping block fixedly in an adjustable manner by the aid of two second regulating screws which are arranged vertically. The linear cutting fixture can be used for clamping workpieces in different sizes and is convenient for processing and simple in operation.

Description

Line cuts anchor clamps
Technical field
The utility model relates to a kind of line and cuts anchor clamps.
Background technology
It is according to the design of the workpiece processed that general line cuts anchor clamps, and workpiece that can't the clamping different size runs into the workpiece of processing different size; Will thread-changing cut anchor clamps, cause inconvenient operation, clamping accurately simultaneously; Cause machining accuracy not high, and increased cost.
Summary of the invention
In order to overcome above-mentioned defective, the utility model provides a kind of simple in structure, easy to operate line to cut anchor clamps.
The utility model for the technical scheme that solves its technical problem and adopt is: a kind of line cuts anchor clamps; Include grip block and binding block; The grip block lower end is provided with locating slot, and grip block one side has been horizontally disposed with first set screw, and first set screw, one end is positioned at locating slot and pushes against workpiece; The first set screw other end is positioned at the grip block outside, and binding block is fixedly connected with grip block is adjustable through two second set screw that vertically are provided with.
The beneficial effect of the utility model is: the workpiece of clamping different size is easy to operate through regulating set screw for the utility model, has increased machining accuracy greatly, has also reduced cost simultaneously.
Description of drawings
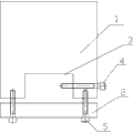
Fig. 1 is the front view of the utility model;
Fig. 2 is the right view of the utility model;
Indicate among the figure: 1-grip block, 2-binding block, 3-locating slot, 4-first set screw, 5-second set screw.
The specific embodiment
In order to deepen understanding to the utility model, will combine embodiment and accompanying drawing that the utility model is done further to detail below, this embodiment only is used to explain the utility model, does not constitute the qualification to the utility model protection domain.
Fig. 1 and Fig. 2 have shown a kind of embodiment that the utility model a kind of line cuts anchor clamps; The purpose of the utility model realizes through following case: a kind of line cuts anchor clamps, includes grip block 1 and binding block 2, and grip block 1 lower end is provided with locating slot 3; Grip block 1 one sides have been horizontally disposed with first set screw 4; First set screw, 4 one ends are positioned at locating slot 3 and push against workpiece, and first set screw, 4 other ends are positioned at grip block 1 outside, and binding block 2 is through two second set screw 5 and grip block 1 adjustable fixed connection that vertically are provided with; Can come the workpiece of the different sizes of clamping with second set screw 5 through controlling first set screw 4; Increased machining accuracy, thereby provided cost savings, convenient and simple.

Claims (1)

1. a line cuts anchor clamps; It is characterized in that: include grip block (1) and binding block (2); Said grip block (1) lower end is provided with locating slot (3); Grip block (1) one side has been horizontally disposed with first set screw (4); Said first set screw (4) one ends are positioned at locating slot (3) and push against workpiece, and first set screw (4) other end is positioned at grip block (1) outside, and said binding block (2) is through two second set screw (5) and adjustable fixed connection of grip block (1) that vertically are provided with.
CN201120201754U 2011-06-16 2011-06-16 Linear cutting fixture Expired - Fee Related CN202147069U (en)

Priority Applications (1)

Application Number Priority Date Filing Date Title
CN201120201754U CN202147069U (en) 2011-06-16 2011-06-16 Linear cutting fixture

Applications Claiming Priority (1)

Application Number Priority Date Filing Date Title
CN201120201754U CN202147069U (en) 2011-06-16 2011-06-16 Linear cutting fixture

Publications (1)

Publication Number Publication Date
CN202147069U true CN202147069U (en) 2012-02-22

Family

ID=45588144

Family Applications (1)

Application Number Title Priority Date Filing Date
CN201120201754U Expired - Fee Related CN202147069U (en) 2011-06-16 2011-06-16 Linear cutting fixture

Country Status (1)

Country Link
CN (1) CN202147069U (en)

Cited By (2)

* Cited by examiner, † Cited by third party
Publication number Priority date Publication date Assignee Title
CN107014540A (en) * 2017-06-12 2017-08-04 苏州宝兴电线电缆有限公司 A kind of device for testing tensile force
CN112676119A (en) * 2020-12-14 2021-04-20 铜陵精远线模有限责任公司 Split type painting die and splicing type painting die clamp for processing painting die

Cited By (2)

* Cited by examiner, † Cited by third party
Publication number Priority date Publication date Assignee Title
CN107014540A (en) * 2017-06-12 2017-08-04 苏州宝兴电线电缆有限公司 A kind of device for testing tensile force
CN112676119A (en) * 2020-12-14 2021-04-20 铜陵精远线模有限责任公司 Split type painting die and splicing type painting die clamp for processing painting die

Similar Documents

Publication Publication Date Title
CN105108532A (en) Mechanical clamping device
CN203459862U (en) Tool clamp for processing clamp spring grooves of two earholes of weld yoke/shaft yoke
CN202894831U (en) Hexagonal dedicated bench clamp used for milling
CN204019220U (en) Batch machining hydraulically operated fixture
CN202147069U (en) Linear cutting fixture
CN104708150A (en) Use method of locating fixture for columnar workpiece linear cutting
CN203076956U (en) Drilling positioning device
CN104708148A (en) Use method of linear cutting and positioning fixture
CN203765122U (en) Check ring assembly line cutting clamp
CN202292187U (en) Clamping device of sawing machine
CN202964063U (en) Linear cutting V-shaped groove positioning clamp of cylinder workpiece
CN103658897B (en) Linear cut frock
CN203993239U (en) Cylindrical work flank hole fixture
CN202894809U (en) Valve block clamping tool
CN201931368U (en) Jaw vice
CN202539971U (en) Tool for cutting elbow in toothless saw
CN202964179U (en) Wire cutting positioning clamp for machining V-shaped groove
CN103009077A (en) V-shaped groove positioning clamp for wire cutting of cylindrical workpiece
CN205271066U (en) Cylindrical parts line cutting process anchor clamps
CN204339344U (en) A kind of novel can the fraise jig device of Fast Installation
CN203371298U (en) Inner hole machining device of diesel engine cylinder liner
CN103273348A (en) Clamp for processing connection rod combination surface of engine
CN203527097U (en) Linear cutting clamp for workpiece with multi-T-shaped groove
CN201841484U (en) Portable workpiece clamp head
CN202572144U (en) Sound control tube cutting fixture

Legal Events

Date Code Title Description
C14 Grant of patent or utility model
GR01 Patent grant
C17 Cessation of patent right
CF01 Termination of patent right due to non-payment of annual fee

Granted publication date: 20120222

Termination date: 20130616