CN202146599U - Bamboo mahjong machine frame - Google Patents
Bamboo mahjong machine frame Download PDFInfo
- Publication number
- CN202146599U CN202146599U CN201120187366U CN201120187366U CN202146599U CN 202146599 U CN202146599 U CN 202146599U CN 201120187366 U CN201120187366 U CN 201120187366U CN 201120187366 U CN201120187366 U CN 201120187366U CN 202146599 U CN202146599 U CN 202146599U
- Authority
- CN
- China
- Prior art keywords
- machine frame
- bamboo
- mahjong machine
- desktop
- model
- Prior art date
- Legal status (The legal status is an assumption and is not a legal conclusion. Google has not performed a legal analysis and makes no representation as to the accuracy of the status listed.)
- Expired - Fee Related
Links
- 235000017166 Bambusa arundinacea Nutrition 0.000 title claims abstract description 29
- 235000017491 Bambusa tulda Nutrition 0.000 title claims abstract description 29
- 241001330002 Bambuseae Species 0.000 title claims abstract description 29
- 235000015334 Phyllostachys viridis Nutrition 0.000 title claims abstract description 29
- 239000011425 bamboo Substances 0.000 title claims abstract description 29
- 229910052799 carbon Inorganic materials 0.000 abstract description 3
- 244000269722 Thea sinensis Species 0.000 description 4
- 230000000694 effects Effects 0.000 description 3
- 230000007613 environmental effect Effects 0.000 description 3
- 238000000034 method Methods 0.000 description 2
- 229910001018 Cast iron Inorganic materials 0.000 description 1
- 230000009286 beneficial effect Effects 0.000 description 1
- 238000009835 boiling Methods 0.000 description 1
- 230000007812 deficiency Effects 0.000 description 1
- 230000002950 deficient Effects 0.000 description 1
- 235000021185 dessert Nutrition 0.000 description 1
- 238000005516 engineering process Methods 0.000 description 1
- 238000007689 inspection Methods 0.000 description 1
- 238000003754 machining Methods 0.000 description 1
- 238000000465 moulding Methods 0.000 description 1
- 229920003023 plastic Polymers 0.000 description 1
- 239000004033 plastic Substances 0.000 description 1
- 230000002035 prolonged effect Effects 0.000 description 1
- 238000007670 refining Methods 0.000 description 1
- 230000001954 sterilising effect Effects 0.000 description 1
- 238000004659 sterilization and disinfection Methods 0.000 description 1
Images
Landscapes
- Stringed Musical Instruments (AREA)
Abstract
The utility model relates to a bamboo mahjong machine frame comprising a frame body, wherein the frame body comprises a base, a support and a tabletop that are made of bamboo; the support is arranged on the base; and the tabletop is arranged above the support. The bamboo mahjong machine frame made of bamboo has the following benefit: being more environment-friendly and low-carbon in making, longer in service life, lower in cost and easy to promote and use.
Description
Technical field
The utility model relates to a kind of mahjong machine frame, particularly relates to a kind of bamboo mahjong machine frame.
Background technology
The mahjong machine is a kind of amusement and leisure machine that recent years, the ability quilt was extensively introduced, because it can full automaticly be shuffled, lets the user reduce the burden of shuffling, and can carry out recreation easily, so receive liking of vast mahjong fan deeply.
And along with the mahjong machine is used widely, the defective on the mahjong machine is highlighting all the more also.The machine frame of traditional mahjong machine generally adopts wooden and plastics are processed, not environmental protection, and cause distortion and cracky easily, so be badly in need of a kind of mahjong machine that can address the aforementioned drawbacks.
The utility model content
The purpose of the utility model is in order to solve existing technological deficiency in the prior art, to provide a kind of bamboo low-carbon (LC), environmental protection, measured mahjong machine frame of matter of adopting to satisfy the demands.
To achieve these goals, the technical scheme of the utility model is following:
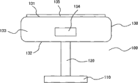
A kind of bamboo mahjong machine frame comprises the machine frame body, it is characterized in that, said machine frame body comprises by bamboo base, pillar and desktop, and said pillar is arranged on the base, and desktop is arranged at the pillar top.
Above-mentioned a kind of bamboo mahjong machine frame is characterized in that, said desktop comprise upper surface, lower surface and be arranged at upper surface and lower surface between four sides.
Above-mentioned a kind of bamboo mahjong machine frame is characterized in that, is provided with the drawing and pulling type Chip box on four sides of said desktop.
Above-mentioned a kind of bamboo mahjong machine frame is characterized in that, the edge of said upper surface is provided with a circle frame.
The beneficial effect that the utlity model has: adopted bamboo to make the mahjong machine frame, made the making more environmental protection and the low-carbon (LC) of mahjong machine frame, and prolonged the service life of mahjong machine frame, reduced cost, be easy to promote the use of.
Description of drawings
Fig. 1 is the side view of the utility model.
Fig. 2 is the vertical view of the utility model.
The specific embodiment
For making architectural feature of the utility model and the effect of being reached there are further understanding and understanding, cooperate detailed explanation, explain as follows in order to preferred embodiment and accompanying drawing:
Referring to Fig. 1; A kind of bamboo mahjong machine frame; Comprise machine frame body 100, machine frame body 100 comprises the base 110 that is supported whole mahjong machine by bamboo being used to, and is used to connect desktop 130 and base 110 pillars 120 and the desktop 130 that is used to recreations such as playing Mah-Jong; Pillar 120 is arranged on the base 110, and desktop 130 is arranged at pillar 120 tops.
In the process that reality is used; Cooperating adopt bamboo chair and tea table also comprising that the mahjong machine uses together; The user can be sitting in recreation such as play Mah-Jong on the supporting chair, and some tea and dessert can be placed on the tea table simultaneously, and is very convenient.
And in the utility model, one of them optimal way is to adopt bamboo to make mahjong table, chair and tea table.
Referring to Fig. 2, the edge of upper surface 131 is provided with a circle frame 135, and the effect of frame 135 is to prevent that mahjong from dropping out the scope of desktop 130, has played the effect of a fence.
Because a kind of bamboo mahjong machine frame of the utility model is with bamboo, when making bamboo mahjong machine frame, technological process is following: 1, at first with former bamboo chip force plane processing; 2, boiling sterilization; 3, oven dry; 4, adjustable cast iron planes processing; 5, selected qualified bamboo chip; 6, crude green body, gummed; 7, corase grind; 8, machining sheet moulding; 9, correct grinding; 10, refining processing; 11, application, curing; 12, product inspection.The bamboo machine frame of working it out through above-mentioned operation is not easy distortion, long service life.
In sum; Be merely the preferred embodiment of the utility model; Be not to be used for limiting the scope that the utility model is implemented; All equalizations of doing according to the described shape of the utility model claim scope, structure, characteristic and spirit change and modify, and all should be included in the claim scope of the utility model.
Claims (4)
1. a bamboo mahjong machine frame comprises the machine frame body, it is characterized in that, said machine frame body comprises by bamboo base, pillar and desktop, and said pillar is arranged on the base, and desktop is arranged at the pillar top.
2. according to the said a kind of bamboo mahjong machine frame of claim 1, it is characterized in that, said desktop comprise upper surface, lower surface and be arranged at upper surface and lower surface between four sides.
3. according to the said a kind of bamboo mahjong machine frame of claim 2, it is characterized in that, be provided with the drawing and pulling type Chip box on four sides of said desktop.
4. according to the said a kind of bamboo mahjong machine frame of claim 2, it is characterized in that the edge of said upper surface is provided with a circle frame.
Priority Applications (1)
| Application Number | Priority Date | Filing Date | Title |
|---|---|---|---|
| CN201120187366U CN202146599U (en) | 2011-06-01 | 2011-06-01 | Bamboo mahjong machine frame |
Applications Claiming Priority (1)
| Application Number | Priority Date | Filing Date | Title |
|---|---|---|---|
| CN201120187366U CN202146599U (en) | 2011-06-01 | 2011-06-01 | Bamboo mahjong machine frame |
Publications (1)
| Publication Number | Publication Date |
|---|---|
| CN202146599U true CN202146599U (en) | 2012-02-22 |
Family
ID=45587676
Family Applications (1)
| Application Number | Title | Priority Date | Filing Date |
|---|---|---|---|
| CN201120187366U Expired - Fee Related CN202146599U (en) | 2011-06-01 | 2011-06-01 | Bamboo mahjong machine frame |
Country Status (1)
| Country | Link |
|---|---|
| CN (1) | CN202146599U (en) |
Cited By (2)
| Publication number | Priority date | Publication date | Assignee | Title |
|---|---|---|---|---|
| CN104814604A (en) * | 2015-04-09 | 2015-08-05 | 浙江利帆家具有限公司 | Mahjong table |
| CN109624002A (en) * | 2018-11-29 | 2019-04-16 | 颍上县陈家工艺家具有限公司 | A kind of solid wood round table processing technology |
-
2011
- 2011-06-01 CN CN201120187366U patent/CN202146599U/en not_active Expired - Fee Related
Cited By (2)
| Publication number | Priority date | Publication date | Assignee | Title |
|---|---|---|---|---|
| CN104814604A (en) * | 2015-04-09 | 2015-08-05 | 浙江利帆家具有限公司 | Mahjong table |
| CN109624002A (en) * | 2018-11-29 | 2019-04-16 | 颍上县陈家工艺家具有限公司 | A kind of solid wood round table processing technology |
Similar Documents
| Publication | Publication Date | Title |
|---|---|---|
| CN205214655U (en) | A smart coffee table | |
| CN202146599U (en) | Bamboo mahjong machine frame | |
| CN201253035Y (en) | Height-adjustable desk stool with five-color mosaics plated surface | |
| CN104042051A (en) | Seat with overturnable pedestal | |
| CN202375442U (en) | Tea table | |
| CN201948396U (en) | Combined table and chair with rotary table | |
| CN206473034U (en) | A kind of marble tea table | |
| CN207841242U (en) | A kind of tea table processing Special support platform | |
| CN203748899U (en) | Multimedia tea table | |
| CN207136608U (en) | A kind of chess and card table | |
| CN202842814U (en) | Novel formaldehyde-free tea table | |
| CN201977121U (en) | Double-side type tea table | |
| CN202959380U (en) | Novel poker table | |
| CN202160966U (en) | Cabinet-type combination desk | |
| CN202536701U (en) | Writing table with combined drawers | |
| CN204891157U (en) | Billiard table | |
| CN207253128U (en) | A kind of Novel fiberboard tables and chairs | |
| CN203507493U (en) | Novel supporting structure of full-automatic Mahjong machine | |
| CN202184370U (en) | Solid wood rectangular tea table | |
| CN202005400U (en) | Tea table with bow rack seat | |
| CN107467884A (en) | A kind of novel fish tank tea table | |
| CN206006741U (en) | A kind of Double-wine pot drinking utensils with base | |
| CN202919437U (en) | Chamfered tea table | |
| CN202891069U (en) | Decorative tea table | |
| CN205198926U (en) | Novel frame bearing structure of mahjong machine |
Legal Events
| Date | Code | Title | Description |
|---|---|---|---|
| C14 | Grant of patent or utility model | ||
| GR01 | Patent grant | ||
| C17 | Cessation of patent right | ||
| CF01 | Termination of patent right due to non-payment of annual fee |
Granted publication date: 20120222 Termination date: 20140601 |