CN202065476U - Scour-proof stop valve - Google Patents

Scour-proof stop valve Download PDF

Info

Publication number
CN202065476U
CN202065476U CN2011200789279U CN201120078927U CN202065476U CN 202065476 U CN202065476 U CN 202065476U CN 2011200789279 U CN2011200789279 U CN 2011200789279U CN 201120078927 U CN201120078927 U CN 201120078927U CN 202065476 U CN202065476 U CN 202065476U
Authority
CN
China
Prior art keywords
valve
valve seat
flap
protection against
stop valve
Prior art date
Legal status (The legal status is an assumption and is not a legal conclusion. Google has not performed a legal analysis and makes no representation as to the accuracy of the status listed.)
Expired - Fee Related
Application number
CN2011200789279U
Other languages
Chinese (zh)
Inventor
王福全
余克
李铁东
Current Assignee (The listed assignees may be inaccurate. Google has not performed a legal analysis and makes no representation or warranty as to the accuracy of the list.)
Sungo Valves Group Co Ltd
Original Assignee
赵安东
Priority date (The priority date is an assumption and is not a legal conclusion. Google has not performed a legal analysis and makes no representation as to the accuracy of the date listed.)
Filing date
Publication date
Application filed by 赵安东 filed Critical 赵安东
Priority to CN2011200789279U priority Critical patent/CN202065476U/en
Application granted granted Critical
Publication of CN202065476U publication Critical patent/CN202065476U/en
Anticipated expiration legal-status Critical
Expired - Fee Related legal-status Critical Current

Links

Images

Landscapes

  • Lift Valve (AREA)

Abstract

The utility model relates to a scour-proof stop valve, which comprises a valve body, a seal pair and a transmission mechanism. A bonnet is arranged at the top of the valve body, the seal pair is composed of a vertical valve clack and a valve seat, seal faces vertically opposite to each other are arranged on the valve clack and the valve seat respectively, the seal face of the valve seat is an outer conical face, the seal face of the valve clack is an inner conical face, an output end of the transmission mechanism is in transmission connection with the upper end of the valve clack, an input end of the transmission mechanism is in drive connection with a drive device, and the drive device is a manual drive device and/or an automatic drive device. Scouring and corrosion of media to the seal faces are relieved while the sealing effect of the stop valve is reserved on the basis of keeping original sealing effect of the stop valve, so that the seal faces are protected all along, the sealing effect is more reliable, and the scour-proof stop valve is especially applicable to flow control of high-temperature high-pressure gaseous media.

Description

The protection against erosion stop valve
Technical field
The utility model relates to a kind of stop valve, relates in particular to a kind of protection against erosion of the flow control of High Temperature High Pressure gas medium, corrosion-resistant stop valve of being applicable to.
Background technique
Referring to Fig. 1 and Fig. 2, the structure of stop valve sealing pair is plane sealing and two kinds of structural types of conical surface seal under the prior art, and the conical surface seal structure is that valve seat is an inner conical surface, and flap is the form of male cone (strobilus masculinus).When the stop valve of these two kinds of structures passes through valve seat orifice at medium, to the washing away and corrode very seriously of sealing surface, especially when medium is the High Temperature High Pressure gas, medium is along sealing surface the washing away and corrode even more serious it of flowing, make the sealing effect variation of stop valve, shorten working life.
The model utility content
In order to overcome the above-mentioned defective of prior art, the utility model provides a kind of protection against erosion stop valve, this stop valve can significantly improve protection against erosion, corrosion resistant performance on the basis that keeps traditional stop valve sealing effect, can prolong the working life of stop valve.
The technical solution adopted in the utility model: a kind of protection against erosion stop valve, comprise valve seat and flap corresponding mutually in valve body, valve gap, valve rod and the valve body, the sealing surface of described valve seat is a male cone (strobilus masculinus), the inner conical surface of the sealing surface of described flap for matching with described male cone (strobilus masculinus); Described valve rod is provided with the valve rod hole that can supply described valve rod to pass; One end of described valve rod is fixedlyed connected with described flap, the other end passes the outside that described valve rod hole extends to described valve body, be provided with seal ring and the stuffing box that is used to seal between described valve rod and the described valve rod hole, be filled with sealing material in the described stuffing box, be connected with pressure cap on the described stuffing box; The top of described valve rod is provided with handle, and described handle and described valve rod removably connect.
The central lines of the male cone (strobilus masculinus) of described valve seat and the inner conical surface of described flap.
The central authorities of described valve seat can be provided with valve seat orifice, and the inner conical surface middle part of described flap can be provided with the column structure that can insert described valve seat orifice.
The lower end surface of described column structure is preferably arc-shaped concave.
The lower end surface of described column structure preferably is lower than the sealing surface of described flap.
The external diameter of preferred described column structure matches with the internal diameter of described valve seat orifice, between leave the free gap.
Can be provided with seal ring on the male cone (strobilus masculinus) of described valve seat and/or the inner conical surface of described flap, rubber elasticity seal ring for example is to realize corresponding soft seal or hard sealing by described seal ring.
Also can be provided with the hard enclosed watch surface layer of mutual correspondence on the male cone (strobilus masculinus) of described valve seat and the inner conical surface of described flap, to realize corresponding hard sealing, machining formed after described hard enclosed watch surface layer can adopt the built-up welding hard material.
Described drive unit is manual driving device and/or automatic drive, and described manual driving device can comprise handle or handwheel, described automatic drive can for electronic, electromagnetism moving, pneumatic or fluid pressure drive device.
The beneficial effects of the utility model: the unique design of described valve seat and flap sealing surface, make medium when flowing through described valve seat orifice, sealing surface is not the medium of directly meeting to circulation, but back to the medium of circulation, has alleviated circulation medium washing away and corrode described sealing surface; The design of the described column structure in the described flap inner conical surface; it cooperates the inner conical surface of described flap to play the centering effect on the one hand; on the other hand the medium that flows through described valve seat orifice is played leading role; make the medium flow through when impacting the lower end surface of described column structure to around be the state of scattering; alleviate washing away and corrode to described sealing surface; the lower end surface of especially described column structure is arranged to arc-shaped concave and is lower than the sealing surface of described flap; make medium along arc-shaped surface to dirty; all the time can directly not wash away described sealing surface, play protective action described sealing surface.
The utility model is with respect to traditional stop valve, and from the not increase of quantity of part, the weight of material is also the same substantially with traditional stop valve, has just changed the form of sealing surface, and technology is simple.On the basis that does not increase cost of production, make the sealing surface of stop valve have protection against erosion, corrosion resistant performance, be particularly useful for the flow control of High Temperature High Pressure gas medium.
Description of drawings
Fig. 1 is the structural representation of traditional plane sealing pair;
Fig. 2 is the structural representation of traditional conical surface seal pair;
Fig. 3 is the structural representation of sealing pair of the present utility model;
Fig. 4 is the structural representation of flap of the present utility model.
Embodiment
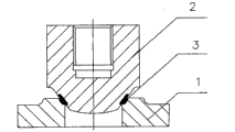
Referring to Fig. 3 and Fig. 4, the utility model provides a kind of protection against erosion stop valve, comprise valve body 1, driving mechanism and the valve seat and the flap 2 that in described valve body, constitute sealing pair, described valve body is provided with valve gap, the sealing surface of described valve seat is a male cone (strobilus masculinus), the inner conical surface of the sealing surface of described flap for matching with described male cone (strobilus masculinus).
Be preferably the central lines of the inner conical surface of the male cone (strobilus masculinus) of described valve seat and described flap, the central authorities of described valve seat are provided with valve seat orifice, for ease of processing and improve the sealing effect of described sealing surface, the male cone (strobilus masculinus) of described valve seat, the inner conical surface of described flap and described valve seat orifice can be arranged to centrosymmetric structure, the medium that flows out from described valve seat orifice is preferably three's central lines setting, so that can flow into the valve pocket of described stop valve to diffusion all around equably.
Usually should be provided with through hole on the described valve gap, the top of described flap is passed this through hole and is in transmission connection with the described driving mechanism that is positioned at the valve body outside.A part (for example valve rod) that passes this through hole also can be set on described driving mechanism, make the output terminal of driving mechanism extend in the described through hole thus or in the chamber of described valve body, realize described being in transmission connection with the upper end of flap.Described through hole and pass between the part of described through hole and should seal, normally seal ring that in described through hole, is provided for sealing and/or stuffing box, be filled with sealing material in the described stuffing box, be connected with pressure cap on the described stuffing box, the through hole that passes for corresponding part also should be set on the described pressure cap.In use for some time, the pressure cap appropriateness can be compressed, guarantee sealing effect to eliminate because of the sealing material mill loses the leakage that causes.
The input end of described driving mechanism is used to connect drive unit, described drive unit can be manual driving devices such as handle, handwheel, it also can be electronic, automatic drive such as electromagnetism moving, pneumatic, hydraulic pressure, manual and automatic drive perhaps are set simultaneously, to adapt to the operation under the different situations.
The central authorities of described valve seat are provided with valve seat orifice, the inner conical surface middle part of described flap can be provided with the column structure 4 that can insert described valve seat orifice, play when described stop valve is closed, fixation to described flap position, for the ease of processing and making fixation reach optimal effectiveness, described column structure preferably is arranged to cylindrical structure, and its external diameter matches with the internal diameter of described valve seat orifice, between leave the free gap, its medial axis preferably with the central lines of described valve seat orifice.
Arc-shaped concave 5 can be arranged in the lower end surface of described column structure, to play leading role to the medium that flows through described valve seat orifice, the lower end of preferred described column structure is lower than the lower end (height difference is the h in the accompanying drawing) of the sealing surface of described flap, as 0.5cm, 1cm or 2cm, make when medium is washed into the lower end surface of described column structure, flow out to diffusion all around, can directly not wash away described sealing surface all the time.
In order to improve the sealing effect of described stop valve, can or be respectively equipped with to cooperatively interact separately on the male cone (strobilus masculinus) of described valve seat and the inner conical surface of described flap and constitute the O RunddichtringO 3 of sealing surface, corresponding hard enclosed watch surface layer also can be set.
Related direction defines with the flow direction of medium in the utility model of the present invention, and medium is last direction from the direction that described valve seat orifice flows out, and is lower direction on the contrary.
Working principle: when described flap is opened, MEDIA FLOW is crossed described valve seat orifice, because valve seat and the unique design of flap sealing surface and the leading role of described column construction, make medium along the arcuate surface of the lower end surface of described column construction to dirty, sealing surface is not directly to meet the medium that flows out to from described valve seat orifice in this process, but, guarantee that medium can directly not be washed into described sealing surface all the time back to the medium that flows out; Otherwise when described flap was closed, because the leading role of described column construction lower end surface, medium can directly not wash away described sealing surface, and described column construction can also play the effect that stops the medium circulation simultaneously.In a word, no matter stop valve is to open or close, and sealing surface all is protected all the time.
The utility model is with respect to traditional stop valve, and from the not increase of quantity of part, the weight of material is also the same substantially with traditional stop valve, has just changed the form of sealing surface, and technology is simple.On the basis that does not increase cost of production, make the sealing surface of stop valve have protection against erosion, corrosion resistant performance, be particularly useful for the flow control of High Temperature High Pressure gas medium.

Claims (12)

1. protection against erosion stop valve, it is characterized in that comprising valve body, sealing pair and driving mechanism, the top of described valve body is provided with valve gap, described sealing pair is made up of vertical flap and valve seat, described valve seat is fixedly mounted in the chamber of described valve body, described flap is positioned at the top of described valve seat, and be connected to allow its movable connection method that moves up and down with described valve body, be respectively equipped with relative up and down sealing surface on described flap and the described valve seat, the sealing surface of described valve seat is a male cone (strobilus masculinus), be positioned at the chamber of described valve body, the sealing surface of described flap is an inner conical surface, the output terminal of described driving mechanism is in transmission connection with the movable connection method that allow to drive described flap and move up and down and the upper end of described flap, the input end of described driving mechanism drives with drive unit and is connected, described valve gap is provided with through hole, driving component in described flap or the described driving mechanism passes the through hole on the described valve gap, described drive unit is positioned at the outside of described valve body, and described drive unit is manual driving device and/or automatic drive.
2. protection against erosion stop valve as claimed in claim 1 is characterized in that the central lines of the inner conical surface of the male cone (strobilus masculinus) of described valve seat and described flap.
3. protection against erosion stop valve as claimed in claim 1 or 2 is characterized in that the central authorities of described valve seat are provided with valve seat orifice, and the inner conical surface middle part of described flap is provided with the column structure that can insert described valve seat orifice.
4. protection against erosion stop valve as claimed in claim 3, the lower end surface that it is characterized in that described column structure is an arc-shaped concave.
5. protection against erosion stop valve as claimed in claim 4 is characterized in that the lower end surface of described column structure is lower than the sealing surface of described flap.
6. protection against erosion stop valve as claimed in claim 5 is characterized in that the external diameter of described column structure matches with the internal diameter of described valve seat orifice, between leave the free gap.
7. protection against erosion stop valve as claimed in claim 6 is characterized in that the male cone (strobilus masculinus) of described valve seat and/or the inner conical surface of described flap are provided with seal ring.
8. protection against erosion stop valve as claimed in claim 6 is characterized in that the inner conical surface of the male cone (strobilus masculinus) of described valve seat and described flap is provided with the hard enclosed watch surface layer of mutual correspondence.
9. protection against erosion stop valve as claimed in claim 7 is characterized in that described seal ring is the rubber elasticity seal ring.
10. protection against erosion stop valve as claimed in claim 8, it is characterized in that described hard enclosed watch surface layer adopt the built-up welding hard material after machining form.
11. as claim 1,2,4,5,6,7,8,9 or 10 described protection against erosion stop valves, it is characterized in that described drive unit is manual driving device and/or automatic drive, described manual driving device comprises handle or handwheel, described automatic drive be electronic, electromagnetism moving, pneumatic or fluid pressure drive device.
12. protection against erosion stop valve as claimed in claim 3, it is characterized in that described drive unit is manual driving device and/or automatic drive, described manual driving device comprises handle or handwheel, described automatic drive be electronic, electromagnetism moving, pneumatic or fluid pressure drive device.
CN2011200789279U 2011-03-18 2011-03-18 Scour-proof stop valve Expired - Fee Related CN202065476U (en)

Priority Applications (1)

Application Number Priority Date Filing Date Title
CN2011200789279U CN202065476U (en) 2011-03-18 2011-03-18 Scour-proof stop valve

Applications Claiming Priority (1)

Application Number Priority Date Filing Date Title
CN2011200789279U CN202065476U (en) 2011-03-18 2011-03-18 Scour-proof stop valve

Publications (1)

Publication Number Publication Date
CN202065476U true CN202065476U (en) 2011-12-07

Family

ID=45059339

Family Applications (1)

Application Number Title Priority Date Filing Date
CN2011200789279U Expired - Fee Related CN202065476U (en) 2011-03-18 2011-03-18 Scour-proof stop valve

Country Status (1)

Country Link
CN (1) CN202065476U (en)

Cited By (4)

* Cited by examiner, † Cited by third party
Publication number Priority date Publication date Assignee Title
CN104864134A (en) * 2015-05-19 2015-08-26 罗达莱克斯阀门(上海)有限公司 Safety valve
CN106051355A (en) * 2016-08-05 2016-10-26 山东盛世润禾塑胶科技有限公司 Lift-pull type three-way water supply device for farm irrigation
CN109506001A (en) * 2018-12-03 2019-03-22 四川鹿台科技有限公司 A kind of novel protection against erosion compensation flap
CN120667545A (en) * 2025-08-22 2025-09-19 上正阀门集团有限公司 High-pressure-difference anti-scouring low-noise stop valve

Cited By (6)

* Cited by examiner, † Cited by third party
Publication number Priority date Publication date Assignee Title
CN104864134A (en) * 2015-05-19 2015-08-26 罗达莱克斯阀门(上海)有限公司 Safety valve
CN104864134B (en) * 2015-05-19 2018-01-09 罗达莱克斯阀门(上海)有限公司 Safety valve
CN106051355A (en) * 2016-08-05 2016-10-26 山东盛世润禾塑胶科技有限公司 Lift-pull type three-way water supply device for farm irrigation
CN109506001A (en) * 2018-12-03 2019-03-22 四川鹿台科技有限公司 A kind of novel protection against erosion compensation flap
CN109506001B (en) * 2018-12-03 2020-03-31 四川鹿台科技有限公司 Novel anti-scouring balance valve
CN120667545A (en) * 2025-08-22 2025-09-19 上正阀门集团有限公司 High-pressure-difference anti-scouring low-noise stop valve

Similar Documents

Publication Publication Date Title
CN102141157B (en) Erosion-prevention stop valve seal pair
CN202065476U (en) Scour-proof stop valve
CN201593397U (en) Downhole safety valve for oil and gas wells
CN201028039Y (en) Double-ball sealing ball valve
CN206571994U (en) High-pressure stop valve
CN110671502B (en) An anti-water hammer globe valve
CN205173517U (en) Dual seal stop valve
CN105587885B (en) Sealing ball valve
CN204083343U (en) A kind of drilling rod stopcock
CN104500789A (en) Backflow-proof double-core one-piece valve
CN205064949U (en) Y-shaped straight-through lifting check valve
CN201568065U (en) Sequence valves for hydraulic supports
CN205592441U (en) Multifunctional control vale
CN106286917B (en) Safety valve
CN201318492Y (en) Throttling stop valve
CN203532837U (en) Floating ball valve
CN204300446U (en) A kind of high-voltage modulation type Pilot operated safety valve
CN209213019U (en) A kind of air sealed valve
CN202578629U (en) New Manifold Valve Group for Oil Well Head
CN201462042U (en) Top-entry ball valve
CN206299828U (en) Sealing structure of high-pressure ball valve
CN218118821U (en) A new anti-scouring blowdown valve
CN203453497U (en) Inflation valve
CN200986037Y (en) High-temperature isolating valve
CN207393983U (en) A kind of high pressure self-tightening type shut-off valve for reverse direction flow medium

Legal Events

Date Code Title Description
C14 Grant of patent or utility model
GR01 Patent grant
ASS Succession or assignment of patent right

Owner name: SUNGO VALVES GROUP CO., LTD.

Free format text: FORMER OWNER: ZHAO ANDONG

Effective date: 20120331

C41 Transfer of patent application or patent right or utility model
TR01 Transfer of patent right

Effective date of registration: 20120331

Address after: 325105 Zhejiang province Yongjia Dong'ou Industrial Zone

Patentee after: SUNGO VALVES GROUP CO., LTD.

Address before: 325105 Zhejiang province Yongjia County Oubei town Dong'ou industrial zone is the valve group Co. Ltd.

Patentee before: Zhao Andong

CF01 Termination of patent right due to non-payment of annual fee

Granted publication date: 20111207

Termination date: 20190318

CF01 Termination of patent right due to non-payment of annual fee