CN202004400U - Cable terminal support arrangement structure - Google Patents
Cable terminal support arrangement structure Download PDFInfo
- Publication number
- CN202004400U CN202004400U CN2011200747632U CN201120074763U CN202004400U CN 202004400 U CN202004400 U CN 202004400U CN 2011200747632 U CN2011200747632 U CN 2011200747632U CN 201120074763 U CN201120074763 U CN 201120074763U CN 202004400 U CN202004400 U CN 202004400U
- Authority
- CN
- China
- Prior art keywords
- cable terminal
- tower
- lightning arrester
- cable termination
- shaft tower
- Prior art date
- Legal status (The legal status is an assumption and is not a legal conclusion. Google has not performed a legal analysis and makes no representation as to the accuracy of the status listed.)
- Expired - Fee Related
Links
Images
Landscapes
- Suspension Of Electric Lines Or Cables (AREA)
Abstract
本实用新型涉及一种杆塔布置结构,尤其是一种电缆终端杆塔布置结构,具体地说是一种用于提高电缆终端安全的杆塔布置结构,属于电力安全的技术领域。按照本实用新型提供的技术方案,所述电缆终端杆塔布置结构,包括线路塔及位于所述线路塔一侧的电缆终端杆塔;所述电缆终端杆塔上设有安装板,所述安装板固定安装有避雷器与电缆终端接头,所述电缆终端接头与避雷器间的距离L为1~1.5m。本实用新型电缆终端杆塔上设有安装板,安装板上固定安装有避雷器与电缆终端接头,避雷器与电缆终端接头间的距离设置为1~1.5m,能够减小电缆终端接头上的场强分布,减少了占用的土地资源,绝缘效果好,运行稳定,安全可靠。
The utility model relates to a pole tower layout structure, in particular to a pole tower layout structure for a cable terminal, specifically a pole tower layout structure for improving the safety of a cable terminal, and belongs to the technical field of electric power safety. According to the technical solution provided by the utility model, the arrangement structure of the cable terminal tower includes a line tower and a cable terminal tower located on one side of the line tower; the cable terminal tower is provided with a mounting plate, and the mounting plate is fixedly installed There is a lightning arrester and a cable terminal joint, and the distance L between the cable terminal joint and the lightning arrester is 1-1.5m. The cable terminal pole tower of the utility model is provided with a mounting plate, and the lightning arrester and the cable terminal joint are fixedly installed on the mounting plate, and the distance between the lightning arrester and the cable terminal joint is set at 1-1.5m, which can reduce the field strength distribution on the cable terminal joint , reduces the occupied land resources, good insulation effect, stable operation, safe and reliable.
Description
技术领域technical field
本实用新型涉及一种杆塔布置结构种,尤其是一种电缆终端杆塔布置结构,具体地说是一种用于提高电缆终端安全的杆塔布置结构,属于电力安全的技术领域。The utility model relates to a pole tower layout structure, in particular to a pole tower layout structure for a cable terminal, specifically a pole tower layout structure for improving the safety of a cable terminal, and belongs to the technical field of electric power safety.
背景技术Background technique
近几年110kV及以上高压电缆应用急剧上升,电缆事故数量也在逐年上升,不少地区发生了多起高压电缆事故,加强质量控制、减少电缆故障率的要求已迫在眉睫。In recent years, the application of high-voltage cables of 110kV and above has risen sharply, and the number of cable accidents has also increased year by year. Many high-voltage cable accidents have occurred in many areas. The requirements for strengthening quality control and reducing cable failure rates are imminent.
目前,电缆线路设计主要有单回路、双回路、双拼及双拼双回路等多种方式,各种不同方式下的电缆终端布置的设计方式各式各样,电缆终端相间、终端应力锥与避雷器、引下线连接等各部件的空间布置对电场分布存在相互影响,而以往设计并未充分考虑这一点。从理论上和目前各地区实际运行情况分析,各部件在空间布置的方式不同,不仅直接影响各部件的安全运行,而且还会发生某一部件故障后,对其他部件或整个电缆系统都会产生二次伤害。At present, the design of cable lines mainly includes single loop, double loop, double split and double split double loop and other methods. The design methods of cable terminal layout in various ways are various. The spatial arrangement of various components such as lightning arresters and down-conductor connections has mutual influence on the electric field distribution, but this point has not been fully considered in previous designs. Theoretically and the analysis of the current actual operation in various regions, the spatial arrangement of each component is different, which not only directly affects the safe operation of each component, but also causes secondary damage to other components or the entire cable system when a component fails. injury.
发明内容Contents of the invention
本实用新型的目的是克服现有技术中存在的不足,提供一种电缆终端杆塔布置结构,其结构简单紧凑,安装使用方便,绝缘效果好,运行稳定,安全可靠。The purpose of the utility model is to overcome the deficiencies in the prior art and provide a cable terminal tower layout structure, which has a simple and compact structure, easy installation and use, good insulation effect, stable operation, safety and reliability.
按照本实用新型提供的技术方案,所述电缆终端杆塔布置结构,包括线路塔及位于所述线路塔一侧的电缆终端杆塔;所述电缆终端杆塔上设有安装板,所述安装板固定安装有避雷器与电缆终端接头,所述电缆终端接头与避雷器间的距离L为1~1.5m。According to the technical solution provided by the utility model, the arrangement structure of the cable terminal tower includes a line tower and a cable terminal tower located on one side of the line tower; the cable terminal tower is provided with a mounting plate, and the mounting plate is fixedly installed There is a lightning arrester and a cable terminal joint, and the distance L between the cable terminal joint and the lightning arrester is 1-1.5m.
所述避雷器上设有避雷器放电计数器。所述避雷器为脱扣式避雷器。所述线路塔上设有耐张绝缘子串。The lightning arrester is provided with a lightning arrester discharge counter. The arrester is a tripping arrester. The line tower is provided with a string of strain insulators.
所述线路塔上固定安装有横担式合成绝缘子,所述横担式合成绝缘子对应于与线路塔相连的另一端设有导线固定线夹。A cross-arm composite insulator is fixedly installed on the line tower, and the other end of the cross-arm composite insulator corresponding to the line tower is provided with a wire fixing clamp.
所述安装板上设有用于对电缆终端接头接地的终端接地杆。所述终端接地杆上设有接地箱及保护套。The mounting plate is provided with a terminal grounding rod for grounding the cable terminal joint. The terminal ground rod is provided with a ground box and a protective cover.
本实用新型的优点:电缆终端杆塔上设有安装板,安装板上固定安装有避雷器与电缆终端接头,避雷器与电缆终端接头间的距离L设置为1~1.5m,能够减小电缆终端接头上的场强分布,减少了占用的土地资源,绝缘效果好,运行稳定,安全可靠。The utility model has the advantages: the cable terminal tower is provided with a mounting plate, and the lightning arrester and the cable terminal joint are fixedly installed on the mounting plate, and the distance L between the lightning arrester and the cable terminal joint is set at 1~1.5m, which can reduce the The field strength distribution reduces the occupied land resources, the insulation effect is good, the operation is stable, safe and reliable.
附图说明Description of drawings
图1为本实用新型的结构示意图。Fig. 1 is the structural representation of the utility model.
具体实施方式Detailed ways
下面结合具体附图和实施例对本实用新型作进一步说明。Below in conjunction with specific accompanying drawing and embodiment the utility model is further described.
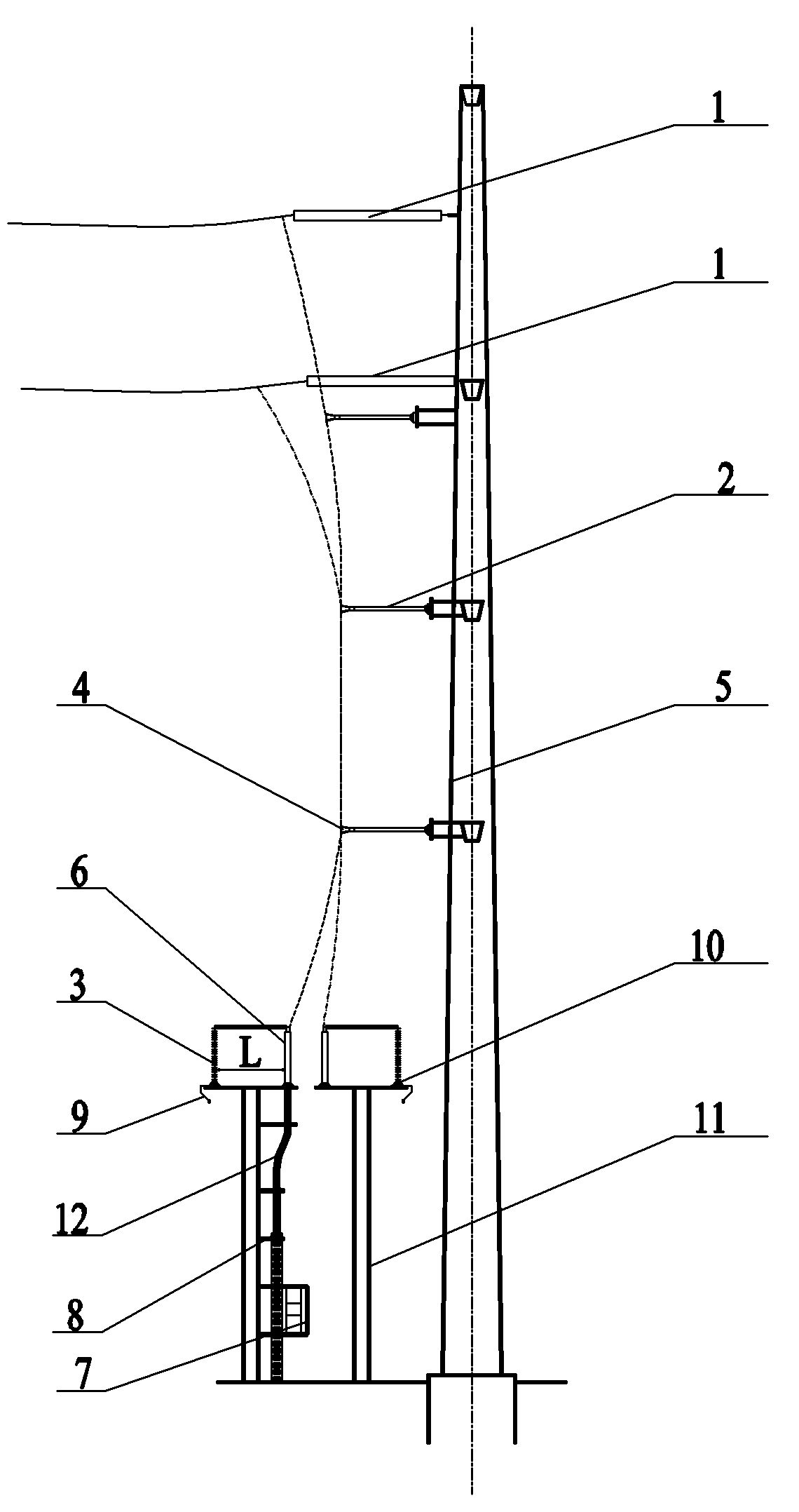
如图1所示:本实用新型包括耐张绝缘子串1、横担式合成绝缘子2、避雷器3、导线固定线夹4、线路塔5、电缆终端接头6、接地箱7、保护套8、避雷器放电计数器9、安装板10、电缆终端杆塔11及终端接地杆12。As shown in Figure 1: the utility model includes a
电缆终端可靠运行必须考虑外绝缘要求、防雷要求、机械性能要求以及方便抢修维护的要求,外绝缘性能主要依据为该布置方式下是否满足不产生干燥和潮湿条件下的电晕放电;防雷要求主要依据为避雷器是否能有效的保护电缆终端;机械性能要求依据为是否满足长时工作要求,在满足这些条件的前提下,优化组合,从而达到使电缆终端设计安装在满足运行条件的前提下,兼顾占用更少土地资源、有利于提升安装质量、便于安装、抢修维护及防盗、防潮等要求。Reliable operation of cable terminals must consider external insulation requirements, lightning protection requirements, mechanical performance requirements, and convenient repair and maintenance requirements. The main basis for external insulation performance is whether the arrangement meets corona discharge under dry and humid conditions; The main basis for the requirement is whether the arrester can effectively protect the cable terminal; the basis for the mechanical performance requirement is whether it meets the long-time working requirements. Under the premise of meeting these conditions, optimize the combination, so as to achieve the design and installation of the cable terminal under the premise of meeting the operating conditions , taking into account the requirements of occupying less land resources, improving the quality of installation, facilitating installation, repair and maintenance, and preventing theft and moisture.
如图1所示:所述电缆终端杆塔11位于线路塔5的一侧,所述电缆终端杆塔11的端部设有固定连接的安装板10,所述安装板10上固定安装有避雷器3及电缆终端接头6,所述电缆终端接头6与避雷器3间的距离L为1~1.5m,能够有效减少占用土地资源,同时能够减小电缆终端接头6上的电场强度分布,保护电路终端接头6的运行安全。避雷器3上设有避雷器放电计数器9,为了方便避雷器3的检修,避雷器3选择脱扣式避雷器。As shown in Figure 1: the
所述线路塔5上设有耐张绝缘子串1,所述耐张绝缘子串1的下方设有横担式合成绝缘子2,所述耐张绝缘子串1与横担式合成绝缘子2均与线路塔5固定连接。横担式合成绝缘子2对应于与线路塔5相连的另一端端部设有导线固定线夹4。电缆终端杆塔11上还设有用于对电缆终端接头6进行接地的终端接地杆12,所述终端接地杆12上设有接地箱7及保护套8。The line tower 5 is provided with a
如图1所示:电缆终端接头6与避雷器3间的距离关系采用有限元分析软件进行分析,当电缆终端接头6与避雷器3间的距离为1~1.5m时,相对常规的电缆终端接头6与避雷器3间的距离2m,能够有效减小占地资源,同时,能够减小电缆终端接头6的场强分布。具体实施时:在电缆终端引出线处增加均压环或者扩大引出线屏蔽罩的直径;推荐避雷器3布置在靠近雷电波入侵的一侧,即在雷电波侵入时,应能使雷电波先到达避雷器3上,避雷器3的接地端应单独接地,不推荐避雷器3与电缆外护套连接后再接地。在工程实际中,在繁华地区考虑到瓷套在发生击穿时产生爆炸而伤人,推荐采用复合外套电缆终端。电缆终端本体固定时,在现场条件允许的情况下,应保持一直线,尽量避免弯曲,此外在设计安装时确保电缆终端杆塔基础的质量尤其是沿河、沿桥等地从而防止下沉,以避免电缆终端尾部长期受应力影响而导致渗油、开裂缺陷。As shown in Figure 1: the distance relationship between the cable terminal joint 6 and the
Claims (7)
Priority Applications (1)
| Application Number | Priority Date | Filing Date | Title |
|---|---|---|---|
| CN2011200747632U CN202004400U (en) | 2011-03-21 | 2011-03-21 | Cable terminal support arrangement structure |
Applications Claiming Priority (1)
| Application Number | Priority Date | Filing Date | Title |
|---|---|---|---|
| CN2011200747632U CN202004400U (en) | 2011-03-21 | 2011-03-21 | Cable terminal support arrangement structure |
Publications (1)
| Publication Number | Publication Date |
|---|---|
| CN202004400U true CN202004400U (en) | 2011-10-05 |
Family
ID=44707127
Family Applications (1)
| Application Number | Title | Priority Date | Filing Date |
|---|---|---|---|
| CN2011200747632U Expired - Fee Related CN202004400U (en) | 2011-03-21 | 2011-03-21 | Cable terminal support arrangement structure |
Country Status (1)
| Country | Link |
|---|---|
| CN (1) | CN202004400U (en) |
Cited By (3)
| Publication number | Priority date | Publication date | Assignee | Title |
|---|---|---|---|---|
| CN102227077A (en) * | 2011-03-21 | 2011-10-26 | 江苏省电力公司无锡供电公司 | Tower arrangement structure at cable terminal |
| CN103280758A (en) * | 2013-05-21 | 2013-09-04 | 国家电网公司 | Cable terminal tower |
| CN119965768A (en) * | 2025-02-18 | 2025-05-09 | 中国能源建设集团江苏省电力设计院有限公司 | A double-circuit tower overhead line converted into a double-spliced cable downlead structure |
-
2011
- 2011-03-21 CN CN2011200747632U patent/CN202004400U/en not_active Expired - Fee Related
Cited By (3)
| Publication number | Priority date | Publication date | Assignee | Title |
|---|---|---|---|---|
| CN102227077A (en) * | 2011-03-21 | 2011-10-26 | 江苏省电力公司无锡供电公司 | Tower arrangement structure at cable terminal |
| CN103280758A (en) * | 2013-05-21 | 2013-09-04 | 国家电网公司 | Cable terminal tower |
| CN119965768A (en) * | 2025-02-18 | 2025-05-09 | 中国能源建设集团江苏省电力设计院有限公司 | A double-circuit tower overhead line converted into a double-spliced cable downlead structure |
Similar Documents
| Publication | Publication Date | Title |
|---|---|---|
| CN102227077A (en) | Tower arrangement structure at cable terminal | |
| KR101166307B1 (en) | Setting structure of lightning arrester for electric pole | |
| CN104242208B (en) | A kind of overhead transmission line double back cable terminal steel pipe pole | |
| CN201975189U (en) | Multifunctional transformer substation lightning arrester | |
| CN101820157A (en) | Lightening arrester of transmission line | |
| CN202004400U (en) | Cable terminal support arrangement structure | |
| CN201075318Y (en) | Insulator string electrical arc discharge apparatus | |
| CN204964657U (en) | Test device suitable for research 10kV line gap ground connection form | |
| CN103840276A (en) | Connecting device of insulating buses | |
| CN204089116U (en) | A kind of overhead transmission line double back cable terminal steel pipe pole | |
| CN110350462A (en) | A kind of intelligent lightning protecting distribution line shaft tower | |
| CN202042865U (en) | Earthing device of power transmission line of composite pole tower | |
| CN204905828U (en) | Overhead transmission line lightning protection device | |
| CN104734102A (en) | Alternating current transmission line iron tower | |
| CN202737115U (en) | Grounding structure of high voltage single core cable metal outer sheath | |
| CN105655962A (en) | Novel lightning protection device of overhead distribution line | |
| CN203813047U (en) | Connecting device of insulating buses | |
| CN203166445U (en) | Device using coupling ground line to reduce lightning trip-out rate of transmission line | |
| CN205810490U (en) | The voltage-sharing protective device of a kind of extra-high voltage combined insulator and insulator chain | |
| CN204046107U (en) | Overhead transmission line wind-deviation protective device | |
| CN204243481U (en) | A 1000kV High Resistance Circuit Suspension Pipe Mother Structure | |
| CN204012615U (en) | A kind of Broken of Overhead Insulation Lines By Lightning protector | |
| CN205791424U (en) | The shielding line system of arc is exposed for reducing mountain area 750kV common-tower double-circuit lines shielding | |
| CN208337122U (en) | A kind of 10kV suspended insulated guide wire with the anti-lightning strike broken string of shielded layer | |
| CN204464915U (en) | Transmission line of alternation current steel tower |
Legal Events
| Date | Code | Title | Description |
|---|---|---|---|
| C14 | Grant of patent or utility model | ||
| GR01 | Patent grant | ||
| ASS | Succession or assignment of patent right |
Owner name: STATE ELECTRIC NET CROP. JIANGSU ELECTRIC POWER CO Effective date: 20120926 |
|
| C41 | Transfer of patent application or patent right or utility model | ||
| TR01 | Transfer of patent right |
Effective date of registration: 20120926 Address after: 214061 Jiangsu province Binhu District of Wuxi City Liangxi Road No. 12 Patentee after: Wuxi Power Supply Co., Ltd, Jiangsu Electric Power Co. Patentee after: State Grid Corporation of China Patentee after: Jiangsu Electric Power Company Address before: 214061 Jiangsu province Binhu District of Wuxi City Liangxi Road No. 12 Patentee before: Wuxi Power Supply Co., Ltd, Jiangsu Electric Power Co. |
|
| CF01 | Termination of patent right due to non-payment of annual fee | ||
| CF01 | Termination of patent right due to non-payment of annual fee |
Granted publication date: 20111005 Termination date: 20180321 |
