CN201973485U - LED illuminating lamp - Google Patents

LED illuminating lamp Download PDF

Info

Publication number
CN201973485U
CN201973485U CN2010206579477U CN201020657947U CN201973485U CN 201973485 U CN201973485 U CN 201973485U CN 2010206579477 U CN2010206579477 U CN 2010206579477U CN 201020657947 U CN201020657947 U CN 201020657947U CN 201973485 U CN201973485 U CN 201973485U
Authority
CN
China
Prior art keywords
heat dissipation
light
lamp
led
aluminum
Prior art date
Legal status (The legal status is an assumption and is not a legal conclusion. Google has not performed a legal analysis and makes no representation as to the accuracy of the status listed.)
Expired - Fee Related
Application number
CN2010206579477U
Other languages
Chinese (zh)
Inventor
王罗群
余贵华
Current Assignee (The listed assignees may be inaccurate. Google has not performed a legal analysis and makes no representation or warranty as to the accuracy of the list.)
Dongguan Aoyite Industrial Co ltd
Original Assignee
Dongguan Aoyite Industrial Co ltd
Priority date (The priority date is an assumption and is not a legal conclusion. Google has not performed a legal analysis and makes no representation as to the accuracy of the date listed.)
Filing date
Publication date
Application filed by Dongguan Aoyite Industrial Co ltd filed Critical Dongguan Aoyite Industrial Co ltd
Priority to CN2010206579477U priority Critical patent/CN201973485U/en
Application granted granted Critical
Publication of CN201973485U publication Critical patent/CN201973485U/en
Anticipated expiration legal-status Critical
Expired - Fee Related legal-status Critical Current

Links

Images

Classifications

    • YGENERAL TAGGING OF NEW TECHNOLOGICAL DEVELOPMENTS; GENERAL TAGGING OF CROSS-SECTIONAL TECHNOLOGIES SPANNING OVER SEVERAL SECTIONS OF THE IPC; TECHNICAL SUBJECTS COVERED BY FORMER USPC CROSS-REFERENCE ART COLLECTIONS [XRACs] AND DIGESTS
    • Y02TECHNOLOGIES OR APPLICATIONS FOR MITIGATION OR ADAPTATION AGAINST CLIMATE CHANGE
    • Y02BCLIMATE CHANGE MITIGATION TECHNOLOGIES RELATED TO BUILDINGS, e.g. HOUSING, HOUSE APPLIANCES OR RELATED END-USER APPLICATIONS
    • Y02B20/00Energy efficient lighting technologies, e.g. halogen lamps or gas discharge lamps
    • Y02B20/40Control techniques providing energy savings, e.g. smart controller or presence detection

Landscapes

  • Non-Portable Lighting Devices Or Systems Thereof (AREA)
  • Arrangement Of Elements, Cooling, Sealing, Or The Like Of Lighting Devices (AREA)

Abstract

本实用新型提供一种LED照明灯,包括一灯头,与灯头连接的散热铝件,设置在散热铝件中的宽电压驱动器,与宽电压驱动器连接的铝基板,铝基板上装有一组发光管,在散热铝件的前开口处装有一铝环,在散热铝件的前端设有一透光半球形灯罩;LED光经过高导光率透光玻璃罩向外大面积均匀扩散,是替代白炽灯节能灯的完美产品,此照明LED灯的光效率达90-110LM/W,比传统白炽灯节能90%,且使用寿命长。

Figure 201020657947

The utility model provides an LED lighting lamp, comprising a lamp holder, a heat dissipation aluminum piece connected to the lamp holder, a wide voltage driver arranged in the heat dissipation aluminum piece, an aluminum base plate connected to the wide voltage driver, a group of light-emitting tubes arranged on the aluminum base plate, an aluminum ring arranged at the front opening of the heat dissipation aluminum piece, and a light-transmitting hemispherical lampshade arranged at the front end of the heat dissipation aluminum piece; LED light is diffused outward over a large area uniformly through the light-transmitting glass cover with high light conductivity, and is a perfect product to replace incandescent energy-saving lamps. The light efficiency of this lighting LED lamp reaches 90-110LM/W, which is 90% more energy-saving than traditional incandescent lamps, and has a long service life.

Figure 201020657947

Description

A kind of LED illuminating lamp
Technical field
Traditional incandescent lamp, the energy consumption height can not frequent starting, can turn black, can break down very soon, and the LED lamp not can, environmental protection, harmful substance such as not mercurous, the assembling parts of LED lamp is recyclable to be utilized again; Highly versatile, the voltage range of LED lamp is very wide, but from the equal operate as normal of 85~260V, is applicable to whole world domestic power grid voltage; Use comfortablely, the built-in B dimming driver of LED lamp can arbitrarily change its brightness, thereby reaches not only comfortable but also energy-conservation effect.
The utility model content
The purpose of this utility model is, holds main above-mentioned defective at existing, and a kind of high-efficiency LED illuminating lamp is provided.
A kind of LED illuminating lamp is provided, comprise a lamp holder, the heat radiation aluminum component that is connected with lamp holder, be arranged on the wide voltage driver in the heat radiation aluminum component, the aluminium base that is connected with wide voltage driver, one group of luminous tube is housed on the aluminium base, one aluminium ring is housed, be provided with a photic hemisphere shape lampshade at the front end of described heat radiation aluminum component in open front place of described heat radiation aluminum component.
In above-mentioned LED illuminating lamp, described lamp holder adopts the mode that is spirally connected to be connected with described heat radiation aluminum component.
In above-mentioned LED illuminating lamp, the front end of described heat radiation aluminum component is provided with a groove, described aluminium ring is arranged in this groove, and there is a gap on the annulus limit in the outer circumferential edge of aluminium ring and the described heat radiation aluminum component groove, and the edge of opening of described photic hemisphere shape lampshade embeds in the described gap.
The utlity model has following advantage: the wide region civil power is connected to driver through lamp holder, driver becomes 18V to voltage transitions, 300MA gives LED luminous tube constant current power supply, driver adopts PWM conversion regime efficiently, be suitable for global mains voltage, the heat that LED work produces conducts to radiator through aluminium base and distributes to the external world, and radiator adopts 6063 aluminium of high heat conduction, therefore mutliblade design has enough big area of dissipation, guarantees whole have better heat radiating effect and profile attractive in appearance.
LED light evenly spreads through the outside large tracts of land of too high light-conductive rate transparent glass cover, is the perfect product of replace incandescent electricity-saving lamp, and the optical efficiency of this illumination LED lamp reaches 90-110LM/W, than conventional incandescent energy-conservation 90%; Long service life, the life-span of LED illuminating lamp can reach more than 50000 hours, was higher than incandescent lamp and common energy-saving lamp far away.
Description of drawings
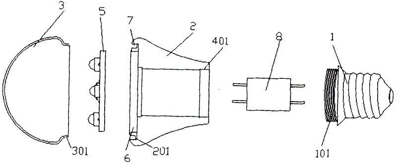
Fig. 1 is the outside drawing of the utility model LED illuminating lamp;
Fig. 2 is the decomposition texture schematic diagram of LED illuminating lamp.
The specific embodiment
With reference to Fig. 1, shown in Figure 2, design a kind of LED illuminating lamp, comprise a lamp holder 1, the heat radiation aluminum component 2 that is connected with lamp holder 1, be arranged on the wide voltage driver 8 in the heat radiation aluminum component 2, the aluminium base 5 that is connected with wide voltage driver 8 is equipped with one group of luminous tube on the aluminium base 5, in open front place of described heat radiation aluminum component 2 an aluminium ring 4 is housed, is provided with a photic hemisphere shape lampshade at the front end of described heat radiation aluminum component 2.Described lamp holder 1 is provided with external screw thread 101 and adopts the mode that is spirally connected to be connected with the heat radiation aluminum component 2 that is provided with internal thread 201.
The front end of described heat radiation aluminum component 2 is provided with a groove 201, described aluminium ring 4 is arranged in this groove 201, there is a gap 7 on the interior annulus limit of the outer circumferential edge of aluminium ring 4 and described heat radiation aluminum component 2 grooves 201, and the edge of opening 301 of described photic hemisphere shape lampshade 3 embeds in the described gap 7.
The optical efficiency of the utility model illuminating LED lamp reaches 90-110LM/W, than conventional incandescent streetlamp energy-saving 90%; Long service life, the life-span of LED illuminating lamp can reach more than 50000 hours, was higher than incandescent lamp and common energy-saving lamp far away; Can frequent starting, traditional electricity-saving lamp, if vehement lamp starts frequently or turn-offs, filament will turn black, very fast breaks down, and the LED lamp can not; The harmful substance such as not mercurous, the recyclable recycling of the assembling parts of LED lamp; Highly versatile, the voltage range of LED lamp is very wide, all can work from 8~40V, is applicable to various multiple power sources.

Claims (3)

1.一种LED照明灯,其特征在于,包括一灯头,与灯头连接的散热铝件,设置在散热铝件中的宽电压驱动器,与宽电压驱动器连接的铝基板,铝基板上装有一组发光管,在所述散热铝件的前开口处装有一铝环,在所述散热铝件的前端设有一透光半球形灯罩。1. A kind of LED illuminating lamp, it is characterized in that, comprises a lamp holder, the heat dissipation aluminum part that is connected with the lamp holder, the wide voltage driver that is arranged in the heat dissipation aluminum part, the aluminum substrate that is connected with wide voltage driver, a group of light-emitting An aluminum ring is installed at the front opening of the heat dissipation aluminum part, and a light-transmitting hemispherical lampshade is arranged at the front end of the heat dissipation aluminum part. 2.根据权利要求1所述的LED照明灯,其特征在于,所述灯头与所述散热铝件采用螺接的方式相连接。2 . The LED lighting lamp according to claim 1 , wherein the lamp cap is connected to the heat dissipation aluminum part by means of screw connection. 3 . 3.根据权利要求1所述的LED照明灯,其特征在于,所述散热铝件的前端设有一凹槽,所述铝环设置在该凹槽中,铝环的外圆边与所述散热铝件凹槽内圆环边有一间隙,所述透光半球形灯罩的开口边缘嵌入所述间隙中。3. The LED lighting lamp according to claim 1, characterized in that, the front end of the heat dissipation aluminum part is provided with a groove, the aluminum ring is set in the groove, and the outer circular edge of the aluminum ring is in contact with the heat dissipation There is a gap on the inner ring edge of the groove of the aluminum part, and the opening edge of the light-transmitting hemispherical lampshade is embedded in the gap.
CN2010206579477U 2010-12-14 2010-12-14 LED illuminating lamp Expired - Fee Related CN201973485U (en)

Priority Applications (1)

Application Number Priority Date Filing Date Title
CN2010206579477U CN201973485U (en) 2010-12-14 2010-12-14 LED illuminating lamp

Applications Claiming Priority (1)

Application Number Priority Date Filing Date Title
CN2010206579477U CN201973485U (en) 2010-12-14 2010-12-14 LED illuminating lamp

Publications (1)

Publication Number Publication Date
CN201973485U true CN201973485U (en) 2011-09-14

Family

ID=44578587

Family Applications (1)

Application Number Title Priority Date Filing Date
CN2010206579477U Expired - Fee Related CN201973485U (en) 2010-12-14 2010-12-14 LED illuminating lamp

Country Status (1)

Country Link
CN (1) CN201973485U (en)

Cited By (4)

* Cited by examiner, † Cited by third party
Publication number Priority date Publication date Assignee Title
CN102518968A (en) * 2011-12-20 2012-06-27 东莞市奥一特实业有限公司 Bulb lamp preparation method and bulb lamp prepared by implementing the method
CN105221989A (en) * 2015-09-28 2016-01-06 苏州承乐电子科技有限公司 A kind of LED desk lamp with adjustable
CN105221990A (en) * 2015-09-28 2016-01-06 苏州承乐电子科技有限公司 A kind of LED desk lamp
CN108591844A (en) * 2018-05-03 2018-09-28 海宁福得电器有限公司 A kind of water proof lamp

Cited By (4)

* Cited by examiner, † Cited by third party
Publication number Priority date Publication date Assignee Title
CN102518968A (en) * 2011-12-20 2012-06-27 东莞市奥一特实业有限公司 Bulb lamp preparation method and bulb lamp prepared by implementing the method
CN105221989A (en) * 2015-09-28 2016-01-06 苏州承乐电子科技有限公司 A kind of LED desk lamp with adjustable
CN105221990A (en) * 2015-09-28 2016-01-06 苏州承乐电子科技有限公司 A kind of LED desk lamp
CN108591844A (en) * 2018-05-03 2018-09-28 海宁福得电器有限公司 A kind of water proof lamp

Similar Documents

Publication Publication Date Title
CN201973485U (en) LED illuminating lamp
CN202012774U (en) Integrated heat-dissipation LED (light-emitting diode) down lamp
CN202048418U (en) Light-emitting diode (LED) fluorescent tube
CN204141428U (en) LED garden lamp
CN202402990U (en) Novel light-emitting diode (LED) energy-saving bulb lamp
CN102102818A (en) Energy-saving environmental friendly lighting device
CN202675104U (en) Hidden-light light-emitting diode (LED) anti-dazzle ceiling lamp
CN205261252U (en) Integral type light source
CN201322209Y (en) Novel high-power LED lamp
CN202302805U (en) Low-voltage LED (light-emitting diode) lamp used outdoors
CN201425230Y (en) A new type of LED street lamp
CN201954311U (en) LED(light-emitting diode) illuminating lamp
CN202101001U (en) LED fluorescent tube
CN203068229U (en) LED bulb lamp provided with screw type heat radiator
CN213362089U (en) Light-gathering type LED indicating bulb with detachable lampshade
CN201973562U (en) A high-efficiency LED spotlight
CN201973563U (en) A high-power LED spotlight
CN202629668U (en) LED (Light Emitting Diode) spotlight
CN203258414U (en) Energy-saving lamp
KR200468298Y1 (en) Rembrandt Light and LED lights with reflective light
CN203963540U (en) A kind of LED candle light fitting
CN201992421U (en) LED (light-emitting diode) spherical bubble lamp
CN209672093U (en) A kind of rocket bubble LED light
CN202647442U (en) Light-emitting diode (LED) spotlight
CN203131583U (en) Novel light-emitting diode (LED) mirror front lamp

Legal Events

Date Code Title Description
C14 Grant of patent or utility model
GR01 Patent grant
C17 Cessation of patent right
CF01 Termination of patent right due to non-payment of annual fee

Granted publication date: 20110914

Termination date: 20131214