CN201892269U - Air environment optimization device - Google Patents

Air environment optimization device Download PDF

Info

Publication number
CN201892269U
CN201892269U CN2010205121705U CN201020512170U CN201892269U CN 201892269 U CN201892269 U CN 201892269U CN 2010205121705 U CN2010205121705 U CN 2010205121705U CN 201020512170 U CN201020512170 U CN 201020512170U CN 201892269 U CN201892269 U CN 201892269U
Authority
CN
China
Prior art keywords
atomization
ozone
air
air environment
generator
Prior art date
Legal status (The legal status is an assumption and is not a legal conclusion. Google has not performed a legal analysis and makes no representation as to the accuracy of the status listed.)
Expired - Fee Related
Application number
CN2010205121705U
Other languages
Chinese (zh)
Inventor
刘启航
Current Assignee (The listed assignees may be inaccurate. Google has not performed a legal analysis and makes no representation or warranty as to the accuracy of the list.)
Individual
Original Assignee
Individual
Priority date (The priority date is an assumption and is not a legal conclusion. Google has not performed a legal analysis and makes no representation as to the accuracy of the date listed.)
Filing date
Publication date
Application filed by Individual filed Critical Individual
Priority to CN2010205121705U priority Critical patent/CN201892269U/en
Application granted granted Critical
Publication of CN201892269U publication Critical patent/CN201892269U/en
Anticipated expiration legal-status Critical
Expired - Fee Related legal-status Critical Current

Links

Images

Classifications

    • YGENERAL TAGGING OF NEW TECHNOLOGICAL DEVELOPMENTS; GENERAL TAGGING OF CROSS-SECTIONAL TECHNOLOGIES SPANNING OVER SEVERAL SECTIONS OF THE IPC; TECHNICAL SUBJECTS COVERED BY FORMER USPC CROSS-REFERENCE ART COLLECTIONS [XRACs] AND DIGESTS
    • Y02TECHNOLOGIES OR APPLICATIONS FOR MITIGATION OR ADAPTATION AGAINST CLIMATE CHANGE
    • Y02ATECHNOLOGIES FOR ADAPTATION TO CLIMATE CHANGE
    • Y02A50/00TECHNOLOGIES FOR ADAPTATION TO CLIMATE CHANGE in human health protection, e.g. against extreme weather
    • Y02A50/20Air quality improvement or preservation, e.g. vehicle emission control or emission reduction by using catalytic converters

Landscapes

  • Disinfection, Sterilisation Or Deodorisation Of Air (AREA)

Abstract

本实用新型涉及一种用于空气的消毒、灭菌或除臭的装置,尤其是一种空气环境优化装置。其特征是:包括由雾化生成器、雾化箱、雾化管、雾化生成器电源和雾化箱助力泵组成的雾化单元,由臭氧生成器、臭氧助力泵、臭氧生成器电源和臭氧输出管组成的臭氧杀菌单元,以及由紫外线杀菌器组成的紫外线杀菌单元。本实用新型的一种空气环境优化装置集空气加湿、消毒、灭菌和除臭功能于一体,采用立体式可移动结构,通过多种方式对车内或室内的空气进行消毒、灭菌和除臭等改良操作,迅速改良车内或室内的空气状况,容易移动,使用方便,四季适用,空气改良效果良好,便于汽车的清洗清洁和家庭的保洁卫生工作,提高服务行业的工作效率,适应生活及市场的需要。

Figure 201020512170

The utility model relates to a device for air disinfection, sterilization or deodorization, in particular to an air environment optimization device. Its characteristics are: including an atomization unit composed of an atomization generator, an atomization box, an atomization tube, an atomization generator power supply and an atomization box booster pump, and an ozone generator, an ozone booster pump, an ozone generator power supply and An ozone sterilizing unit composed of an ozone output tube, and an ultraviolet sterilizing unit composed of an ultraviolet sterilizer. An air environment optimization device of the utility model integrates the functions of air humidification, disinfection, sterilization and deodorization, and adopts a three-dimensional movable structure to disinfect, sterilize and deodorize the air in the car or indoors in various ways. Odor and other improvement operations, quickly improve the air condition in the car or indoor, easy to move, easy to use, suitable for all seasons, good air improvement effect, convenient for car cleaning and household cleaning and sanitation, improve the work efficiency of the service industry, and adapt to life and market needs.

Figure 201020512170

Description

A kind of air ambient is optimized device
Technical field
The utility model relates to a kind of device that is used for sterilization, sterilization or the deodorizing of air, and especially a kind of air ambient is optimized device.
Background technology
At present, along with the fast development of national economy and the raising day by day of living standards of the people, variation with rapid changepl. never-ending changes and improvements is also taking place in Domestic Automotive Industry and house decoration.The output of automobile grows with each passing day, add that people improve the requirement of family's living conditions, attention to hygiene, concern health have been an important content of average family life, family keep a public place clean the service quality also improving constantly, only can accomplish cleaning and towel wiping but family keeps a public place clean, can't handle at all the new furniture of the overwhelming majority or newly-decorated peculiar smell and bacterium; In addition, the cleaning of vehicle and the workload of maintenance are also increasing, and existing carwash is many based on towel scouring form, can't remove indoor bacterium and the peculiar smell of car substantially, and not only elapsed time but also cost were higher, did not also reach the good result of dealing with problems.Need a kind of air ambient that integrates humidification, sterilization, sterilization and the deodorization functions of air to optimize device for this reason, thereby can be so that the cleaning cleaning of automobile and the sanitary work of keeping a public place clean of family, improve the operating efficiency of service industry, thereby adapt to the needs in life and market.
The utility model content
A kind of air ambient of the present utility model is optimized device, it integrates humidification, sterilization, sterilization and the deodorization functions of air, adopt three-dimensional removable frame, can be in several ways to Che Nei or indoor air carry out disinfection, evolutionary operation such as sterilization and deodorizing, can improve in the car rapidly or indoor air regime, move easily, easy to use, the four seasons are suitable for, the air improved effect is good, be convenient to the cleaning cleaning of automobile and the sanitary work of keeping a public place clean of family, improve the operating efficiency of service industry, can adapt to the needs in life and market.
The technical scheme that the utility model adopted is:
A kind of air ambient is optimized device, it is characterized in that: comprise the atomization unit of forming by atomizing maker, atomizing case, mist pipe, atomizing maker power supply and atomizing case boost pump, the ozone sterilization unit of forming by ozone generator, ozone boost pump, ozone generator power supply and ozone efferent duct, and the ultraviolet sterilization unit of forming by ultraviolet sterilizer.The ozone boost pump can be accelerated the air improved speed and improve the air improved effect so that the ozone that ozone generator is produced can be transfused in the air ambient that needs improvement rapidly like this.
Described air ambient is optimized device, and the outside of atomization unit, ozone sterilization unit and ultraviolet sterilization unit is provided with shell, and outer casing underpart is provided with base plate, and shell upper is provided with guidance panel.
Described air ambient is optimized device, and atomizing boost pump and ozone boost pump are arranged on the top of atomizing case and ozone generator; Atomizing maker power supply is connected with guidance panel with the atomizing maker, and atomizing case boost pump is connected with guidance panel with the atomizing case; Mist pipe is arranged on the upper position of atomizing case one end, and the atomizing outlet is moved along with moving of mist pipe; Ultraviolet sterilizer is arranged on an end of its atomizing outlet of mist pipe, and the atomizing particle of atomizing case output is imported in the working space environment after ultraviolet sterilizer carries out sterilization.
Described air ambient is optimized device, and the ozone boost pump is connected with ozone generator, and the ozonizer power supply is connected with ozone generator with guidance panel; Ozone efferent duct one end links to each other with ozone generator, and its other end directly inserts in the working space environment by the ozone outlet in use.
Described air ambient is optimized device, and the front of guidance panel is provided with the spill storing basket, the bottom of guidance panel and storing basket and be provided with material storage room in the top position, rear portion that whole air ambient is optimized device.Like this, can effectively under the prerequisite that does not influence equipment performance, equipment volume be tapered to minimum state, storing basket and material storage room can also be used for article such as various auxiliary equipment that splendid attire room air improved equipment is equipped with and running stores, conveniently use and help aesthetic.
Described air ambient is optimized device, and atomization unit and ozone sterilization unit are provided with time switch.
Described air ambient is optimized device, and atomizing case top is provided with the filler; The inside top of atomizing case is provided with the high water-level alarm device; One end of atomizing case is provided with delivery port and water level displaying tube, and the other end is connected with atomizing case boost pump; The top of atomizing maker is provided with ultramicrowave fog device, and the two ends, top of atomizing maker are respectively equipped with low water level alarm device.So in time the height of sensed water level guarantees service life.The shower nozzle exit of ultraviolet sterilizer is provided with the screen pack of internal or external strap clamp layer, adds dried flower or floral water or air freshener in the screen pack.Play like this and make pleasant effect with fresh air.
Described air ambient is optimized device, and guidance panel is provided with numeral and shows voltmeter, power switch, indicator lamp, time switch, sterilization and oxidation button.Use directly perceived more, convenient like this.
Be provided with the damping rubber cushion below the described air ambient optimization device, base plate, and the position at four angles is respectively equipped with running wheel below the base plate, wherein running wheel is made up of two universal wheels and two wheels of keeping straight on.The brake function of universal wheel can prevent that air ambient optimization device from moving the security performance when effectively raising its use voluntarily when the environment of ground injustice uses like this.
Described air ambient is optimized device, its built-in ultraviolet sterilization pipe of ultraviolet sterilizer, external stainless steel casing, bactericidal effect and the service life that can effectively improve ultraviolet sterilizer like this; The top of atomizing case and ozone generator, and in the lower position of guidance panel, be provided with single fan and open the door, operation and device maintenance can conveniently be used like this; The shell both sides are provided with handle.Controlling and using in the time of to make things convenient for air ambient optimization device to move like this.
A kind of air ambient of the present utility model is optimized device, it integrates humidification, sterilization, sterilization and the deodorization functions of air, adopt three-dimensional removable frame, can be in several ways to Che Nei or indoor air carry out disinfection, evolutionary operation such as sterilization and deodorizing, can improve in the car rapidly or indoor air regime, move easily, easy to use, the four seasons are suitable for, the air improved effect is good, be convenient to the cleaning cleaning of automobile and the sanitary work of keeping a public place clean of family, improve the operating efficiency of service industry, can adapt to the needs in life and market.
Description of drawings
Fig. 1 is that a kind of air ambient of the utility model is optimized the apparatus structure schematic diagram;
Fig. 2 is that a kind of air ambient of the utility model is optimized the device appearance schematic diagram;
Fig. 3 is that a kind of air ambient of the utility model is optimized the device schematic top plan view;
Fig. 4 is that a kind of air ambient of the utility model is optimized device guidance panel schematic appearance;
Fig. 5 is that a kind of air ambient of the utility model is optimized the device schematic rear view.
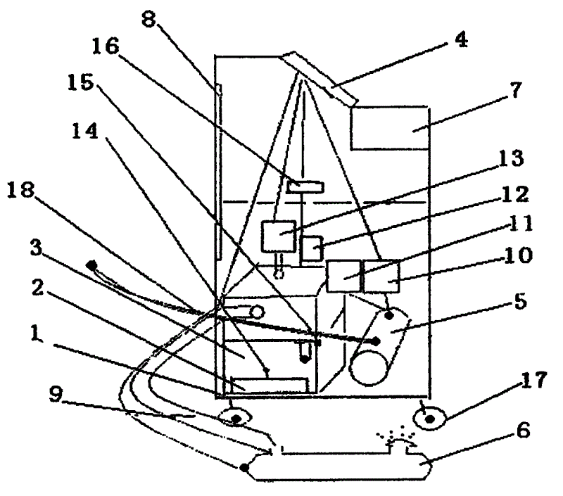
Wherein, 1 is base plate, and 2 are the atomizing maker, and 3 are the atomizing case, 4 is guidance panel, and 5 is ozone generator, and 6 is ultraviolet sterilizer, and 7 is storing basket, 8 is material storage room, and 9 is mist pipe, and 10 is the ozone boost pump, and 11 is the ozonizer power supply, 12 are atomizing maker power supply, and 13 are atomizing case boost pump, 14 low water level alarm devices, and 15 is the high water-level alarm device, 16 is handle, and 17 is running wheel, and 18 is the ozone efferent duct, and 19 is the equipment cooling device, 20 are the atomizing outlet, and 21 are the ozone outlet, and 22 is shell.
The specific embodiment
Embodiment
Extremely shown in Figure 5 as Fig. 1, a kind of air ambient is optimized device, it is characterized in that: comprise the atomization unit of forming by atomizing maker 2, atomizing case 3, mist pipe 9, atomizing maker power supply 12 and atomizing case boost pump 13, the ozone sterilization unit of forming by ozone generator 5, ozone boost pump 10, ozone generator power supply 11 and ozone efferent duct 18, and the ultraviolet sterilization unit of forming by ultraviolet sterilizer 6.Ozone boost pump 10 can be accelerated the air improved speed and improve the air improved effect so that the ozone that ozone generator 5 is produced can be transfused in the air ambient that needs improvement rapidly like this.The outside of atomization unit, ozone sterilization unit and ultraviolet sterilization unit is provided with shell 22, and shell 22 bottoms are provided with base plate 1, and shell 22 tops are provided with guidance panel 4; Atomizing boost pump 13 and ozone boost pump 10 are arranged on the top of atomizing case 3 and ozone generator 5; Atomizing maker power supply 12 is connected with guidance panel 4 with atomizing maker 2, and atomizing case boost pump 13 is connected with guidance panel 94 with atomizing case 3; Mist pipe 9 is arranged on the upper position of atomizing case 3 one ends, and atomizing outlet 20 is moved along with moving of mist pipe 9; Ultraviolet sterilizer 6 is arranged on an end of mist pipe 9 its atomizing outlets 20, and the atomizing particle of atomizing case 3 outputs is imported in the working space environment after ultraviolet sterilizer 6 carries out sterilization; Ozone boost pump 10 is connected with ozone generator 5, and ozonizer power supply 11 is connected with ozone generator 5 with guidance panel 4; Ozone efferent duct 18 1 ends link to each other with ozone generator 5, and its other end directly inserts in the working space environment by ozone outlet 21 in use; The front of guidance panel 4 is provided with spill storing basket 7, the bottom of guidance panel 4 and storing basket 7 and be provided with material storage room 8 in the top position, rear portion that whole air ambient is optimized device.Like this, can effectively under the prerequisite that does not influence equipment performance, equipment volume be tapered to minimum state, storing basket 7 and material storage room 8 can also be used for article such as various auxiliary equipment that splendid attire room air improved equipment is equipped with and running stores, conveniently use and help aesthetic; Atomization unit and ozone sterilization unit are provided with time switch; Atomizing case 3 tops are provided with the filler; The inside top of atomizing case 3 is provided with high water-level alarm device 15; One end of atomizing case 3 is provided with delivery port and water level displaying tube, and the other end is connected with atomizing case boost pump 13; The top of atomizing maker 2 is provided with ultramicrowave fog device, and the two ends, top of atomizing maker 2 are respectively equipped with low water level alarm device 14.So in time the height of sensed water level guarantees service life; The shower nozzle exit of ultraviolet sterilizer 6 is provided with the screen pack of built-in strap clamp layer, adds dried flower in the screen pack.Play like this and make pleasant effect with fresh air.Guidance panel 4 is provided with numeral and shows voltmeter, power switch, indicator lamp, time switch, sterilization and oxidation button.Use directly perceived more, convenient like this; Be provided with the damping rubber cushion below the base plate 1, and the position at base plate 1 following four angles is respectively equipped with running wheel 17, wherein running wheel 17 is made up of two universal wheels and two wheels of keeping straight on.The brake function of universal wheel can prevent that air ambient optimization device from moving the security performance when effectively raising its use voluntarily when the environment of ground injustice uses like this; Ultraviolet sterilizer 6 its built-in ultraviolet sterilization pipes, external stainless steel casing, bactericidal effect and the service life that can effectively improve ultraviolet sterilizer 6 like this; The top of atomizing case 3 and ozone generator 5, and in the lower position of guidance panel 4, be provided with single fan and open the door, operation and device maintenance can conveniently be used like this; Shell 22 both sides are provided with handle 16.Controlling and using in the time of to make things convenient for air ambient optimization device to move like this.
A kind of air ambient of the present utility model is optimized device, it integrates humidification, sterilization, sterilization and the deodorization functions of air, adopt three-dimensional removable frame, can be in several ways to Che Nei or indoor air carry out disinfection, evolutionary operation such as sterilization and deodorizing, can improve in the car rapidly or indoor air regime, move easily, easy to use, the four seasons are suitable for, the air improved effect is good, be convenient to the cleaning cleaning of automobile and the sanitary work of keeping a public place clean of family, improve the operating efficiency of service industry, can adapt to the needs in life and market.
Obviously, the foregoing description of the present utility model only is for the utility model example clearly is described, and is not to be qualification to embodiment of the present utility model.For those of ordinary skill in the field, can also make other changes in different forms on the basis of the above description.Here can't give exhaustive to all embodiments.Everyly belong to the row that conspicuous variation that the technical solution of the utility model extends out or change still are in protection domain of the present utility model.

Claims (10)

1.一种空气环境优化装置,其特征是:包括由雾化生成器(2)、雾化箱(3)、雾化管(9)、雾化生成器电源(12)和雾化箱助力泵(13)组成的雾化单元,由臭氧生成器(5)、臭氧助力泵(10)、臭氧生成器电源(11)和臭氧输出管(18)组成的臭氧杀菌单元,以及由紫外线杀菌器(6)组成的紫外线杀菌单元。1. An air environment optimization device is characterized in that: comprising an atomization generator (2), an atomization box (3), an atomization tube (9), an atomization generator power supply (12) and an atomization box booster Atomization unit composed of pump (13), ozone sterilizing unit composed of ozone generator (5), ozone booster pump (10), ozone generator power supply (11) and ozone output pipe (18), and ultraviolet sterilizer (6) Composed of an ultraviolet sterilizing unit. 2.根据权利要求1所述的空气环境优化装置,其特征是:雾化单元、臭氧杀菌单元和紫外线杀菌单元的外部设有外壳(22),外壳(22)下部设有底板(1),外壳(22)上部设有操作面板(4)。2. air environment optimizing device according to claim 1, is characterized in that: the outside of atomization unit, ozone sterilizing unit and ultraviolet sterilizing unit is provided with shell (22), and shell (22) bottom is provided with bottom plate (1), An operation panel (4) is arranged on the top of the casing (22). 3.根据权利要求2所述的空气环境优化装置,其特征是:雾化助力泵(13)和臭氧助力泵(10)设置在雾化箱(3)和臭氧生成器(5)的上方;雾化生成器电源(12)与雾化生成器(2)和操作面板(4)相连接,雾化箱助力泵(13)与雾化箱(3)和操作面板94)相连接;雾化管(9)设置在雾化箱(3)一端的上部位置,雾化出口(20)随着雾化管(9)的移动而移动;紫外线杀菌器(6)设置在雾化管(9)其雾化出口(20)的一端,雾化箱(3)输出的雾化颗粒经紫外线杀菌器(6)进行杀菌后被输入到工作空间环境中。3. The air environment optimization device according to claim 2, characterized in that: the atomization booster pump (13) and the ozone booster pump (10) are arranged above the atomization box (3) and the ozone generator (5); The atomization generator power supply (12) is connected with the atomization generator (2) and the operation panel (4), and the atomization box booster pump (13) is connected with the atomization box (3) and the operation panel (94); The tube (9) is set at the upper position of one end of the atomization box (3), and the atomization outlet (20) moves with the movement of the atomization tube (9); the ultraviolet sterilizer (6) is set on the atomization tube (9) At one end of the atomization outlet (20), the atomized particles output from the atomization box (3) are sterilized by the ultraviolet sterilizer (6) and then input into the working space environment. 4.根据权利要2所述的空气环境优化装置,臭氧助力泵(10)与臭氧生成器(5)相连接,臭氧器电源(11)与操作面板(4)和臭氧生成器(5)相连接;臭氧输出管(18)一端与臭氧生成器(5)相连,其另一端在使用时通过臭氧出口(21)直接插入工作空间环境中。4. according to the air environment optimization device described in claim 2, the ozone booster pump (10) is connected with the ozone generator (5), and the ozonator power supply (11) is connected with the operation panel (4) and the ozone generator (5) Connection; one end of the ozone output pipe (18) is connected to the ozone generator (5), and its other end is directly inserted into the working space environment through the ozone outlet (21) when in use. 5.根据权利要求2所述的空气环境优化装置,其特征是:操作面板(4)的前面设有凹形储物筐(7),操作面板(4)和储物筐(7)的底部且在整个空气环境优化装置的后部上方位置设有储物室(8)。5. The air environment optimization device according to claim 2, characterized in that: the front of the operation panel (4) is provided with a concave storage basket (7), and the bottom of the operation panel (4) and the storage basket (7) And a storage room (8) is provided at the rear upper position of the whole air environment optimizing device. 6.根据权利要求1所述的空气环境优化装置,其特征是:雾化单元和臭氧杀菌单元上设有定时开关。 6. The air environment optimizing device according to claim 1, characterized in that: the atomization unit and the ozone sterilizing unit are provided with timing switches. the 7.根据权利要求1所述的空气环境优化装置,其特征是:雾化箱(3)顶端设有加水口;雾化箱(3)的顶部内侧设有高水位报警装置(15);雾化箱(3)的一端设有出水口和水位显示管,另一端与雾化箱助力泵(13)相连接;雾化生成器(2)的顶部设有超微波生雾器,且雾化生成器(2)的顶部两端分别设有低水位报警装置(14);紫外线杀菌器(6)的喷头出口处设有内置或外置带夹层的过滤网,过滤网内加入干花或花露水或空气清新剂。7. The air environment optimization device according to claim 1, characterized in that: the top of the atomization box (3) is provided with a water inlet; the inside of the top of the atomization box (3) is provided with a high water level alarm device (15); One end of the atomization box (3) is provided with a water outlet and a water level display tube, and the other end is connected with the booster pump (13) of the atomization box; The two ends of the top of the generator (2) are respectively provided with a low water level alarm device (14); the outlet of the nozzle of the ultraviolet sterilizer (6) is provided with a built-in or an external filter screen with an interlayer, and dried flowers or toilet water or water are added in the filter screen. Air freshener. 8.根据权利要求2所述的空气环境优化装置,其特征是:操作面板(4)上设有数字显示电压表、电源开关、指示灯、定时开关、杀菌和氧化按钮。8. The air environment optimization device according to claim 2, characterized in that: the operation panel (4) is provided with a digital display voltmeter, a power switch, an indicator light, a timer switch, and a sterilization and oxidation button. 9.根据权利要求2所述的空气环境优化装置,其特征是:底板(1)下面设有减震胶垫,且底板(1)下面四个角的位置处分别设有行走车轮(17),其中行走车轮(17)由两个万向轮和两个直行轮组成。9. The air environment optimization device according to claim 2, characterized in that: shock-absorbing rubber pads are provided under the base plate (1), and traveling wheels (17) are respectively provided at the four corners of the base plate (1) , wherein walking wheel (17) is made up of two universal wheels and two straight wheels. 10.根据权利要求2所述的空气环境优化装置,其特征是:紫外线杀菌器(6)其内置紫外线杀菌管,外置不锈钢外壳;雾化箱(3)和臭氧生成器(5)的顶部,且在操作面板(4)的下部位置处,设有单扇开门;外壳(22)两侧设有把手(16)。 10. The air environment optimization device according to claim 2, characterized in that: its built-in ultraviolet sterilizing tube of ultraviolet sterilizer (6), external stainless steel shell; the top of atomization box (3) and ozone generator (5) , and at the lower position of the operation panel (4), a single door is provided; handles (16) are provided on both sides of the casing (22). the
CN2010205121705U 2010-09-01 2010-09-01 Air environment optimization device Expired - Fee Related CN201892269U (en)

Priority Applications (1)

Application Number Priority Date Filing Date Title
CN2010205121705U CN201892269U (en) 2010-09-01 2010-09-01 Air environment optimization device

Applications Claiming Priority (1)

Application Number Priority Date Filing Date Title
CN2010205121705U CN201892269U (en) 2010-09-01 2010-09-01 Air environment optimization device

Publications (1)

Publication Number Publication Date
CN201892269U true CN201892269U (en) 2011-07-06

Family

ID=44221742

Family Applications (1)

Application Number Title Priority Date Filing Date
CN2010205121705U Expired - Fee Related CN201892269U (en) 2010-09-01 2010-09-01 Air environment optimization device

Country Status (1)

Country Link
CN (1) CN201892269U (en)

Cited By (3)

* Cited by examiner, † Cited by third party
Publication number Priority date Publication date Assignee Title
CN106979577A (en) * 2016-01-15 2017-07-25 天津悦利科技有限公司 A kind of air cleaning system
CN109317478A (en) * 2017-07-31 2019-02-12 佛山市顺德区洁家环保设备科技有限公司 Vehicle air conditioner cleaning equipment
CN114521223A (en) * 2019-09-30 2022-05-20 大金工业株式会社 Air conditioner

Cited By (4)

* Cited by examiner, † Cited by third party
Publication number Priority date Publication date Assignee Title
CN106979577A (en) * 2016-01-15 2017-07-25 天津悦利科技有限公司 A kind of air cleaning system
CN109317478A (en) * 2017-07-31 2019-02-12 佛山市顺德区洁家环保设备科技有限公司 Vehicle air conditioner cleaning equipment
CN114521223A (en) * 2019-09-30 2022-05-20 大金工业株式会社 Air conditioner
CN114521223B (en) * 2019-09-30 2023-12-12 大金工业株式会社 air conditioner

Similar Documents

Publication Publication Date Title
CN203576984U (en) Supermarket shopping cart disinfecting equipment
CN206846980U (en) A kind of purified humidifier
CN207949331U (en) A kind of athletic training room multi-functional storage cabinet
CN201892269U (en) Air environment optimization device
CN202568984U (en) Portable sterilizer
CN107898392A (en) There is the Intelligent indoor cleaning device of air purifying and sterilizing
CN211503085U (en) Self-cleaning oxygenation dehumidification purification disinfection machine for toilet
CN202875869U (en) Full-automatic air sterilizer
CN201078017Y (en) Water closet sanitary device
CN201819320U (en) Combined air purifier
CN201123550Y (en) Sterilizing shoe cabinet
CN201692357U (en) Portable disinfecting sterilizer
CN201316013Y (en) Shoe placement frame
CN202191257U (en) Dish-washing machine with plasma sterilizing and purifying functions
CN218356164U (en) Intelligent shoe body cleaning mechanism for entrance shoe cabinet
CN201153724Y (en) Sterilizing shoes cabinet
CN201175467Y (en) Infectious disease ward air purification device
CN211511718U (en) Shoe drying device with disinfection function
CN210932915U (en) Flue-cured tobacco seedling raising shed ultrasonic atomization spraying degassing unit
CN205962674U (en) An easy-to-clean food disinfection cabinet
CN202190966U (en) Shoe cabinet with plasma disinfection and sterilization functions
CN204356559U (en) A kind of Portable socks cleaning device
CN211459300U (en) Domestic deodorization intelligent shoe cabinet
CN202190963U (en) Clothes storage cabinet with plasma disinfection and sterilization function
CN214209003U (en) Toilet disinfection device for public toilet

Legal Events

Date Code Title Description
C14 Grant of patent or utility model
GR01 Patent grant
C17 Cessation of patent right
CF01 Termination of patent right due to non-payment of annual fee

Granted publication date: 20110706

Termination date: 20110901