CN201862358U - Alkaline liquor jetting type smoke-eliminating and desulfurizing dust collector - Google Patents
Alkaline liquor jetting type smoke-eliminating and desulfurizing dust collector Download PDFInfo
- Publication number
- CN201862358U CN201862358U CN2010206361918U CN201020636191U CN201862358U CN 201862358 U CN201862358 U CN 201862358U CN 2010206361918 U CN2010206361918 U CN 2010206361918U CN 201020636191 U CN201020636191 U CN 201020636191U CN 201862358 U CN201862358 U CN 201862358U
- Authority
- CN
- China
- Prior art keywords
- pipe
- nozzle
- housing
- filter screen
- smoke
- Prior art date
- Legal status (The legal status is an assumption and is not a legal conclusion. Google has not performed a legal analysis and makes no representation as to the accuracy of the status listed.)
- Expired - Fee Related
Links
Images
Landscapes
- Separation Of Particles Using Liquids (AREA)
- Treating Waste Gases (AREA)
Abstract
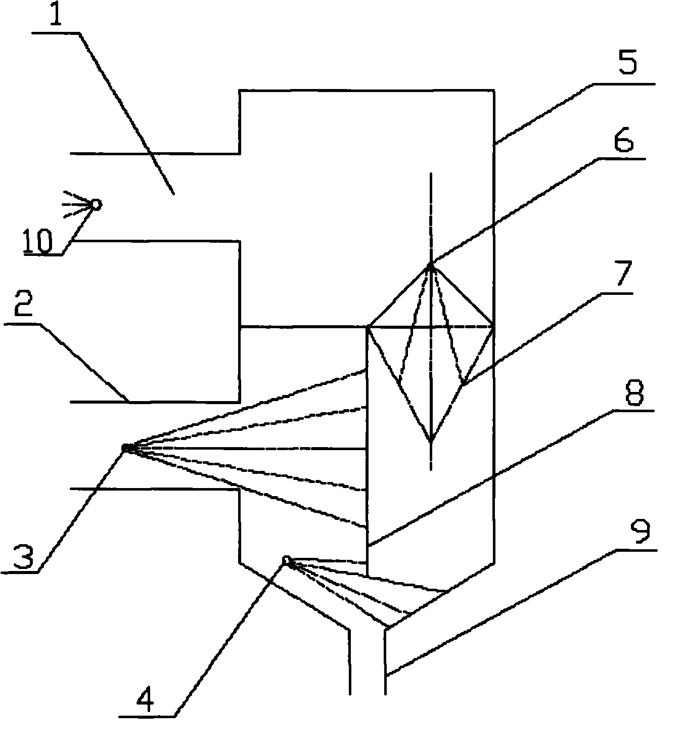
喷射碱液式消烟脱硫除尘器,它涉及一种锅炉排烟除尘器。它由出烟管(1)、进烟管(2)、第一喷嘴(3)、第二喷嘴(4)、壳体(5)、第三喷嘴(6)、滤网(7)、挡水板(8)、排污管(9)和引气嘴(10)组成,壳体(5)的左侧设置有出烟管(1)和进烟管(2),壳体(5)的底部设置有排污管(9),壳体(5)内设置有挡水板(8),挡水板(8)的右侧设置有滤网(7),进烟管(2)入口处、排污管(9)的上方左侧和滤网(7)上方分别设置有第一喷嘴(3)、第二喷嘴(4)和第三喷嘴(6),引气嘴(10)设置在出烟管(1)出口处。它构造简单,易于制造,能有效的除尘、脱硫,使烟气得以净化,减少对大气的污染。
This invention relates to a boiler flue gas dust collector using an alkaline spraying method. It comprises an outlet pipe (1), an inlet pipe (2), a first nozzle (3), a second nozzle (4), a housing (5), a third nozzle (6), a filter screen (7), a baffle plate (8), a drain pipe (9), and an air vent (10). The outlet pipe (1) and inlet pipe (2) are located on the left side of the housing (5), and the drain pipe (9) is located at the bottom of the housing (5). A baffle plate (8) is located inside the housing (5), and a filter screen (7) is located on the right side of the baffle plate (8). The first nozzle (3), second nozzle (4), and third nozzle (6) are located at the inlet of the inlet pipe (2), above the left side of the drain pipe (9), and above the filter screen (7), respectively. The air vent (10) is located at the outlet of the outlet pipe (1). It has a simple structure, is easy to manufacture, and can effectively remove dust and desulfurize, purifying the flue gas and reducing atmospheric pollution.
Description
Claims (2)
Priority Applications (1)
| Application Number | Priority Date | Filing Date | Title |
|---|---|---|---|
| CN2010206361918U CN201862358U (en) | 2010-11-29 | 2010-11-29 | Alkaline liquor jetting type smoke-eliminating and desulfurizing dust collector |
Applications Claiming Priority (1)
| Application Number | Priority Date | Filing Date | Title |
|---|---|---|---|
| CN2010206361918U CN201862358U (en) | 2010-11-29 | 2010-11-29 | Alkaline liquor jetting type smoke-eliminating and desulfurizing dust collector |
Publications (1)
| Publication Number | Publication Date |
|---|---|
| CN201862358U true CN201862358U (en) | 2011-06-15 |
Family
ID=44133526
Family Applications (1)
| Application Number | Title | Priority Date | Filing Date |
|---|---|---|---|
| CN2010206361918U Expired - Fee Related CN201862358U (en) | 2010-11-29 | 2010-11-29 | Alkaline liquor jetting type smoke-eliminating and desulfurizing dust collector |
Country Status (1)
| Country | Link |
|---|---|
| CN (1) | CN201862358U (en) |
Cited By (2)
| Publication number | Priority date | Publication date | Assignee | Title |
|---|---|---|---|---|
| CN103132267A (en) * | 2013-03-12 | 2013-06-05 | 江苏金辰针纺织有限公司 | Wastewater reuse system for printing workshop |
| CN112516773A (en) * | 2019-09-18 | 2021-03-19 | 北京绿岸壹号能源科技有限公司 | Spray purification device |
-
2010
- 2010-11-29 CN CN2010206361918U patent/CN201862358U/en not_active Expired - Fee Related
Cited By (3)
| Publication number | Priority date | Publication date | Assignee | Title |
|---|---|---|---|---|
| CN103132267A (en) * | 2013-03-12 | 2013-06-05 | 江苏金辰针纺织有限公司 | Wastewater reuse system for printing workshop |
| CN112516773A (en) * | 2019-09-18 | 2021-03-19 | 北京绿岸壹号能源科技有限公司 | Spray purification device |
| CN112516773B (en) * | 2019-09-18 | 2025-02-11 | 北京绿岸壹号能源科技有限公司 | A spray purification device |
Similar Documents
| Publication | Publication Date | Title |
|---|---|---|
| CN204710096U (en) | A kind of spray type desulfurization absorption tower | |
| CN104307345B (en) | A kind of coal smoke desulfurization and dust removal device | |
| CN204338000U (en) | A kind of coal smoke desulfurization and dust removal device | |
| CN201862358U (en) | Alkaline liquor jetting type smoke-eliminating and desulfurizing dust collector | |
| CN206064045U (en) | A kind of desulfurized dust collection column | |
| CN205796820U (en) | A kind of desulfurating dust-removing equipment | |
| CN204768032U (en) | Water film dust collector | |
| CN103816792A (en) | Corrugated packing type graded water film dust remover with smoke abatement and desulfurization functions | |
| CN205308070U (en) | Dust removal drainage device | |
| CN203777867U (en) | Waste gas purification device | |
| CN205517040U (en) | Boiler desulfurization dust collector | |
| CN211799979U (en) | A multi-stage lye spray tower | |
| CN204637796U (en) | A kind of eddy flow water film dedusting spray desulfurizing tower | |
| CN2455339Y (en) | Flow smoke-eliminating, desulphurizing dust collector | |
| CN209997445U (en) | flue gas desulfurization haze reduction tower | |
| CN203852970U (en) | Water film dust-collection device | |
| CN208340493U (en) | A kind of horizontal multi-stage desulfurizer | |
| CN203431899U (en) | Chimney dust collection device | |
| CN202516441U (en) | Novel environment-friendly boiler dust collector for removing dust | |
| CN203108413U (en) | Oxynitride absorption device | |
| CN202048803U (en) | Special dedusting device for fly-ash brick kiln | |
| CN201899975U (en) | SO2 recovery device matched with coal burning boiler for use | |
| CN200946812Y (en) | Multiple stage high concentration soot-purifying tower | |
| CN204275740U (en) | Combined desulfurizing dust remover | |
| CN204502773U (en) | Efficient flue dust desulfurizer |
Legal Events
| Date | Code | Title | Description |
|---|---|---|---|
| C14 | Grant of patent or utility model | ||
| GR01 | Patent grant | ||
| C56 | Change in the name or address of the patentee |
Owner name: JIANGSU ZIGUANG JIDIDA ENVIRONMENTAL TECHNOLOGY CO Free format text: FORMER NAME: JIANGSU UNISPLENDOUR JIDIDA ENVIRONMENTAL ENGINEERING SCIENCE + TECHNOLOGY CO., LTD. |
|
| CP01 | Change in the name or title of a patent holder |
Address after: 224053 environmental protection industrial park, Nanyang Economic Zone, Jiangsu, Yancheng City Province, No. five Patentee after: JIANGSU ZIGUANG JIDIDA ENVIRONMENTAL TECHNOLOGY CO.,LTD. Address before: 224053 environmental protection industrial park, Nanyang Economic Zone, Jiangsu, Yancheng City Province, No. five Patentee before: Spic Yuanda Environmental Protection Equipment Manufacturing Co.,Ltd. |
|
| CP01 | Change in the name or title of a patent holder |
Address after: 224053 environmental protection industrial park, Nanyang Economic Zone, Jiangsu, Yancheng City Province, No. five Patentee after: National electric investment group Yuanda environmental protection equipment manufacturing Co.,Ltd. Address before: 224053 environmental protection industrial park, Nanyang Economic Zone, Jiangsu, Yancheng City Province, No. five Patentee before: JIANGSU ZIGUANG JIDIDA ENVIRONMENTAL TECHNOLOGY CO.,LTD. |
|
| CP01 | Change in the name or title of a patent holder | ||
| CU03 | Publication of corrected utility model |
Correction item: Patentee|Address Correct: Jiangsu purple light Ji Dida environmental science and technology Co., Ltd|224053 environmental protection industrial park, Nanyang Economic Zone, Jiangsu, Yancheng City Province, No. five False: National electric investment group Yuanda environmental protection equipment manufacturing Co Ltd|224053 environmental protection industrial park, Nanyang Economic Zone, Jiangsu, Yancheng City Province, No. five Number: 22 Volume: 33 |
|
| CU03 | Publication of corrected utility model | ||
| CF01 | Termination of patent right due to non-payment of annual fee |
Granted publication date: 20110615 Termination date: 20171129 |
|
| CF01 | Termination of patent right due to non-payment of annual fee |
