CN201848861U - 加厚削笔刀 - Google Patents

加厚削笔刀 Download PDF

Info

Publication number
CN201848861U
CN201848861U CN2010205792733U CN201020579273U CN201848861U CN 201848861 U CN201848861 U CN 201848861U CN 2010205792733 U CN2010205792733 U CN 2010205792733U CN 201020579273 U CN201020579273 U CN 201020579273U CN 201848861 U CN201848861 U CN 201848861U
Authority
CN
China
Prior art keywords
knife
pencil sharpener
thickened
groove
penknife
Prior art date
Legal status (The legal status is an assumption and is not a legal conclusion. Google has not performed a legal analysis and makes no representation as to the accuracy of the status listed.)
Expired - Fee Related
Application number
CN2010205792733U
Other languages
English (en)
Inventor
徐嘉泽
Current Assignee (The listed assignees may be inaccurate. Google has not performed a legal analysis and makes no representation or warranty as to the accuracy of the list.)
Individual
Original Assignee
Individual
Priority date (The priority date is an assumption and is not a legal conclusion. Google has not performed a legal analysis and makes no representation as to the accuracy of the date listed.)
Filing date
Publication date
Application filed by Individual filed Critical Individual
Priority to CN2010205792733U priority Critical patent/CN201848861U/zh
Application granted granted Critical
Publication of CN201848861U publication Critical patent/CN201848861U/zh
Anticipated expiration legal-status Critical
Expired - Fee Related legal-status Critical Current

Links

Images

Landscapes

  • Knives (AREA)

Abstract

本实用新型涉及一种文化用品,特别是涉及一种削笔刀。针对目前削笔刀使用中不好使力、容易损伤手部等问题,提供了一种加厚削笔刀,包括刀柄、刀面,所述的刀面分为刀刃和刀背部分,还包括有一个加厚片,所述的加厚片设置在刀背处,与刀背结合为统一的整体。不仅有效解决了削笔刀使用中容易损伤手部的问题,而且不会影响削笔刀的正常闭合携带。

Description

加厚削笔刀
技术领域
本实用新型涉及一种文化用品,特别是涉及一种削笔刀。
背景技术
我们日常用于削笔的小刀包括刀面和手柄部分,当手持手柄部分削笔时,由于无法很好的用力,通常会用手抵住刀背增加力量,此时,由于刀面的刀背部分很薄,所以在施力削笔时,会对手部造成损伤。同时,由于刀柄处没有一个合适的卡槽,所以手部在削笔时,会滑向前端,接触到刀片下端,造成手部损伤。
实用新型内容
本实用新型针对目前削笔刀使用中不好使力、容易损伤手部等问题,提供了一种加厚削笔刀,包括刀柄、刀面,所述的刀面分为刀刃和刀背部分,还包括有一个加厚片,所述的加厚片设置在刀背处,与刀背结合为统一的整体。由于在刀背这一加力部位做了增厚处理,所以当手部抵住刀背时,增加了受力面积,在同等情况下,减小因此对手部造成的损伤。
作为本实用新型的一种改进,所述的刀柄上还设置有持刀卡槽,所述的持刀卡槽为位于刀柄前端的卡槽。在削笔刀的使用中还存在一个手部施力时容易向前滑的问题,由此造成手部与刀面的下端接触,造成手部损伤,当采用本实用新型的改进方案设置卡槽后,防止手部向前滑动,从而保证手部不会滑到刀口。
作为本实用新型的进一步的改进,所述的持刀卡槽为弧形卡槽。将卡槽设置为弧形卡槽,与人体的手部弧线更加吻合,使用时更加舒适。
作为本实用新型的更进一步的改进,所述的加厚片为与刀面结合为一体结构的铝片。如果加厚片过厚或过长,会影响削笔刀使用后的闭合。采用铝片作为加厚片可以保证其增加的厚度适中,不影响削笔刀使用后的闭合。
综上所述,本实用新型的有益效果是显而易见的。不仅有效解决了削笔刀使用中容易损伤手部的问题,而且不会影响削笔刀的正常闭合携带。
附图说明
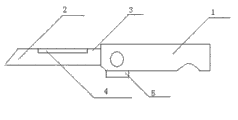
图1为本实用新型的示意图。
其中1-刀柄、2-刀面、3-刀背、4-加厚片、5-持刀卡槽。
具体实施方式
实施例1
在刀面2的刀背3上增设一个加厚片4,并且在刀柄1的前端设置一个持刀卡槽5,如图1所示,当需要削笔时,手持刀柄1,用手指抵住带有加厚片4的刀背2,此时,由于受力面积较大,所以手的痛感减小。当用力时,手受到持刀卡槽5的限制,不会由于滑到刀口部分,保证不会划伤手。
须说明的是,上述实施举例的说明并非限制本创作之应用,仅例示性说明本实用新型的原理及功效,而非用于限制本实用新型的保护范围。本实用新型的权利保护范围,应如权利要求书中所述。

Claims (4)

1.加厚削笔刀,包括刀柄、刀面,所述的刀面分为刀刃和刀背部分,其特征在于:还包括有一个加厚片,所述的加厚片设置在刀背处,与刀背结合为统一的整体。
2.如权利要求1所述的加厚削笔刀,其特征在于:所述的刀柄上还设置有持刀卡槽,所述的持刀卡槽为位于刀柄前端的卡槽。
3.如权利要求2所述的加厚削笔刀,其特征在于:所述的持刀卡槽为弧形卡槽。
4.如权利要求1至3中任意一项所述的加厚削笔刀,其特征在于:所述的加厚片为与刀面结合为一体结构的铝片。
CN2010205792733U 2010-10-27 2010-10-27 加厚削笔刀 Expired - Fee Related CN201848861U (zh)

Priority Applications (1)

Application Number Priority Date Filing Date Title
CN2010205792733U CN201848861U (zh) 2010-10-27 2010-10-27 加厚削笔刀

Applications Claiming Priority (1)

Application Number Priority Date Filing Date Title
CN2010205792733U CN201848861U (zh) 2010-10-27 2010-10-27 加厚削笔刀

Publications (1)

Publication Number Publication Date
CN201848861U true CN201848861U (zh) 2011-06-01

Family

ID=44091272

Family Applications (1)

Application Number Title Priority Date Filing Date
CN2010205792733U Expired - Fee Related CN201848861U (zh) 2010-10-27 2010-10-27 加厚削笔刀

Country Status (1)

Country Link
CN (1) CN201848861U (zh)

Similar Documents

Publication Publication Date Title
CN201848861U (zh) 加厚削笔刀
CN202919205U (zh) 防夹伤拉链头
CN202426145U (zh) 一种多功能勺子
CN202021985U (zh) 一种多功能笔
CN202399736U (zh) 一种多功能笔
CN201168974Y (zh) 带手指保护件的刀具
CN202656207U (zh) 一种刀尖带护套的铅笔刀
CN203266576U (zh) 多功能订书机
CN202098157U (zh) 一种吸汗防滑护手的笔套
CN203041072U (zh) 一种多功能梳子
CN202592396U (zh) 美工刀
CN202396750U (zh) 单手用指甲钳
CN203485217U (zh) 一种刀具
CN203152581U (zh) 防切手手套
CN201854525U (zh) 旋转盖u盘
CN202318385U (zh) 刀背按压套
CN201559202U (zh) 便于管理的安全剪刀
CN201718531U (zh) 一种手套
CN202566958U (zh) 一种带台灯的电脑桌
CN210553802U (zh) 一种圆珠笔刀
CN201604162U (zh) 美工刀
CN202242506U (zh) 新型铅笔
CN203077951U (zh) 吸汗钢笔
CN210025370U (zh) 一种带有防护套的美工刀
CN201951044U (zh) 便于削磨的方便铅笔

Legal Events

Date Code Title Description
C14 Grant of patent or utility model
GR01 Patent grant
C17 Cessation of patent right
CF01 Termination of patent right due to non-payment of annual fee

Granted publication date: 20110601

Termination date: 20111027