CN201848113U - 一种新型碳酸二甲酯反应精馏塔 - Google Patents
一种新型碳酸二甲酯反应精馏塔 Download PDFInfo
- Publication number
- CN201848113U CN201848113U CN2010205813867U CN201020581386U CN201848113U CN 201848113 U CN201848113 U CN 201848113U CN 2010205813867 U CN2010205813867 U CN 2010205813867U CN 201020581386 U CN201020581386 U CN 201020581386U CN 201848113 U CN201848113 U CN 201848113U
- Authority
- CN
- China
- Prior art keywords
- water
- dimethyl carbonate
- utility
- model
- cooling
- Prior art date
- Legal status (The legal status is an assumption and is not a legal conclusion. Google has not performed a legal analysis and makes no representation as to the accuracy of the status listed.)
- Expired - Lifetime
Links
- 238000006243 chemical reaction Methods 0.000 title abstract description 3
- CXHHBNMLPJOKQD-UHFFFAOYSA-M methyl carbonate Chemical compound COC([O-])=O CXHHBNMLPJOKQD-UHFFFAOYSA-M 0.000 title 1
- XLYOFNOQVPJJNP-UHFFFAOYSA-N water Substances O XLYOFNOQVPJJNP-UHFFFAOYSA-N 0.000 claims abstract description 18
- IEJIGPNLZYLLBP-UHFFFAOYSA-N dimethyl carbonate Chemical compound COC(=O)OC IEJIGPNLZYLLBP-UHFFFAOYSA-N 0.000 claims abstract description 12
- 238000012856 packing Methods 0.000 claims abstract description 8
- 238000010992 reflux Methods 0.000 claims abstract description 5
- 238000001816 cooling Methods 0.000 abstract description 13
- 238000009833 condensation Methods 0.000 abstract description 3
- 230000005494 condensation Effects 0.000 abstract description 3
- 230000009286 beneficial effect Effects 0.000 abstract description 2
- 238000006555 catalytic reaction Methods 0.000 abstract description 2
- 238000000034 method Methods 0.000 abstract description 2
- 238000005260 corrosion Methods 0.000 abstract 1
- 230000007797 corrosion Effects 0.000 abstract 1
- 238000000066 reactive distillation Methods 0.000 abstract 1
- 239000012530 fluid Substances 0.000 description 5
- 238000004519 manufacturing process Methods 0.000 description 2
- 238000002156 mixing Methods 0.000 description 2
- 238000012545 processing Methods 0.000 description 2
- 238000012546 transfer Methods 0.000 description 2
- 241000157049 Microtus richardsoni Species 0.000 description 1
- 229910000831 Steel Inorganic materials 0.000 description 1
- 238000010276 construction Methods 0.000 description 1
- 230000002950 deficient Effects 0.000 description 1
- 238000013461 design Methods 0.000 description 1
- 230000000694 effects Effects 0.000 description 1
- 238000004134 energy conservation Methods 0.000 description 1
- 238000005516 engineering process Methods 0.000 description 1
- 238000003825 pressing Methods 0.000 description 1
- 238000007634 remodeling Methods 0.000 description 1
- 230000000452 restraining effect Effects 0.000 description 1
- 239000010865 sewage Substances 0.000 description 1
- 239000010959 steel Substances 0.000 description 1
- 230000009466 transformation Effects 0.000 description 1
Images
Classifications
-
- Y—GENERAL TAGGING OF NEW TECHNOLOGICAL DEVELOPMENTS; GENERAL TAGGING OF CROSS-SECTIONAL TECHNOLOGIES SPANNING OVER SEVERAL SECTIONS OF THE IPC; TECHNICAL SUBJECTS COVERED BY FORMER USPC CROSS-REFERENCE ART COLLECTIONS [XRACs] AND DIGESTS
- Y02—TECHNOLOGIES OR APPLICATIONS FOR MITIGATION OR ADAPTATION AGAINST CLIMATE CHANGE
- Y02P—CLIMATE CHANGE MITIGATION TECHNOLOGIES IN THE PRODUCTION OR PROCESSING OF GOODS
- Y02P20/00—Technologies relating to chemical industry
- Y02P20/10—Process efficiency
Landscapes
- Heat-Exchange Devices With Radiators And Conduit Assemblies (AREA)
Abstract
本实用新型涉及一种催化反应精馏设备,尤其是涉及一种新型碳酸二甲酯反应精馏塔。采用的技术方案是:一种新型碳酸二甲酯反应精馏塔,包括依次相连的进料口,再沸器,填料层,水冷器,塔顶回流罐和出料端,其特征在于:所述精馏塔还包括空冷器,所述空冷器连接在所述填料层与所述水冷器之间。本实用新型的有益效果是:本实用新型结构简单、使用方便,用空冷加水冷的方式代替了原来单纯水冷的冷却方式,具有用水量少、使用寿命长、运转费用低等优点,尤其适合缺水地区或是水垢凝结严重、腐蚀严重的地区使用。
Description
技术领域
本实用新型涉及一种催化反应精馏设备,尤其是涉及一种新型碳酸二甲酯反应精馏塔。
背景技术
碳酸二甲酯反应精馏塔一般采用水冷的方式进行冷却,但是传统的水冷系统用水量极大,冷却效率低,装置波动较大,不利于平稳生产,尤其是在水资源匮乏的地区,由于其高昂的水价,使加工成本增加。
发明内容
本实用新型的目的就是提供一种采用空冷加水冷混合的方式进行冷却的碳酸二甲酯反应精馏塔,它节水、节能、无污染,传热面积大,传热效率高,采用的技术方案是:一种新型碳酸二甲酯反应精馏塔,包括进料口,再沸器,填料层,水冷器,塔顶回流罐和出料端,其特征在于:所述精馏塔还包括空冷器,所述空冷器连接在所述填料层与所述水冷器之间。
本实用新型的技术方案还有:所述空冷器包括管束,所述管束由翅片管组成。
本实用新型的技术方案还有:所述空冷器包括管束,所述管束由光管组成。
本实用新型的技术方案还有:所述空冷器包括风机。
本实用新型的技术方案还有:所述塔顶回流罐上还连接有塔顶回流泵。
本实用新型的有益效果是:本实用新型结构简单、使用方便,用空冷加水冷的方式代替了原来单纯水冷的冷却方式,具有用水量少、使用寿命长、运转费用低等优点,尤其适合缺水地区或是水垢凝结严重、腐蚀严重的地区使用。
附图说明
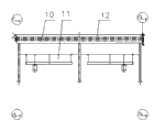
附图1是本实用新型的结构示意图,附图2是空冷器的主视图,附图3是空冷器的俯视图,附图4是空冷器的左视图,其中,1是空冷器,2是水冷器,3是填料层,4是进料口,5是再沸器,6是塔顶回流罐,7是塔顶回流泵,8是出料端,9是构架,10是管束,11是风机,12是百叶窗,a1-8 是热流体入口,b1-8 是热流体出口,c1-4是排气口,d1-4是排污口。
具体实施方式
结合附图1,本实用新型包括依次相连接的进料口4,再沸器5,填料层3,空冷器1,水冷器2,塔顶回流罐6和出料端8,在塔顶回流罐6上还连接有塔顶回流泵7,本实施例中对经再沸器5后产生的热流体采用了一级空冷加二级水冷的方式完成了对热流体的冷却过程,冷凝效果良好。
结合附图2、3和4,空冷器1包括了构架9、管束10、风机11、百叶窗12和风箱(图中未示出),空冷器1的主体部分由矩形的管束10组成,每个管束10有若干排三角形排列的管子,该管子一般是翅片管,也可以是光管。热流体从管束10顶端流入,底部流出,空气由下向上流动,冷却热的工艺介质。风机11驱动空气流过管束10,百叶窗12通过调节进入空冷器1的空气量来改善空冷器1的调节和适应性能,构架9是支撑管束10、风机11、百叶窗12以及其它附属件的钢结构,风箱用于导流空气。管排数对空冷器1的经济性影响较大,一般希望空气温升大于15~20℃ ,增加管排数,空气温升增加,但压降也增加。在实际设计中,管排数应灵活掌握,例如,当换热面积很小时,可使用较少的管排数;而为了降低制造费用和占地面积,则可使用较多的管排数。
采用该种结构的精馏塔,由于采用了空冷加水冷的混合冷凝方式,大大减少了用水量,按减少流量260m3/h计算,水的费用折算为0.7元/ m3,每年按设备运行8000小时计算,则费用为260×0.5×8000=104万元/年,即本项改造投用后可节约水费104万元/年。
当然,上述说明并非对本实用新型的限制,本实用新型也不仅限于上述举例,本技术领域的普通技术人员在本实用新型的实质范围内所做出的变化、改型、添加或替换,也属于本实用新型的保护范围。
Claims (5)
1.一种新型碳酸二甲酯反应精馏塔,包括进料口,再沸器,填料层,水冷器,塔顶回流罐和出料端,其特征在于:所述精馏塔还包括空冷器,所述空冷器连接在所述填料层与所述水冷器之间。
2.按照权利要求1所述的碳酸二甲酯反应精馏塔,其特征在于:所述空冷器包括管束,所述管束由翅片管组成。
3.按照权利要求1所述的碳酸二甲酯反应精馏塔,其特征在于:所述空冷器包括管束,所述管束由光管组成。
4.按照权利要求1所述的碳酸二甲酯反应精馏塔,其特征在于:所述空冷器包括风机。
5.按照权利要求1所述的碳酸二甲酯反应精馏塔,其特征在于:所述塔顶回流罐上还连接有塔顶回流泵。
Priority Applications (1)
| Application Number | Priority Date | Filing Date | Title |
|---|---|---|---|
| CN2010205813867U CN201848113U (zh) | 2011-02-18 | 2011-02-18 | 一种新型碳酸二甲酯反应精馏塔 |
Applications Claiming Priority (1)
| Application Number | Priority Date | Filing Date | Title |
|---|---|---|---|
| CN2010205813867U CN201848113U (zh) | 2011-02-18 | 2011-02-18 | 一种新型碳酸二甲酯反应精馏塔 |
Publications (1)
| Publication Number | Publication Date |
|---|---|
| CN201848113U true CN201848113U (zh) | 2011-06-01 |
Family
ID=44090528
Family Applications (1)
| Application Number | Title | Priority Date | Filing Date |
|---|---|---|---|
| CN2010205813867U Expired - Lifetime CN201848113U (zh) | 2011-02-18 | 2011-02-18 | 一种新型碳酸二甲酯反应精馏塔 |
Country Status (1)
| Country | Link |
|---|---|
| CN (1) | CN201848113U (zh) |
-
2011
- 2011-02-18 CN CN2010205813867U patent/CN201848113U/zh not_active Expired - Lifetime
Similar Documents
| Publication | Publication Date | Title |
|---|---|---|
| CN201181170Y (zh) | 蒸发式空冷器 | |
| CN201096463Y (zh) | 污水及地表水冷热源单流道壳板式换热装置 | |
| CN201983650U (zh) | 分体换热喷淋闭式冷却塔 | |
| CN106591887B (zh) | 一种基于有机闪蒸循环的铝电解槽侧壁余热发电装置 | |
| CN102192660A (zh) | 一种汽轮机排汽用的蒸发式冷凝器散热模件 | |
| CN202281526U (zh) | 一种冷却塔盘管式散热器 | |
| CN201746534U (zh) | 一种白酒蒸馏风冷器 | |
| CN214571817U (zh) | 一种干式热回收酒冷系统 | |
| CN202582237U (zh) | 一种板壳式冷凝器 | |
| CN102249273B (zh) | 氧化铝分解槽降温热管换热器 | |
| CN201848113U (zh) | 一种新型碳酸二甲酯反应精馏塔 | |
| CN201983647U (zh) | 空冷机组冷凝设备热能利用装置 | |
| CN219797992U (zh) | 一种改进的高效换热管冷凝器 | |
| CN110260694A (zh) | 板程分流式板式换热器 | |
| CN205279819U (zh) | 一种新型螺旋板式换热器 | |
| CN201751388U (zh) | 氧化铝分解槽降温热管换热器 | |
| CN105241282A (zh) | 一种复合石墨换热器 | |
| CN205174936U (zh) | 一种立式蒸发冷凝器 | |
| CN205049032U (zh) | 一种甘油三酯工艺用高效冷凝装置 | |
| CN210268320U (zh) | 板程分流式板式换热器 | |
| CN204421432U (zh) | 异型管式蒸发式冷凝器 | |
| CN202304486U (zh) | 一种耐腐蚀的冷却塔盘管式散热器 | |
| CN202229627U (zh) | 钢制高频焊螺旋翅片管散热器 | |
| CN205014698U (zh) | 一种盘管式蒸发冷凝器 | |
| CN218458675U (zh) | 一种内置式塔顶冷凝装置 |
Legal Events
| Date | Code | Title | Description |
|---|---|---|---|
| C14 | Grant of patent or utility model | ||
| GR01 | Patent grant | ||
| CX01 | Expiry of patent term | ||
| CX01 | Expiry of patent term |
Granted publication date: 20110601 |