CN201830733U - 一种养殖场雾化喷水降温装置 - Google Patents
一种养殖场雾化喷水降温装置 Download PDFInfo
- Publication number
- CN201830733U CN201830733U CN2010205546404U CN201020554640U CN201830733U CN 201830733 U CN201830733 U CN 201830733U CN 2010205546404 U CN2010205546404 U CN 2010205546404U CN 201020554640 U CN201020554640 U CN 201020554640U CN 201830733 U CN201830733 U CN 201830733U
- Authority
- CN
- China
- Prior art keywords
- atomizing
- reduction device
- temperature reduction
- water
- breed
- Prior art date
- Legal status (The legal status is an assumption and is not a legal conclusion. Google has not performed a legal analysis and makes no representation as to the accuracy of the status listed.)
- Expired - Fee Related
Links
- 238000005507 spraying Methods 0.000 title abstract 3
- 239000007921 spray Substances 0.000 claims abstract description 13
- XLYOFNOQVPJJNP-UHFFFAOYSA-N water Substances O XLYOFNOQVPJJNP-UHFFFAOYSA-N 0.000 claims description 8
- 238000012258 culturing Methods 0.000 claims description 5
- 230000003020 moisturizing effect Effects 0.000 claims description 2
- 238000009423 ventilation Methods 0.000 abstract 1
- 238000009395 breeding Methods 0.000 description 4
- 230000001488 breeding effect Effects 0.000 description 4
- 238000009360 aquaculture Methods 0.000 description 3
- 244000144974 aquaculture Species 0.000 description 3
- 235000013305 food Nutrition 0.000 description 2
- 244000144972 livestock Species 0.000 description 2
- 244000144977 poultry Species 0.000 description 2
- 238000012271 agricultural production Methods 0.000 description 1
- 238000003975 animal breeding Methods 0.000 description 1
- 238000001816 cooling Methods 0.000 description 1
- 201000010099 disease Diseases 0.000 description 1
- 208000037265 diseases, disorders, signs and symptoms Diseases 0.000 description 1
- 230000007613 environmental effect Effects 0.000 description 1
- 235000013372 meat Nutrition 0.000 description 1
- 238000000034 method Methods 0.000 description 1
- 239000000203 mixture Substances 0.000 description 1
- 239000002994 raw material Substances 0.000 description 1
- 239000008400 supply water Substances 0.000 description 1
Images
Landscapes
- Housing For Livestock And Birds (AREA)
Abstract
本实用新型涉及一种养殖场雾化喷水降温装置,包括屋顶设置有隔热保温层的养殖舍,其特征在于:所述养殖舍室内上部布设有喷雾嘴,所述养殖舍一旁侧壁上设有通风口,另一旁侧壁的对应设置有通口及安装在通口上的风机,该装置不仅有利于快速减低养殖舍室内温度,而且构造简单,使用方便。
Description
技术领域
本实用新型涉及一种养殖场雾化喷水降温装置,适用于对动物养殖的养殖舍中。
背景技术
养殖业是农业的重要组成的一部分,与种植业并列为农业生产的两大支柱;养殖业不仅能给养殖户带来经济收入,为社会提高肉类等食品,也为食品的再次加工提供原料,然而,良好的养殖环境是提高养殖业的前提;盛夏由于环境温度高,养殖舍内温度高,不适宜猪的生长,造成养殖过程中各种病害严重,造成畜禽不愿进食或很少进食,也严重影响了畜禽的生长,因此,盛夏降温成为了改善养殖环境的重中之重。
发明内容
本实用新型的目的在于提供一种养殖场雾化喷水降温装置,该装置不仅有利于快速减低养殖舍室内温度,而且构造简单,使用方便。
本实用新型的特征在于:一种养殖场雾化喷水降温装置,包括屋顶设置有隔热保温层的养殖舍,其特征在于:所述养殖舍室内上部布设有喷雾嘴,所述养殖舍一旁侧壁上设有通风口, 另一旁侧壁的对应设置有通口及安装在通口上的风机。
本实用新型的优点:结构简单易懂,使用方便简捷,能有效的降低养殖舍内的温度与改善养殖舍内的空气流通,使养殖舍内达到一个很好的养殖环境。
附图说明
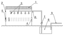
图1为本实用新型实施例的构造示意图。
具体实施方式
下面结合附图对本实用新型作进一步的说明。
参考图1,一种养殖场雾化喷水降温装置,包括屋顶设置有隔热保温层1的养殖舍2,其特征在于:所述养殖舍2室内上部布设有喷雾嘴3,所述养殖舍2一旁侧壁上设有通风口4, 另一旁侧壁的对应设置有通口及安装在通口上的风机5。
为了方便往养殖舍内供水, 所述喷雾嘴3连接在伸入养殖舍的供水管6上,所述供水管6输入端经水泵7伸入到地下水中转池8,所述地下水中转池8有伸入地下水中转池8一管道9补水。
以上所述仅为本实用新型的较佳实施例,凡依本实用新型申请专利范围所做的均等变化与修饰,皆应属本实用新型的涵盖范围。
Claims (2)
1.一种养殖场雾化喷水降温装置,包括屋顶设置有隔热保温层的养殖舍,其特征在于:所述养殖舍室内上部布设有喷雾嘴,所述养殖舍一旁侧壁上设有通风口, 另一旁侧壁的对应设置有通口及安装在通口上的风机。
2.根据权利要求1所述的一种养殖场雾化喷水降温装置,其特征在于:所述喷雾嘴连接在伸入养殖舍的供水管上,所述供水管输入端经水泵伸入到地下水中转池,所述地下水中转池有伸入地下水中转池一管道补水。
Priority Applications (1)
| Application Number | Priority Date | Filing Date | Title |
|---|---|---|---|
| CN2010205546404U CN201830733U (zh) | 2010-10-11 | 2010-10-11 | 一种养殖场雾化喷水降温装置 |
Applications Claiming Priority (1)
| Application Number | Priority Date | Filing Date | Title |
|---|---|---|---|
| CN2010205546404U CN201830733U (zh) | 2010-10-11 | 2010-10-11 | 一种养殖场雾化喷水降温装置 |
Publications (1)
| Publication Number | Publication Date |
|---|---|
| CN201830733U true CN201830733U (zh) | 2011-05-18 |
Family
ID=44000828
Family Applications (1)
| Application Number | Title | Priority Date | Filing Date |
|---|---|---|---|
| CN2010205546404U Expired - Fee Related CN201830733U (zh) | 2010-10-11 | 2010-10-11 | 一种养殖场雾化喷水降温装置 |
Country Status (1)
| Country | Link |
|---|---|
| CN (1) | CN201830733U (zh) |
Cited By (7)
| Publication number | Priority date | Publication date | Assignee | Title |
|---|---|---|---|---|
| CN102511401A (zh) * | 2012-01-05 | 2012-06-27 | 怀远县北淝河养殖有限公司 | 一种猪圈消暑装置 |
| CN102972303A (zh) * | 2012-10-30 | 2013-03-20 | 镇江市天成畜禽有限公司 | 猪舍降温系统 |
| CN103518564A (zh) * | 2013-10-09 | 2014-01-22 | 临安市农业技术推广中心 | 温室大棚降温除湿控制装置 |
| CN104556358A (zh) * | 2015-02-02 | 2015-04-29 | 绍兴文理学院 | 一种用于好氧生化池的地源降温系统 |
| CN105123534A (zh) * | 2015-08-19 | 2015-12-09 | 吉安乐乐生物科技有限公司 | 一种湿式有益菌恒温恒湿的养殖舍结构 |
| CN105265322A (zh) * | 2014-05-29 | 2016-01-27 | 茅虞 | 一种用于畜类养殖的温湿度调节系统 |
| CN107771678A (zh) * | 2017-10-10 | 2018-03-09 | 珠海市领创智能物联网研究院有限公司 | 一种物联网智能宠物养殖屋 |
-
2010
- 2010-10-11 CN CN2010205546404U patent/CN201830733U/zh not_active Expired - Fee Related
Cited By (7)
| Publication number | Priority date | Publication date | Assignee | Title |
|---|---|---|---|---|
| CN102511401A (zh) * | 2012-01-05 | 2012-06-27 | 怀远县北淝河养殖有限公司 | 一种猪圈消暑装置 |
| CN102972303A (zh) * | 2012-10-30 | 2013-03-20 | 镇江市天成畜禽有限公司 | 猪舍降温系统 |
| CN103518564A (zh) * | 2013-10-09 | 2014-01-22 | 临安市农业技术推广中心 | 温室大棚降温除湿控制装置 |
| CN105265322A (zh) * | 2014-05-29 | 2016-01-27 | 茅虞 | 一种用于畜类养殖的温湿度调节系统 |
| CN104556358A (zh) * | 2015-02-02 | 2015-04-29 | 绍兴文理学院 | 一种用于好氧生化池的地源降温系统 |
| CN105123534A (zh) * | 2015-08-19 | 2015-12-09 | 吉安乐乐生物科技有限公司 | 一种湿式有益菌恒温恒湿的养殖舍结构 |
| CN107771678A (zh) * | 2017-10-10 | 2018-03-09 | 珠海市领创智能物联网研究院有限公司 | 一种物联网智能宠物养殖屋 |
Similar Documents
| Publication | Publication Date | Title |
|---|---|---|
| CN201830733U (zh) | 一种养殖场雾化喷水降温装置 | |
| CN103704145B (zh) | 动物圈舍用通风控温系统 | |
| CN203590796U (zh) | 动物圈舍用通风控温系统 | |
| CN204616555U (zh) | 一种循环农业生产系统 | |
| CN205511543U (zh) | 一种方便防暑降温的肉鸡舍 | |
| CN206354152U (zh) | 一种新型猪仔养殖发酵床 | |
| CN203643877U (zh) | 一种养殖环境恒温恒湿控制系统 | |
| CN202444932U (zh) | 一种批量养殖獭兔的兔舍结构 | |
| CN203072600U (zh) | 一种零排放猪舍 | |
| CN102577986A (zh) | 一种批量养殖獭兔的兔舍结构 | |
| CN205717716U (zh) | 一种养猪厂房通风降温装置 | |
| CN201830734U (zh) | 水帘负压降温养殖舍 | |
| CN203985452U (zh) | 立体生态养猪圈 | |
| CN203251759U (zh) | 一种带有发酵床的养殖设施 | |
| CN203968903U (zh) | 一种降温保暖羊舍 | |
| CN104642155A (zh) | 猪舍排粪系统 | |
| CN202799845U (zh) | 一种猪舍 | |
| CN204540278U (zh) | 一种新型全自控公猪舍 | |
| CN202489065U (zh) | 无公害千克特养鸡舍 | |
| CN202168379U (zh) | 一种温室用水帘风机降温系统 | |
| CN106489522A (zh) | 一种草菇房及其应用方法 | |
| CN201029361Y (zh) | 简易鸡舍自动降温装置 | |
| CN205865495U (zh) | 一种生态循环型猪舍 | |
| CN205196596U (zh) | 畜禽养殖与种植蔬菜的循环生产系统 | |
| CN203136728U (zh) | 猪舍降温系统 |
Legal Events
| Date | Code | Title | Description |
|---|---|---|---|
| C14 | Grant of patent or utility model | ||
| GR01 | Patent grant | ||
| CF01 | Termination of patent right due to non-payment of annual fee |
Granted publication date: 20110518 Termination date: 20151011 |
|
| EXPY | Termination of patent right or utility model |