CN201793968U - 拉伸支撑式晾衣架 - Google Patents
拉伸支撑式晾衣架 Download PDFInfo
- Publication number
- CN201793968U CN201793968U CN2010201761191U CN201020176119U CN201793968U CN 201793968 U CN201793968 U CN 201793968U CN 2010201761191 U CN2010201761191 U CN 2010201761191U CN 201020176119 U CN201020176119 U CN 201020176119U CN 201793968 U CN201793968 U CN 201793968U
- Authority
- CN
- China
- Prior art keywords
- cross bar
- group
- clothes
- drying rack
- extension rods
- Prior art date
- Legal status (The legal status is an assumption and is not a legal conclusion. Google has not performed a legal analysis and makes no representation as to the accuracy of the status listed.)
- Expired - Fee Related
Links
- 238000001035 drying Methods 0.000 title abstract 5
- NJPPVKZQTLUDBO-UHFFFAOYSA-N novaluron Chemical compound C1=C(Cl)C(OC(F)(F)C(OC(F)(F)F)F)=CC=C1NC(=O)NC(=O)C1=C(F)C=CC=C1F NJPPVKZQTLUDBO-UHFFFAOYSA-N 0.000 claims description 15
- 230000002349 favourable effect Effects 0.000 abstract 1
- 230000009286 beneficial effect Effects 0.000 description 1
- 230000002950 deficient Effects 0.000 description 1
- 238000010586 diagram Methods 0.000 description 1
- 230000001105 regulatory effect Effects 0.000 description 1
- 102220040325 rs147972150 Human genes 0.000 description 1
- 239000000725 suspension Substances 0.000 description 1
Images
Landscapes
- Holders For Apparel And Elements Relating To Apparel (AREA)
Abstract
本实用新型涉及一种拉伸支撑式晾衣架,由基座和伸缩杆组成,伸缩杆为相互连接成栅形的一组伸缩杆。基座下部有连接槽与伸缩杆的下端连接,基座上部有连接孔、与伸缩杆的上端连接。伸缩杆上端装有横杆支撑环,横杆支撑环中可以安装横杆。本实用新型占据的空间小,使用时拉开,不用时可以收缩,更能节约和有效利用空间。体积小,结构紧凑,使用灵活,给千家万户带来方便,特别利于行动有限的老人和小孩使用。它可用在洗手间晾挂毛巾,在更衣室挂放衣物和在阳台晾晒衣物;亦可用于商场、服装店悬挂展示物品,可用于多层窗帘的悬挂,照相背景的支撑等。本实用新型广泛适用于住宅、别墅、宾馆、公寓、商场等场所。
Description
技术领域
本实用新型涉及衣架,具体涉及一种拉伸支撑式的晾衣架,属于国际专利分类A47G技术领域。
背景技术
现有技术中的衣架,大多为长度固定的晾衣架,而晾晒的各种衣物、毛巾等大小不同,固定尺寸的衣架很难适应和调整。况且,在需要使用到晾晒和挂放的其他场合,比如商店里展示物品,盥洗室挂放浴巾等方面,传统衣架由于不能改变大小而不便使用。
发明内容
本实用新型的目的,在于克服现有技术中的上述缺陷,提供一种可自如调节的拉伸支撑式晾衣架。
本实用新型的目的是通过以下技术方案实现的。
一种拉伸支撑式晾衣架,包括可以固定在建筑物上的基座和伸缩杆等部件组成,伸缩杆为相互连接成栅形的一组伸缩杆,伸缩杆的个数可根据使用需要进行调节。基座下部设有连接槽与伸缩杆的下端连接,伸缩杆的下端可以在基座下部的连接槽中滑动;基座上部有连接孔、与伸缩杆的上端连接,用以固定伸缩杆。伸缩杆的上端装有横杆支撑环,横杆支撑环中穿接有横杆。
横杆支撑环的下部有插片,横杆支撑环通过其下部的插片连接到伸缩杆的上端;横杆支撑环上端有螺钉,用于紧固横杆。
本实用新型的拉伸支撑式晾衣架,占据空间小,使用时可以拉开,不用时可以收缩,更能节约和有效利用空间,体积小,结构紧凑,使用灵活。能给千家万户带来方便,特别利于行动有限的老人和小孩使用。可用在洗手间晾挂毛巾,可在盥洗室挂放浴巾,在更衣室挂放衣物和在阳台晾晒衣物;亦可用于商场、服装店悬挂展示物品,以及多层窗帘,照相背景的支撑。本实用新型可广泛适用于住宅、别墅、宾馆、公寓、商场等场所。
附图说明
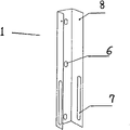
图1为本实用新型拉伸支撑式晾衣架的整体结构示意图;
图2为基座的结构示意图;
图3为横杆支撑环的结构示意图。
图中:1、基座,2、伸缩杆,3、横杆支撑环,4、横杆,5、螺钉,6、固定孔,7、连接槽,8、连接孔,9、插片。
具体实施方式
参见图1-图3,拉伸支撑式晾衣架,可以自如拉伸和收缩,采用相互连接成栅形的一组伸缩杆来承受挂放物的重量,通过基座1中部的固定孔6,可直接固定在建筑物的墙壁上。整体由基座1、伸缩杆2、横杆支撑环3和横杆4等部分构成,横杆4穿过横杆支撑环3,由横杆支撑环上部的螺丝5固定横杆。伸缩杆2由杆件自相互连接组合成栅形,杆件个数可根据需要进行调节;横杆支撑环3的下端插入伸缩杆2内,并用铆钉固定。基座1与建筑物通过固定孔6中的螺栓(丝)固定,基座1与伸缩杆2的上端和下端均有连接点,下端连接点为连接槽7,可以上下滑动。
Claims (2)
1.一种拉伸支撑式晾衣架,包括可以固定在建筑物上的基座(1)和相互连接成栅形的一组伸缩杆(2),其特征在于:在基座(1)的下部有连接槽(7)与伸缩杆(2)的下端连接,基座(1)的上部有连接孔(8)与伸缩杆(2)的上端连接;伸缩杆(2)上端装有横杆支撑环(3),横杆支撑环(3)中穿接有横杆(4)。
2.根据权利要求1所述的拉伸支撑式晾衣架,其特征在于:所述的横杆支撑环(3),其下部有用于连接伸缩杆(2)上端的插片(9),其上端有螺钉(5)。
Priority Applications (1)
| Application Number | Priority Date | Filing Date | Title |
|---|---|---|---|
| CN2010201761191U CN201793968U (zh) | 2010-04-30 | 2010-04-30 | 拉伸支撑式晾衣架 |
Applications Claiming Priority (1)
| Application Number | Priority Date | Filing Date | Title |
|---|---|---|---|
| CN2010201761191U CN201793968U (zh) | 2010-04-30 | 2010-04-30 | 拉伸支撑式晾衣架 |
Publications (1)
| Publication Number | Publication Date |
|---|---|
| CN201793968U true CN201793968U (zh) | 2011-04-13 |
Family
ID=43848887
Family Applications (1)
| Application Number | Title | Priority Date | Filing Date |
|---|---|---|---|
| CN2010201761191U Expired - Fee Related CN201793968U (zh) | 2010-04-30 | 2010-04-30 | 拉伸支撑式晾衣架 |
Country Status (1)
| Country | Link |
|---|---|
| CN (1) | CN201793968U (zh) |
Cited By (2)
| Publication number | Priority date | Publication date | Assignee | Title |
|---|---|---|---|---|
| CN102660997A (zh) * | 2012-05-31 | 2012-09-12 | 谢伟华 | 可伸缩的多功能更衣室 |
| CN103938418A (zh) * | 2014-03-28 | 2014-07-23 | 吴江龙升纺织有限公司 | 一种推拉式晾晒架 |
-
2010
- 2010-04-30 CN CN2010201761191U patent/CN201793968U/zh not_active Expired - Fee Related
Cited By (3)
| Publication number | Priority date | Publication date | Assignee | Title |
|---|---|---|---|---|
| CN102660997A (zh) * | 2012-05-31 | 2012-09-12 | 谢伟华 | 可伸缩的多功能更衣室 |
| CN102660997B (zh) * | 2012-05-31 | 2013-11-27 | 谢伟华 | 可伸缩的多功能更衣室 |
| CN103938418A (zh) * | 2014-03-28 | 2014-07-23 | 吴江龙升纺织有限公司 | 一种推拉式晾晒架 |
Similar Documents
| Publication | Publication Date | Title |
|---|---|---|
| CN201793968U (zh) | 拉伸支撑式晾衣架 | |
| CN203174384U (zh) | 方便晾衣架 | |
| CN216404839U (zh) | 一种便携式多功能置物架 | |
| CN203007676U (zh) | 晾衣架 | |
| CN104372585A (zh) | 一种能有效解决重心失衡的衣架 | |
| CN203539017U (zh) | 伸缩式三角衣架 | |
| CN211772180U (zh) | 一种可以进行调节的晾衣架 | |
| CN201024338Y (zh) | 伸缩可夹型室外晒衣架 | |
| CN202658444U (zh) | 可收放的壁挂式晾衣绳 | |
| CN203144752U (zh) | 阳台用伸缩晾衣架 | |
| CN201762586U (zh) | 一种晾衣架 | |
| CN203802198U (zh) | 一种多用衣架 | |
| CN202390685U (zh) | 室外伸缩式晾衣架 | |
| CN211256416U (zh) | 一种室外安全晾衣架 | |
| CN201495427U (zh) | 折合晒衣架 | |
| CN201670976U (zh) | 晾衣架 | |
| CN211734793U (zh) | 分体式晾衣架 | |
| CN215593457U (zh) | 一种壁挂式晾衣架 | |
| CN216514709U (zh) | 一种用于晾晒床单的衣架 | |
| CN215292258U (zh) | 一种带有隐藏式置物架的窗结构 | |
| CN215405173U (zh) | 一种伸缩式折叠晾衣架 | |
| CN201144353Y (zh) | 一种晾衣架 | |
| CN205295744U (zh) | 一种便捷式被子晾晒架 | |
| CN222251423U (zh) | 多功能晾衣架 | |
| CN202553409U (zh) | 多功能衣架 |
Legal Events
| Date | Code | Title | Description |
|---|---|---|---|
| C14 | Grant of patent or utility model | ||
| GR01 | Patent grant | ||
| C17 | Cessation of patent right | ||
| CF01 | Termination of patent right due to non-payment of annual fee |
Granted publication date: 20110413 Termination date: 20130430 |
|
| DD01 | Delivery of document by public notice |
Addressee: Cang Yongqing Document name: Notification of Termination of Patent Right |