CN201780198U - Wind-tunnel high attack angle dynamic testing device based on hybrid mechanism - Google Patents
Wind-tunnel high attack angle dynamic testing device based on hybrid mechanism Download PDFInfo
- Publication number
- CN201780198U CN201780198U CN2010205119048U CN201020511904U CN201780198U CN 201780198 U CN201780198 U CN 201780198U CN 2010205119048 U CN2010205119048 U CN 2010205119048U CN 201020511904 U CN201020511904 U CN 201020511904U CN 201780198 U CN201780198 U CN 201780198U
- Authority
- CN
- China
- Prior art keywords
- moving platform
- active
- joint
- rotation
- end effector
- Prior art date
- Legal status (The legal status is an assumption and is not a legal conclusion. Google has not performed a legal analysis and makes no representation as to the accuracy of the status listed.)
- Expired - Lifetime
Links
Images
Classifications
-
- Y—GENERAL TAGGING OF NEW TECHNOLOGICAL DEVELOPMENTS; GENERAL TAGGING OF CROSS-SECTIONAL TECHNOLOGIES SPANNING OVER SEVERAL SECTIONS OF THE IPC; TECHNICAL SUBJECTS COVERED BY FORMER USPC CROSS-REFERENCE ART COLLECTIONS [XRACs] AND DIGESTS
- Y02—TECHNOLOGIES OR APPLICATIONS FOR MITIGATION OR ADAPTATION AGAINST CLIMATE CHANGE
- Y02T—CLIMATE CHANGE MITIGATION TECHNOLOGIES RELATED TO TRANSPORTATION
- Y02T90/00—Enabling technologies or technologies with a potential or indirect contribution to GHG emissions mitigation
Landscapes
- Aerodynamic Tests, Hydrodynamic Tests, Wind Tunnels, And Water Tanks (AREA)
Abstract
一种基于混联机构的风洞大攻角动态实验装置,属飞行器实验装置。包括基座(1)、三条运动链(3)、动平台(9);还包括弯刀(8)、第一主动转动关节(5)、末端执行器(6)、第二主动转动关节(7);弯刀(8)的一端通过第一主动转动关节(5)安装于动平台(9)上,末端执行器(6)通过第二主动转动关节(7)安装于弯刀的另一端;上述第一转动关节的旋转轴垂直于动平台,第二转动关节的旋转轴平行于动平台,末端执行器(6)自身的体轴与第二转动关节的旋转轴重合。利用三自由度平面并联机构和串联的两自由度转动装置,完成绕飞行器上某固定点的空间三自由度转动。运动空间大、结构简单、成本低、容易实施。
The utility model relates to a wind tunnel large attack angle dynamic experimental device based on a hybrid mechanism, which belongs to an aircraft experimental device. It includes a base (1), three kinematic chains (3), and a moving platform (9); it also includes a machete (8), a first active rotary joint (5), an end effector (6), a second active rotary joint ( 7); one end of the machete (8) is installed on the moving platform (9) through the first active rotating joint (5), and the end effector (6) is installed on the other end of the machete through the second active rotating joint (7) The rotation axis of the above-mentioned first rotation joint is perpendicular to the moving platform, the rotation axis of the second rotation joint is parallel to the movement platform, and the body axis of the end effector (6) itself coincides with the rotation axis of the second rotation joint. A three-degree-of-freedom planar parallel mechanism and a series-connected two-degree-of-freedom rotating device are used to complete a spatial three-degree-of-freedom rotation around a fixed point on the aircraft. The movement space is large, the structure is simple, the cost is low, and it is easy to implement.
Description
技术领域technical field
本实用新型属于一种飞行器实验装置,特别涉及绕飞行器上某固定点实现三自由度转动的风洞大攻角动态实验装置。The utility model belongs to an aircraft experiment device, in particular to a wind tunnel large attack angle dynamic experiment device which realizes three-degree-of-freedom rotation around a certain fixed point on the aircraft.
背景技术Background technique
新一代飞行器要求具有较高的敏捷性和机动能力。为了研究飞行器机动过程中的非定常空气动力,需要在风洞试验技术上有所创新。目前,国内外在大迎角非定常空气动力学领域进行了许多研究,特别是在风洞试验技术方面,已建成了许多模拟战斗机机动飞行的大振幅动态实验装置。如在加拿大宇航研究院3米风洞中公开了一种动态实验装置(见:http://www.nrc-cnrc.gc.ca/eng/programs/iar/non-linear.html);图为美国Stanford大学公开的的一套动态实验装置;俄罗斯中央空气流体动力研究中心也公开了相类似的动态实验装置。这些装置只能实现对模型姿态单自由度的运动控制。Virginia大学公开了的一套可实现两自由度运动的动态实验装置(见:http://www.aoe.vt.edu/research/facilities/dyppir);南京航空航天大学自行研制了一套可实现俯仰-滚转两自由度运动的动态实验装置(见文献“俯仰-滚转耦合两自由度大振幅非定常实验技术”,南京航空航天大学学报,1999,31(2))。这些装置可以实现对模型姿态的两自由度运动控制。其他还有美国兰利中心3米风洞的动态实验装置,国内627所、29基地等单位也有类似的大振幅动态实验装置。The new generation of aircraft requires high agility and maneuverability. In order to study the unsteady aerodynamics in the maneuvering process of aircraft, innovations in wind tunnel test technology are needed. At present, many studies have been carried out in the field of high angle of attack unsteady aerodynamics at home and abroad, especially in the aspect of wind tunnel test technology, and many large-amplitude dynamic experimental devices for simulating the maneuvering flight of fighter jets have been built. For example, a dynamic experimental device is disclosed in the 3-meter wind tunnel of the Canadian Institute of Aeronautics and Astronautics (see: http://www.nrc-cnrc.gc.ca/eng/programs/iar/non-linear.html); A set of dynamic experimental devices disclosed by Stanford University in the U.S.; a similar dynamic experimental device is also disclosed by the Russian Central Aerohydrodynamic Research Center. These devices can only realize the motion control of the single degree of freedom of the model attitude. A set of dynamic experimental devices that can realize two-degree-of-freedom motion is published by the University of Virginia (see: http://www.aoe.vt.edu/research/facilities/dyppir); Nanjing University of Aeronautics and Astronautics has developed a set that can realize Dynamic experimental device for pitch-roll two-degree-of-freedom motion (see the literature "Pitch-roll coupled two-degree-of-freedom large-amplitude unsteady experimental technology", Journal of Nanjing University of Aeronautics and Astronautics, 1999, 31(2)). These devices can realize two-degree-of-freedom motion control of the pose of the model. Others include the dynamic experimental device of the 3-meter wind tunnel at the Langley Center in the United States, and domestic 627 and 29 bases also have similar large-amplitude dynamic experimental devices.
从这些的实验设备来看,大多数动态实验装置只能实现一个自由度的运动,少数实现了两个自由度的运动,而这些运动机构只能完成简单的简谐振荡运动,并不能真实模拟实际过失速机动飞行时战斗机的复杂运动。Judging from these experimental equipment, most dynamic experimental devices can only achieve one degree of freedom of motion, and a few of them can achieve two degrees of freedom of motion, and these motion mechanisms can only complete simple simple harmonic oscillation motion, which cannot be truly simulated The complex motion of fighter jets during actual post-stall maneuvers.
从现有技术来看,与本实用新型最为接近的实验设备有德国DLR的MPM实验装置(见文献“Ground-based simulation of complex maneuvers of a delta-wing aircraft”,Journal of Aircraft,2008,45(1))。该装置采用的是六自由度并联驱动机构,可以实现对模型姿态的三自由度转动控制,但该运动装置的运动空间比较小,运动机构驱动比较复杂。From the prior art, the closest experimental equipment with the utility model has the MPM experimental device of German DLR (see document "Ground-based simulation of complex maneuvers of a delta-wing aircraft", Journal of Aircraft, 2008, 45( 1)). The device uses a six-degree-of-freedom parallel drive mechanism, which can realize three-degree-of-freedom rotation control of the model attitude, but the movement space of the movement device is relatively small, and the drive of the movement mechanism is relatively complicated.
在本实用新型之前,完成绕飞行器上某固定点所能实现的转动最多为单自由度或两个自由度,并且这些装置所采用的多为串联、开链结构,动作响应慢;基于并联机构的模型姿态控制系统运动空间比较小,运动机构驱动复杂。本实用新型将克服这些缺点,并且具有运动空间大,机构自由度少,结构简单等特点。Before the present utility model, the rotation that can be realized around a fixed point on the aircraft is at most a single degree of freedom or two degrees of freedom, and most of these devices adopt a series and open chain structure, and the action response is slow; based on the parallel mechanism The motion space of the model attitude control system is relatively small, and the drive of the motion mechanism is complex. The utility model will overcome these disadvantages, and has the characteristics of large movement space, less degree of freedom of mechanism, simple structure and the like.
发明内容Contents of the invention
本实用新型的目在于提供一种工作空间大且响应速度好,并且控制简便的基于混联机构的风洞大攻角动态实验装置。The purpose of the utility model is to provide a large working space, good response speed, and easy control of a wind tunnel large angle of attack dynamic experiment device based on a hybrid mechanism.
一种基于混联机构的风洞大攻角动态实验装置,其特征在于:A wind tunnel large angle of attack dynamic experiment device based on a hybrid mechanism, characterized in that:
该实验装置包括基座、三条运动链、动平台;上述每条运动链均由位于中间的主动式移动副、联于主动式移动副下端的第一从动转动副和联于主动式移动副上端的第二从动转动副组成;第一从动转动副与基座相联,第二从动转动副与动平台相联;基座、动平台以及连接两者的三条运动链共同构成了一个具有两个移动和一个转动自由度的平面并联机构;The experimental device includes a base, three kinematic chains, and a moving platform; each of the above-mentioned kinematic chains is composed of an active moving pair located in the middle, a first driven rotating pair connected to the lower end of the active moving pair, and a first driven rotating pair connected to the active moving pair. The upper end is composed of the second driven revolving pair; the first driven revolving pair is connected to the base, and the second driven revolving pair is connected to the moving platform; the base, the moving platform and three kinematic chains connecting them together constitute the A planar parallel mechanism with two degrees of freedom for movement and one rotation;
该实验装置还包括弯刀、第一主动转动关节、末端执行器、第二主动转动关节;弯刀的一端通过第一主动转动关节安装于动平台上,末端执行器通过第二主动转动关节安装于弯刀的另一端;上述第一转动关节的旋转轴垂直于动平台,第二转动关节的旋转轴平行于动平台,末端执行器自身的体轴与第二转动关节的旋转轴重合。The experimental device also includes a machete, a first active rotary joint, an end effector, and a second active rotary joint; one end of the machete is mounted on the moving platform through the first active rotary joint, and the end effector is mounted on the second active rotary joint. At the other end of the scimitar; the rotation axis of the first rotation joint is perpendicular to the moving platform, the rotation axis of the second rotation joint is parallel to the movement platform, and the body axis of the end effector itself coincides with the rotation axis of the second rotation joint.
本实用新型的特点是:利用三自由度平面并联机构和串联的两自由度转动装置,完成绕飞行器上某固定点的空间三自由度转动。运动空间大、结构简单、成本低、容易实施。The utility model is characterized in that: a three-degree-of-freedom planar parallel mechanism and a two-degree-of-freedom rotating device in series are used to complete a three-degree-of-freedom rotation in space around a fixed point on the aircraft. The movement space is large, the structure is simple, the cost is low, and it is easy to implement.
附图说明Description of drawings
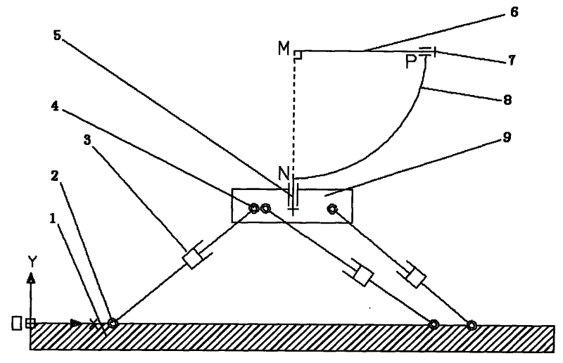
图1为本实用新型绕飞行器上某固定点实现三自由度转动装置的原理图。Fig. 1 is a schematic diagram of the utility model realizing the three-degree-of-freedom rotating device around a certain fixed point on the aircraft.
图中标号名称:1.基座,2.第一从动转动副,3.主动式移动副,4.第二从动转动副,5.第一主动式转动关节,6.末端执行器,7.第二主动式转动关节,8.弯刀,9.动平台,MN.第一主动式转动关节的回转轴线,MP.第二主动式转动关节的回转轴线。Label names in the figure: 1. Base, 2. First driven revolving joint, 3. Active moving joint, 4. Second driven revolving joint, 5. First active revolving joint, 6. End effector, 7. Second active revolving joint, 8. Scimitar, 9. Moving platform, MN. Rotation axis of the first active revolving joint, MP. Revolving axis of the second active revolving joint.
具体实施方式Detailed ways
如图1所示,基座1和动平台9通过三条RPR运动链并行连接,这三条运动链在同一平面XOY内或者处于平行于XOY平面的不同平面内,与基座1和动平台9共同构成具有两个移动一个转动的平面三自由度并联机构。三条运动链均为RPR形式的运动链,移动副P为主动关节,具体应用时可以采用液压缸、电推缸或者由电机驱动的丝杠螺母副等实施驱动,两个转动副R为从动副。三条RPR运动链的协调运动可以使动平台在XOY平面内完成两个移动和一个转动工作。As shown in Figure 1, the
动平台9和弯刀8通过第一主动式转动关节5连接,其回转轴线MN垂直于动平台9,且在XOY平面内。第一主动式转动关节5,实施时可以使用电机或回转液压缸驱动。弯刀8的另一端通过第二主动式转动关节7与末端执行器6连接,第二主动式转动关节7的回转轴线MP与末端执行器6的体轴重合,与第一主动式转动关节5的回转轴线MN垂直相交于M点。第二主动式转动关节,实施时可以使用电机或回转液压缸驱动。该装置可以完成绕末端执行器6上M点的三个转动工作。由于末端执行器6具有一定的长度,因此,转动时将使动平台9产生在XOY平面内两个方向上的位移。The
末端执行器6可以在机构所在平面内实现两个方向的移动和空间的三个转动。连接动平台9与基座1的平面三自由度并联机构主要用于补偿由于绕末端执行器6上固定点M转动而使动产生的位移。The
Claims (1)
Priority Applications (1)
| Application Number | Priority Date | Filing Date | Title |
|---|---|---|---|
| CN2010205119048U CN201780198U (en) | 2010-08-30 | 2010-08-30 | Wind-tunnel high attack angle dynamic testing device based on hybrid mechanism |
Applications Claiming Priority (1)
| Application Number | Priority Date | Filing Date | Title |
|---|---|---|---|
| CN2010205119048U CN201780198U (en) | 2010-08-30 | 2010-08-30 | Wind-tunnel high attack angle dynamic testing device based on hybrid mechanism |
Publications (1)
| Publication Number | Publication Date |
|---|---|
| CN201780198U true CN201780198U (en) | 2011-03-30 |
Family
ID=43793409
Family Applications (1)
| Application Number | Title | Priority Date | Filing Date |
|---|---|---|---|
| CN2010205119048U Expired - Lifetime CN201780198U (en) | 2010-08-30 | 2010-08-30 | Wind-tunnel high attack angle dynamic testing device based on hybrid mechanism |
Country Status (1)
| Country | Link |
|---|---|
| CN (1) | CN201780198U (en) |
Cited By (6)
| Publication number | Priority date | Publication date | Assignee | Title |
|---|---|---|---|---|
| CN101929915A (en) * | 2010-08-30 | 2010-12-29 | 南京航空航天大学 | Dynamic Experimental Device of Large Angle of Attack in Wind Tunnel Based on Hybrid Mechanism |
| CN102901613A (en) * | 2012-09-29 | 2013-01-30 | 中国航天空气动力技术研究院 | Method for determining pressure center of reentry vehicle |
| CN103495973A (en) * | 2013-09-28 | 2014-01-08 | 孙志超 | Planar three-freedom-degree parallel mechanism driven by three linear drivers and application thereof |
| CN105571811A (en) * | 2015-12-22 | 2016-05-11 | 中国航天空气动力技术研究院 | Method of measuring aircraft actual attack angle value in wind tunnel experiment |
| CN107063619A (en) * | 2016-12-14 | 2017-08-18 | 中国航天空气动力技术研究院 | A kind of low speed wind tunnel thrust vector test at high attack angle device |
| CN107290123A (en) * | 2017-06-07 | 2017-10-24 | 中国航天空气动力技术研究院 | The big angle of attack device of multiple degrees of freedom wind-tunnel |
-
2010
- 2010-08-30 CN CN2010205119048U patent/CN201780198U/en not_active Expired - Lifetime
Cited By (12)
| Publication number | Priority date | Publication date | Assignee | Title |
|---|---|---|---|---|
| CN101929915A (en) * | 2010-08-30 | 2010-12-29 | 南京航空航天大学 | Dynamic Experimental Device of Large Angle of Attack in Wind Tunnel Based on Hybrid Mechanism |
| CN101929915B (en) * | 2010-08-30 | 2011-11-30 | 南京航空航天大学 | Hybrid mechanism-based large attack angle dynamic experimental device of wind tunnel |
| CN102901613A (en) * | 2012-09-29 | 2013-01-30 | 中国航天空气动力技术研究院 | Method for determining pressure center of reentry vehicle |
| CN102901613B (en) * | 2012-09-29 | 2014-11-26 | 中国航天空气动力技术研究院 | Method for determining pressure center of reentry vehicle |
| CN103495973A (en) * | 2013-09-28 | 2014-01-08 | 孙志超 | Planar three-freedom-degree parallel mechanism driven by three linear drivers and application thereof |
| CN103495973B (en) * | 2013-09-28 | 2015-06-17 | 新乡学院 | Planar three-freedom-degree parallel mechanism driven by three linear drivers and application thereof |
| CN105571811A (en) * | 2015-12-22 | 2016-05-11 | 中国航天空气动力技术研究院 | Method of measuring aircraft actual attack angle value in wind tunnel experiment |
| CN105571811B (en) * | 2015-12-22 | 2018-02-06 | 中国航天空气动力技术研究院 | The method for measuring aerocraft real angle of attack value in wind tunnel experiment |
| CN107063619A (en) * | 2016-12-14 | 2017-08-18 | 中国航天空气动力技术研究院 | A kind of low speed wind tunnel thrust vector test at high attack angle device |
| CN107063619B (en) * | 2016-12-14 | 2019-07-12 | 中国航天空气动力技术研究院 | A kind of low speed wind tunnel thrust vector test at high attack angle device |
| CN107290123A (en) * | 2017-06-07 | 2017-10-24 | 中国航天空气动力技术研究院 | The big angle of attack device of multiple degrees of freedom wind-tunnel |
| CN107290123B (en) * | 2017-06-07 | 2019-05-24 | 中国航天空气动力技术研究院 | The big angle of attack device of multiple degrees of freedom wind-tunnel |
Similar Documents
| Publication | Publication Date | Title |
|---|---|---|
| CN201780198U (en) | Wind-tunnel high attack angle dynamic testing device based on hybrid mechanism | |
| CN101518898B (en) | Parallel mechanism with three freedom degrees of twice rotation and once motion | |
| CN102189556B (en) | Pneumatic muscle flexible elbow joint device with buffer spring and flexible shaft sleeves | |
| CN102962848A (en) | Three-degree-of-freedom parallel mechanism for wrists and shoulders of robot | |
| CN104760054A (en) | Orthorhombic three-freedom joint driven by pneumatic artificial muscles | |
| CN204525455U (en) | A kind of variable topological four-freedom parallel mechanism | |
| CN105082112A (en) | Fully-isotropic parallel robot mechanism with three-dimensional movement function and two-dimensional rotation function | |
| CN103831839B (en) | Robot bionic wrist joint and structural optimization method thereof | |
| CN101927491B (en) | Completely isotropic three-freedom degree spatial parallel robot mechanism | |
| CN104476538B (en) | One has ten connecting rod five degree of freedom controllable-mechanism type mobile mechanical arms | |
| CN202448136U (en) | A six-degree-of-freedom parallel robot with few branches | |
| CN101214647A (en) | Spherical two-degree-of-freedom symmetric parallel robot mechanism with redundant drives | |
| CN103341855A (en) | Stretchy snake-shaped robot | |
| CN104875190A (en) | Two-movement-three-rotation complete decoupling and series-parallel linking robot mechanism | |
| CN201009243Y (en) | A hybrid-driven 6-DOF parallel mechanism with planar 5-bar closed chain | |
| CN101929915B (en) | Hybrid mechanism-based large attack angle dynamic experimental device of wind tunnel | |
| CN206748409U (en) | Nine-degree of freedom serial-parallel mirror stabilized platform | |
| CN201736231U (en) | Wrist joint of robot | |
| CN106826775B (en) | Isotropic space two-degree-of-freedom rotating parallel robot | |
| CN202428447U (en) | Two-freedom-degree robot neck joint | |
| CN203460178U (en) | Four-DOF (degree of freedom) spatial parallel mechanism with position-variable rotating shaft | |
| CN103624778A (en) | Asymmetric full-decoupling four-freedom-degree parallel mechanism | |
| CN103968207B (en) | A Three-dimensional Rotational Parallel Mechanism with No Singularity and Completely Isotropic Space | |
| CN206697128U (en) | Connection in series-parallel motion simulator | |
| CN206825405U (en) | Isotropic space two degrees of freedom rotating parallel device people |
Legal Events
| Date | Code | Title | Description |
|---|---|---|---|
| C14 | Grant of patent or utility model | ||
| GR01 | Patent grant | ||
| AV01 | Patent right actively abandoned |
Granted publication date: 20110330 Effective date of abandoning: 20111130 |
|
| AV01 | Patent right actively abandoned |
Granted publication date: 20110330 Effective date of abandoning: 20111130 |
