CN201768490U - Compound air purifier - Google Patents
Compound air purifier Download PDFInfo
- Publication number
- CN201768490U CN201768490U CN201020508219XU CN201020508219U CN201768490U CN 201768490 U CN201768490 U CN 201768490U CN 201020508219X U CN201020508219X U CN 201020508219XU CN 201020508219 U CN201020508219 U CN 201020508219U CN 201768490 U CN201768490 U CN 201768490U
- Authority
- CN
- China
- Prior art keywords
- air
- filter
- layer
- casing
- air inlet
- Prior art date
- Legal status (The legal status is an assumption and is not a legal conclusion. Google has not performed a legal analysis and makes no representation as to the accuracy of the status listed.)
- Expired - Fee Related
Links
Images
Classifications
-
- Y—GENERAL TAGGING OF NEW TECHNOLOGICAL DEVELOPMENTS; GENERAL TAGGING OF CROSS-SECTIONAL TECHNOLOGIES SPANNING OVER SEVERAL SECTIONS OF THE IPC; TECHNICAL SUBJECTS COVERED BY FORMER USPC CROSS-REFERENCE ART COLLECTIONS [XRACs] AND DIGESTS
- Y02—TECHNOLOGIES OR APPLICATIONS FOR MITIGATION OR ADAPTATION AGAINST CLIMATE CHANGE
- Y02A—TECHNOLOGIES FOR ADAPTATION TO CLIMATE CHANGE
- Y02A50/00—TECHNOLOGIES FOR ADAPTATION TO CLIMATE CHANGE in human health protection, e.g. against extreme weather
- Y02A50/20—Air quality improvement or preservation, e.g. vehicle emission control or emission reduction by using catalytic converters
Landscapes
- Filtering Of Dispersed Particles In Gases (AREA)
- Disinfection, Sterilisation Or Deodorisation Of Air (AREA)
- Filtering Materials (AREA)
Abstract
本实用新型公开了一种复合型空气净化器,属于室内空气净化器技术领域,其技术要点包括机壳,在机壳内设有通风机,在通风机的进风端一侧的机壳壁上设有进风孔,在通风机出风端一侧的机壳壁上设有出风孔,其中,所述的通风机进风端与进风孔之间设有空气过滤网,所述的空气过滤网由相互贴合的聚丙烯滤网层、HEPA高效过滤网层、冷触媒层和活性炭层构成,在出风孔内侧的机壳上还设有负离子发生器。本实用新型旨在提供一种结构简单、可过滤多种空气杂质且过滤效果好的复合型空气净化器。用于室内空气净化。
The utility model discloses a composite air purifier, which belongs to the technical field of indoor air purifiers, and its technical points include a casing in which a ventilator is arranged, and the casing wall on the side of the air inlet end of the ventilator is There is an air inlet hole on the top, and an air outlet hole is arranged on the casing wall on the side of the air outlet end of the fan, wherein an air filter is arranged between the air inlet end of the fan and the air inlet hole, and the The air filter is composed of a polypropylene filter layer, a HEPA high-efficiency filter layer, a cold catalyst layer and an activated carbon layer that are bonded to each other. A negative ion generator is also provided on the casing inside the air outlet. The utility model aims to provide a composite air purifier with simple structure, which can filter various air impurities and has good filtering effect. For indoor air purification.
Description
技术领域technical field
本实用新型涉及一种空气净化设备,更具体地说,尤其涉及一种复合型空气净化器。The utility model relates to an air purification device, in particular to a composite air purifier.
背景技术Background technique
传统的空气净化器,按工作原理可大致分为:过滤吸附型、静电集尘型、光触媒型、负离子型和臭氧型。上述类型的空气净化器中,过滤吸附型存在过滤网结构单一,只能过滤少数的空气杂质的缺点,而且由于过滤网过于简单,对空气杂质的过滤效果欠佳,而其他类型的空气净化器,功能都相对单一,对空气杂质有较强的针对性,且会受环境的影响,如光触媒型,一般只针对室内的甲醛、茉等有害气体,且会对室内彩色墙面、家具表面油漆有影响,另外,光触媒材料在净化室内空气时,需要一定的时间和光照。这些都制约了空气净化器的发展。Traditional air purifiers can be roughly divided into filter adsorption type, electrostatic dust collection type, photocatalyst type, negative ion type and ozone type according to their working principles. Among the above-mentioned types of air purifiers, the filter adsorption type has the disadvantage that the filter screen has a single structure and can only filter a small number of air impurities, and because the filter screen is too simple, the filtering effect on air impurities is not good, while other types of air purifiers , the functions are relatively single, have strong pertinence to air impurities, and will be affected by the environment, such as photocatalyst type, generally only for indoor formaldehyde, moss and other harmful gases, and will affect the indoor color wall, furniture surface paint In addition, when the photocatalyst material purifies the indoor air, it needs a certain amount of time and light. These all have restricted the development of air purifier.
实用新型内容Utility model content
本实用新型的目的在于针对上述现有技术的不足,提供一种结构简单、可过滤多种空气杂质且过滤效果好的复合型空气净化器。The purpose of this utility model is to provide a composite air cleaner with simple structure, which can filter various air impurities and has good filtering effect.
本实用新型的技术方案是这样实现的:一种复合型空气净化器,包括机壳,在机壳内设有通风机,在通风机的进风端一侧的机壳壁上设有进风孔,在通风机出风端一侧的机壳壁上设有出风孔,其中,所述的通风机进风端与进风孔之间设有空气过滤网,所述的空气过滤网由相互贴合的聚丙烯滤网层、HEPA高效过滤网层、冷触媒层和活性炭层构成,在出风孔内侧的机壳上还设有负离子发生器。The technical scheme of the utility model is realized in the following way: a composite air purifier includes a casing, a ventilator is arranged in the casing, and an air inlet is provided on the casing wall on the side of the air inlet end of the ventilator. The air outlet hole is provided on the casing wall on the side of the air outlet end of the fan, wherein an air filter is provided between the air inlet end of the fan and the air inlet hole, and the air filter is composed of The polypropylene filter layer, the HEPA high-efficiency filter layer, the cold catalyst layer and the activated carbon layer are formed by bonding each other, and a negative ion generator is also provided on the casing inside the air outlet.
上述的复合型空气净化器中,所述的HEPA高效过滤网层由驻极体和带静电超细聚丙烯折叠构成。In the above-mentioned composite air cleaner, the HEPA high-efficiency filter layer is composed of electret and electrostatic superfine polypropylene folds.
上述的复合型空气净化器中,所述的活性炭层为蜂窝颗粒活性炭层,由改性活性炭填充于纸蜂窝构成。In the above composite air cleaner, the activated carbon layer is a honeycomb particle activated carbon layer, which is composed of modified activated carbon filled with paper honeycomb.
本实用新型采用上述结构后,通过由聚丙烯滤网层、HEPA高效过滤网层、冷触媒层和活性炭层构成的四层结构过滤网,可以有效去除室内污染物,如细菌、异味、病毒、烟尘、氨气、花粉、甲醛、灰尘、毛发等,并配合负离子发生器,产生大量的负离子,与空气中的病菌细胞结合,使细胞内部能量转移,结构改变,导致其死亡,其还可使空气中漂浮的烟、尘、花粉等吸入颗粒物集聚而自然沉降,达到净化空气的目的。After adopting the above structure, the utility model can effectively remove indoor pollutants, such as bacteria, peculiar smell, virus, Soot, ammonia, pollen, formaldehyde, dust, hair, etc., and cooperate with the negative ion generator to generate a large number of negative ions, which combine with the germ cells in the air to transfer energy inside the cells and change the structure, leading to their death. Smoke, dust, pollen and other inhaled particles floating in the air gather and settle naturally to achieve the purpose of purifying the air.
附图说明Description of drawings
下面结合附图中的实施例对本实用新型作进一步的详细说明,但并不构成对本实用新型的任何限制。The utility model will be further described in detail below in conjunction with the embodiments in the accompanying drawings, but it does not constitute any limitation to the utility model.
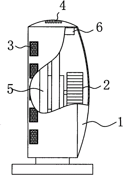
图1是本实用新型的结构示意图;Fig. 1 is the structural representation of the utility model;
图2是本实用新型过滤网的结构示意图。Fig. 2 is a structural schematic diagram of the filter net of the present invention.
图中:机壳1、通风机2、进风孔3、出风孔4、空气过滤网5、聚丙烯滤网层5a、HEPA高效过滤网层5b、冷触媒层5c、活性炭层5d、负离子发生器6。In the figure: casing 1,
具体实施方式Detailed ways
参阅图1、图2所示,本实用新型的一种复合型空气净化器,包括机壳1,在机壳1内设有通风机2,在通风机2的进风端一侧的机壳1壁上设有进风孔3,在通风机2出风端一侧的机壳1壁上设有出风孔4,在通风机2进风端与进风孔3之间设有空气过滤网5,空气过滤网5由相互贴合的聚丙烯滤网层5a、HEPA高效过滤网层5b、冷触媒层5c和活性炭层5d构成,聚丙烯滤网层5a可以过滤空气中的毛发、20微米以上的大颗粒粉尘等污垢,可以减轻其后面的微粒过滤层3的负担,延长其使用寿命,HEPA高效过滤网层5b可以有效过滤空气中0.3微米以上的细小颗粒,对烟雾、花粉、细菌、病毒的净化率达到96%,冷触媒层5c可以在无光照情况下,清除空气中的有害气体,活性炭层5d可以去除空气中的甲醛、茉及各种异味,对甲醛、硫化氢等恶臭气体的净化率达95%,其具有吸附容量大、吸附速度快的优点。其中,HEPA高效过滤网层5b由驻极体和带静电超细聚丙烯折叠构成;活性炭层5d为蜂窝颗粒活性炭层,由碘值>950mg/g的改性活性炭填充于纸蜂窝构成。Referring to Fig. 1, shown in Fig. 2, a kind of composite air purifier of the present utility model comprises casing 1, is provided with
具体使用时,连接电源,启动空气净化器,通风机2和负离子发生器6启动,通风机2将室内空气从机壳1上的进风孔3内吸入,使含污染物的空气依序经过聚丙烯滤网层5a、HEPA高效过滤网层5b、冷触媒层5c和活性炭层5d,通过四层过滤层对不同的空气污染物进行过滤,过滤后的清新空气通过通风机2从壳体1的出风孔4混合负离子发生器6产生的负离子一起在室内流通,对空气污染物进行净化,通过两种方式的同时净化,快速去除空气中的污染物。During specific use, connect the power supply, start the air purifier, start the
Claims (3)
Priority Applications (1)
| Application Number | Priority Date | Filing Date | Title |
|---|---|---|---|
| CN201020508219XU CN201768490U (en) | 2010-08-27 | 2010-08-27 | Compound air purifier |
Applications Claiming Priority (1)
| Application Number | Priority Date | Filing Date | Title |
|---|---|---|---|
| CN201020508219XU CN201768490U (en) | 2010-08-27 | 2010-08-27 | Compound air purifier |
Publications (1)
| Publication Number | Publication Date |
|---|---|
| CN201768490U true CN201768490U (en) | 2011-03-23 |
Family
ID=43748319
Family Applications (1)
| Application Number | Title | Priority Date | Filing Date |
|---|---|---|---|
| CN201020508219XU Expired - Fee Related CN201768490U (en) | 2010-08-27 | 2010-08-27 | Compound air purifier |
Country Status (1)
| Country | Link |
|---|---|
| CN (1) | CN201768490U (en) |
Cited By (3)
| Publication number | Priority date | Publication date | Assignee | Title |
|---|---|---|---|---|
| CN106383211A (en) * | 2016-11-17 | 2017-02-08 | 广西大学 | Cigarette smoke sucking machine with smoke purification function |
| CN106679004A (en) * | 2015-11-09 | 2017-05-17 | 广州科玛空气净化设备有限公司 | Novel purifying air conditioner |
| CN109163331A (en) * | 2018-08-31 | 2019-01-08 | 佛山市锐拓环境工程设备有限公司 | A kind of domestic waste residue treatment equipment for environmental protection engineering |
-
2010
- 2010-08-27 CN CN201020508219XU patent/CN201768490U/en not_active Expired - Fee Related
Cited By (3)
| Publication number | Priority date | Publication date | Assignee | Title |
|---|---|---|---|---|
| CN106679004A (en) * | 2015-11-09 | 2017-05-17 | 广州科玛空气净化设备有限公司 | Novel purifying air conditioner |
| CN106383211A (en) * | 2016-11-17 | 2017-02-08 | 广西大学 | Cigarette smoke sucking machine with smoke purification function |
| CN109163331A (en) * | 2018-08-31 | 2019-01-08 | 佛山市锐拓环境工程设备有限公司 | A kind of domestic waste residue treatment equipment for environmental protection engineering |
Similar Documents
| Publication | Publication Date | Title |
|---|---|---|
| CN106524326A (en) | new air purifier | |
| CN206973738U (en) | A kind of graphene negative ion air-cleaner | |
| CN201768490U (en) | Compound air purifier | |
| CN206055790U (en) | A kind of air purification structure of air-conditioning | |
| CN203940538U (en) | A kind of filtration of Domestic air sterilizing clarifier | |
| CN207928894U (en) | A kind of high-performance low power consuming air purifier filter device | |
| CN102679449A (en) | Improved air purifier | |
| CN201944957U (en) | Improved air purifier | |
| CN210688550U (en) | Movable air purifier | |
| CN201939116U (en) | Drinking water dispenser capable of purifying air | |
| CN104266336A (en) | Air purification filter and air refresher thereof | |
| CN104613542A (en) | Efficient low-wind-resistance air filtering method and module | |
| CN201815206U (en) | Hydroxyl group and free radical combined air purifying device | |
| CN2441067Y (en) | Air purifier | |
| CN205332008U (en) | Remove haze environmental protection ceiling lamp | |
| CN204830260U (en) | Multi -functional air cleaner constructs | |
| CN203240673U (en) | Air purifier | |
| CN205383688U (en) | Improved generation humidification air purifier | |
| CN104548853B (en) | A kind of cigarette fume cleaning device being provided with smog collecting hood | |
| CN204534851U (en) | A kind of air purifier | |
| CN204534865U (en) | A kind of high-efficiency domestic air purifier | |
| CN206637730U (en) | new air purifier | |
| CN207570025U (en) | A kind of air cleaning unit of environment | |
| CN204141746U (en) | Air cleaner | |
| CN203757863U (en) | Air-purifying air conditioner |
Legal Events
| Date | Code | Title | Description |
|---|---|---|---|
| C14 | Grant of patent or utility model | ||
| GR01 | Patent grant | ||
| C17 | Cessation of patent right | ||
| CF01 | Termination of patent right due to non-payment of annual fee |
Granted publication date: 20110323 Termination date: 20120827 |
