CN201641374U - 一种杯盖 - Google Patents
一种杯盖 Download PDFInfo
- Publication number
- CN201641374U CN201641374U CN201020111959XU CN201020111959U CN201641374U CN 201641374 U CN201641374 U CN 201641374U CN 201020111959X U CN201020111959X U CN 201020111959XU CN 201020111959 U CN201020111959 U CN 201020111959U CN 201641374 U CN201641374 U CN 201641374U
- Authority
- CN
- China
- Prior art keywords
- cover
- water absorbing
- absorbing nozzle
- lower cover
- loam cake
- Prior art date
- Legal status (The legal status is an assumption and is not a legal conclusion. Google has not performed a legal analysis and makes no representation as to the accuracy of the status listed.)
- Expired - Fee Related
Links
- XLYOFNOQVPJJNP-UHFFFAOYSA-N water Substances O XLYOFNOQVPJJNP-UHFFFAOYSA-N 0.000 claims abstract description 53
- VYPSYNLAJGMNEJ-UHFFFAOYSA-N Silicium dioxide Chemical compound O=[Si]=O VYPSYNLAJGMNEJ-UHFFFAOYSA-N 0.000 claims abstract description 6
- 239000000741 silica gel Substances 0.000 claims abstract description 6
- 229910002027 silica gel Inorganic materials 0.000 claims abstract description 6
- 230000000295 complement effect Effects 0.000 claims description 3
- 206010013911 Dysgeusia Diseases 0.000 abstract 1
- 238000007789 sealing Methods 0.000 abstract 1
- 230000035622 drinking Effects 0.000 description 4
- 239000003651 drinking water Substances 0.000 description 3
- 235000020188 drinking water Nutrition 0.000 description 3
- 230000000694 effects Effects 0.000 description 2
- 238000000034 method Methods 0.000 description 2
- 239000000463 material Substances 0.000 description 1
Images
Landscapes
- Closures For Containers (AREA)
Abstract
本实用新型公开了一种杯盖,包括下盖(1)、上盖(2)、吸水嘴(3)、锁扣装置,上盖(2)铰接在下盖(1)上,下盖(1)上设有出水口(12),所述的吸水嘴(3)由硅胶制成,其下部设有卡槽(14),吸水嘴(3)通过卡槽(14)卡在下盖(1)的出水口(12)上,上盖(2)上设有同心的密封塞(8)和压罩(7),密封塞(8)与吸水嘴(3)的出水口相匹配,压罩(7)罩在吸水嘴(3)上,锁扣装置设置在下盖(1)与上盖(2)之间。采用本结构后,解决了口感差、锁扣装置复杂的不足,具有结构简单合理、操作方便、密封效果好、口感柔软舒服等优点。
Description
技术领域
本实用新型涉及一种杯盖,特别是一种带有吸水嘴的直饮水杯的杯盖。
背景技术
随着社会的发展和生活水平的提高,汽车杯、保温杯及其它杯类产品的消费急剧增长,特别是带有吸水嘴的直饮水杯,由于驾车途中及旅游出差携带、饮水方便,而受到广大消费者的喜欢,直饮水杯的好坏主要取决于杯盖,种类繁多,结构各异,但该杯盖在使用过程中存在以下不足:一是由于吸水嘴用硬质材料制成,不仅口感差,而且在饮水时嘴巴需包住吸水嘴,否则在晃动过程上就可能从嘴角漏水;二是为了密封吸水嘴,一般都设有锁扣装置,现有的锁扣装置结构复杂、操作不方便;为此,许多生产厂家和有识之士进行了开发和研究,但至今尚未有较合理的办法来解决上述问题。
发明内容
为了克服现有直饮水杯杯盖存在的上述弊病,本实用新型的目的是提供一种结构简单合理、操作方便、密封性能好、成本低的杯盖。
本实用新型解决其技术问题所采用的技术方案,它包括下盖、上盖、吸水嘴、锁扣装置,上盖铰接在下盖上,下上设有出水口,所述的吸水嘴由硅胶制成,其下部设有卡槽,吸水嘴通过卡槽卡在下盖的出水口上,上盖上设有同心的密封塞和压罩,密封塞与吸水的出水口相匹配,压罩罩在吸水上,锁扣装置设置在下盖与上盖之间。
所述的锁扣装置包括卡勾、保险扣、设置在上盖上的锁勾和保险定位扣,下盖上设有连接座,卡勾铰接在连接座内侧,保险扣铰接在连接座外侧,在卡勾与下盖的侧壁之间设有复位弹簧,卡勾与锁勾配合,保险扣与保险定位扣配合。
所述的下盖上设有内螺纹。
所述的吸水嘴为圆柱状或圆锥状。
所述吸水嘴上口的端面设有连为一体的球面罩,球面罩上设有出水细缝。
所述吸水嘴的出水口内设有连为一体的球面罩,球面罩上设有出水细缝。
采用上述结构后,本实用新型有如下优点和效果:一是通过密封塞及压罩与硅胶制成的吸水嘴配合,可确保密封不漏水;二是通过锁扣装置,可确保杯盖不会无故打开,锁定效果好;三是吸水嘴用硅胶制成,饮水时咬在嘴巴里柔软舒服、口感好,会自动变形与嘴形一致,在晃动过程中不漏水,当吸水嘴上设有球面罩时,可以控制水量,就如同吸奶一样,非常人性化。
附图说明
图1为本实用新型的结构示意图。
图2为本实用新型上盖打开时的主视图。
图3为本实用新型上盖打开时的右视图。
图4为本实用新型上盖的结构示意图。
图5为本实用新型下盖的结构示意图。
图6为本实用新型吸水嘴的第一种结构示意图。
图7为本实用新型吸水嘴的第二种结构示意图。
图8为本实用新型吸水嘴的第三种结构示意图。
图9为本实用新型吸水嘴的第四种结构示意图。
图10为本实用新型吸水嘴的第五种结构示意图。
图11为本实用新型吸水嘴的第六种结构示意图。
具体实施方式
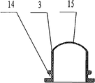
图1至图11所示,为本实用新型一种杯盖的具体实施方案,它包括下盖1、上盖2、吸水嘴3、锁扣装置,上盖2铰接在下盖1上,下盖1上设有出水口12,下盖1上设有与杯体配合的内螺纹11,所述的吸水嘴3由硅胶制成,其下部设有卡槽14,吸水嘴3通过卡槽14卡在下盖1的出水口12上,上盖2上设有同心的密封塞8和压罩7,密封塞8与吸水嘴3的出水口相匹配,压罩7罩在吸水嘴3上,锁扣装置设置在下盖1与上盖2之间。所述的锁扣装置包括卡勾5、保险扣6、设置在上盖2上的锁勾9和保险定位扣10,下盖1上设有连接座13,卡勾5铰接在连接座13内侧,保险扣6铰接在连接座13外侧,在卡勾5与下盖1的侧壁之间设有复位弹簧4,卡勾5与锁勾9配合,保险扣6与保险定位扣10配合。
所述吸水嘴3的外形可以是圆柱状,也可以是圆锥状16。所述吸水嘴3上口的端面可以设有连为一体的球面罩15,球面罩15上设有出水细缝,当然球面罩15也可以设置在吸水嘴3的出水口内。当使用带有球面罩15的吸水嘴3时,密封塞8可以将球面罩15顶到吸水嘴3内。
Claims (6)
1.一种杯盖,包括下盖(1)、上盖(2)、吸水嘴(3)、锁扣装置,上盖(2)铰接在下盖(1)上,下盖(1)上设有出水口(12),其特征是:所述的吸水嘴(3)由硅胶制成,其下部设有卡槽(14),吸水嘴(3)通过卡槽(14)卡在下盖(1)的出水口(12)上,上盖(2)上设有同心的密封塞(8)和压罩(7),密封塞(8)与吸水嘴(3)的出水口相匹配,压罩(7)罩在吸水嘴(3)上,锁扣装置设置在下盖(1)与上盖(2)之间。
2.根据权利要求1所述的一种杯盖,其特征是:所述的锁扣装置包括卡勾(5)、保险扣(6)、设置在上盖(2)上的锁勾(9)和保险定位扣(10),下盖(1)上设有连接座(13),卡勾(5)铰接在连接座(13)内侧,保险扣(6)铰接在连接座(13)外侧,在卡勾(5)与下盖(1)的侧壁之间设有复位弹簧(4),卡勾(5)与锁勾(9)配合,保险扣(6)与保险定位扣(10)配合。
3.根据权利要求1或2所述的一种杯盖,其特征是:所述的下盖(1)上设有内螺纹(11)。
4.根据权利要求3所述的一种杯盖,其特征是:所述的吸水嘴(3)为圆柱状或圆锥状(16)。
5.根据权利要求4所述的一种杯盖,其特征是:所述吸水嘴(3)上口的端面设有连为一体的球面罩(15),球面罩(15)上设有出水细缝。
6.根据权利要求4所述的一种杯盖,其特征是:所述吸水嘴(3)的出水口内设有连为一体的球面罩(15),球面罩(15)上设有出水细缝。
Priority Applications (1)
| Application Number | Priority Date | Filing Date | Title |
|---|---|---|---|
| CN201020111959XU CN201641374U (zh) | 2010-02-06 | 2010-02-06 | 一种杯盖 |
Applications Claiming Priority (1)
| Application Number | Priority Date | Filing Date | Title |
|---|---|---|---|
| CN201020111959XU CN201641374U (zh) | 2010-02-06 | 2010-02-06 | 一种杯盖 |
Publications (1)
| Publication Number | Publication Date |
|---|---|
| CN201641374U true CN201641374U (zh) | 2010-11-24 |
Family
ID=43106551
Family Applications (1)
| Application Number | Title | Priority Date | Filing Date |
|---|---|---|---|
| CN201020111959XU Expired - Fee Related CN201641374U (zh) | 2010-02-06 | 2010-02-06 | 一种杯盖 |
Country Status (1)
| Country | Link |
|---|---|
| CN (1) | CN201641374U (zh) |
Cited By (2)
| Publication number | Priority date | Publication date | Assignee | Title |
|---|---|---|---|---|
| CN103948281A (zh) * | 2014-05-12 | 2014-07-30 | 威海知信行贸易有限公司 | 一种温热平衡杯 |
| WO2017181509A1 (zh) * | 2016-04-18 | 2017-10-26 | 方昱皓 | 防污环保型吸嘴饮料杯盖及加工方法 |
-
2010
- 2010-02-06 CN CN201020111959XU patent/CN201641374U/zh not_active Expired - Fee Related
Cited By (4)
| Publication number | Priority date | Publication date | Assignee | Title |
|---|---|---|---|---|
| CN103948281A (zh) * | 2014-05-12 | 2014-07-30 | 威海知信行贸易有限公司 | 一种温热平衡杯 |
| CN103948281B (zh) * | 2014-05-12 | 2015-11-11 | 威海知信行贸易有限公司 | 一种温热平衡杯 |
| WO2017181509A1 (zh) * | 2016-04-18 | 2017-10-26 | 方昱皓 | 防污环保型吸嘴饮料杯盖及加工方法 |
| US10399745B2 (en) | 2016-04-18 | 2019-09-03 | Yuhao Fang | Environmentally-friendly, anti-contamination suction-nozzle beverage cup cover and processing method thereof |
Similar Documents
| Publication | Publication Date | Title |
|---|---|---|
| CN203619242U (zh) | 一种多功能饮水机水杯 | |
| CN201641374U (zh) | 一种杯盖 | |
| CN201290536Y (zh) | 多功能饮水杯 | |
| CN203106598U (zh) | 一种按压水杯 | |
| CN201545307U (zh) | 瓶盖 | |
| CN201286556Y (zh) | 双盖磁化保健杯 | |
| CN201068257Y (zh) | 一种铝塑结合防盗瓶盖 | |
| CN201418621Y (zh) | 动感型太空杯杯盖 | |
| CN102887276A (zh) | 一种带隐藏吸管式饮料瓶 | |
| CN202775543U (zh) | 一种泡茶用的塑料杯 | |
| CN202698658U (zh) | 不漏水杯子 | |
| CN201240577Y (zh) | 吸水口半藏式瓶盖 | |
| CN201426664Y (zh) | 滤网、托盘一体保温杯 | |
| CN201127475Y (zh) | 一种分隔杯 | |
| CN202784188U (zh) | 一种带隐藏吸管式饮料瓶 | |
| CN204862416U (zh) | 一种茶杯 | |
| CN201422694Y (zh) | 一种泡茶与喝茶用的两用茶杯 | |
| CN201451956U (zh) | 一种新型杯子 | |
| CN201806419U (zh) | 旅行储物茶杯 | |
| CN202136087U (zh) | 水杯 | |
| CN203020638U (zh) | 抽拉式侧开酒包装盒 | |
| CN201309659Y (zh) | 多功能瓶盖 | |
| CN202287501U (zh) | 按钮式保温杯盖 | |
| CN201099467Y (zh) | 一种茶叶筒 | |
| CN204862415U (zh) | 一种多功能茶杯 |
Legal Events
| Date | Code | Title | Description |
|---|---|---|---|
| C14 | Grant of patent or utility model | ||
| GR01 | Patent grant | ||
| CF01 | Termination of patent right due to non-payment of annual fee | ||
| CF01 | Termination of patent right due to non-payment of annual fee |
Granted publication date: 20101124 Termination date: 20180206 |