CN201636687U - LED lamp convenient for installing - Google Patents

LED lamp convenient for installing Download PDF

Info

Publication number
CN201636687U
CN201636687U CN2010201163554U CN201020116355U CN201636687U CN 201636687 U CN201636687 U CN 201636687U CN 2010201163554 U CN2010201163554 U CN 2010201163554U CN 201020116355 U CN201020116355 U CN 201020116355U CN 201636687 U CN201636687 U CN 201636687U
Authority
CN
China
Prior art keywords
joint
convenient
heat radiating
lamp
radiating plate
Prior art date
Legal status (The legal status is an assumption and is not a legal conclusion. Google has not performed a legal analysis and makes no representation as to the accuracy of the status listed.)
Expired - Fee Related
Application number
CN2010201163554U
Other languages
Chinese (zh)
Inventor
李忠孝
李姝瓅
Current Assignee (The listed assignees may be inaccurate. Google has not performed a legal analysis and makes no representation or warranty as to the accuracy of the list.)
Shenzhen Institute of Technology
Original Assignee
Individual
Priority date (The priority date is an assumption and is not a legal conclusion. Google has not performed a legal analysis and makes no representation as to the accuracy of the date listed.)
Filing date
Publication date
Application filed by Individual filed Critical Individual
Priority to CN2010201163554U priority Critical patent/CN201636687U/en
Application granted granted Critical
Publication of CN201636687U publication Critical patent/CN201636687U/en
Anticipated expiration legal-status Critical
Expired - Fee Related legal-status Critical Current

Links

Images

Landscapes

  • Arrangement Of Elements, Cooling, Sealing, Or The Like Of Lighting Devices (AREA)
  • Non-Portable Lighting Devices Or Systems Thereof (AREA)

Abstract

The utility model discloses an LED lamp convenient for installing, which comprises a lamp shade, a joint connected with the lamp shade, an inner sleeve matched with the joint and a metal heat radiating plate integrated with the inner sleeve and the joint, wherein the metal heat radiating plate is provided with a silicon gel heat conducting layer, one end face of the metal heat radiating plate, far away from the joint, is provided with a PCB, a plurality of LED lamps are arranged on the PCB correspondingly, and a plurality of through holes corresponding to the LED lamps are arranged on the PCB. The utility model is convenient for installing and has better heat radiating effect.

Description

A kind of mounted LEDs lamp of being convenient to
Technical field
The utility model relates to a kind of LED lamp, relate in particular to a kind of on the basis of existing electricity-saving lamp the further improved mounted LEDs lamp of being convenient to.
Background technology
Existing electricity-saving lamp, the fluorescent tube that remains fluorescence types of employing is compared with early stage incandescent lamp, though, have high brightness and energy-conservation advantage, still, compare with emerging LED lamp, still exist not enough, LED is the light that is produced superhigh intensity by the superconduction luminescent crystal, and the heat that it sends is seldom wasted too many heat unlike incandescent lamp, also unlike fluorescent lamp because of high energy consumption produces toxic gas, also unlike neon light, require high voltage and damage easily.In order to change the LED lamp, need to remove existing fluorescent tube, lamp changing base more can destroy interior decoration again; Simultaneously, though LED is called as cold light source,, it still can produce certain heat when work, existing LED lamp generally is to have a metallic heat radiating plate, by the metallic heat radiating plate release heat, but in limited space, a plurality of LED are luminous together, be easy to accumulate heat, surpass 50 degrees centigrade, the LED normal working temperature should be less than 50 degrees centigrade, after 50 degrees centigrade, along with the rising light decay of temperature speeds up, the life-span shortens.
The utility model content
The purpose of this utility model is to provide a kind of convenience not need the LED lamp that destroys interior decoration, do not need to change lampshade on present electricity-saving lamp basis, simultaneously, also has better heat radiating effect, guarantees the quality life-saving of LED lamp.
For achieving the above object, the utility model has used following technical proposals:
This mounted LEDs lamp of being convenient to, comprise lampshade, the joint that links to each other with lampshade, the interior cover that cooperates with joint, and with this in cover, the metallic heat radiating plate that is wholely set of joint, metallic heat radiating plate is provided with the silica gel heat-conducting layer, metallic heat radiating plate is provided with the PCB wiring board away from an end face of joint, PCB wiring board correspondence position is provided with some LED lamps, and in PCB wiring board correspondence LED lamp place is set and is provided with some through holes.
Be provided with led drive circuit in the described lampshade, and the drive circuit plug.
Described metallic heat radiating plate is provided with the outlet of coming in and going out for the drive circuit plug, and pcb board is provided with the socket that cooperates with the drive circuit plug.
Described LED lamp is provided with astigmatic cup, and described astigmatic cup one end is fixedly arranged on the joint, and the other end is provided with frosted glass plate.
Described astigmatic cup is provided with some louvres.
Be provided with inwardly protruded elasticity card post in the described joint, correspondence is processed the elasticity stuck point that is provided with to outer lug interior putting.
The bottom of described silica gel heat-conducting layer is adhered on the metallic heat radiating plate, and the lead to the hole site of corresponding PCB wiring board has the silica gel projection of some layer of silica gel extrusion modlings.
Described PCB wiring board is fixedlyed connected with metallic heat radiating plate by screw and is fixedlyed connected with joint, interior cover.
On described lampshade one end metallic lamp holder is set, metallic lamp holder is provided with external screw thread, and external screw thread and existing energy-saving lampholder are spirally connected.
By technique scheme, thereby this utility model has following beneficial effect:
1. can not destroy existing finishing, new LED lamp can be installed on the basis of present lampshade, convenient succinct;
2.LED light fixture has better heat radiating effect, can guarantee normally to use and increase the service life.
Description of drawings
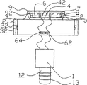
Fig. 1 is the solid assembling schematic diagram that the utility model is convenient to the mounted LEDs lamp.
Fig. 2 is the cross-sectional schematic after the assembling.
The specific embodiment
Below in conjunction with accompanying drawing the utility model is made further instruction.
As shown in Figure 1 and Figure 2, this mounted LEDs lamp of being convenient to, comprise lampshade 1, the joint 2 that links to each other with lampshade, the interior cover 3 that cooperates with joint, and with this in cover, the metallic heat radiating plate 4 that is wholely set of joint, metallic heat radiating plate is provided with silica gel heat-conducting layer 5, metallic heat radiating plate is provided with PCB wiring board 6 away from an end face of joint, and PCB wiring board correspondence position is provided with some LED lamps 7, and in PCB wiring board correspondence LED lamp place is set and is provided with some through holes 8; In described lampshade, be provided with led drive circuit, and drive circuit plug 62; Described metallic heat radiating plate is provided with the outlet 42 of coming in and going out for the drive circuit plug, and pcb board is provided with the socket 64 that cooperates with the drive circuit plug; Described LED lamp is provided with astigmatic cup 9, and described astigmatic cup one end is fixedly arranged on the joint, and the other end is provided with frosted glass plate 10, and described astigmatic cup is provided with some louvres 92.Specifically, be provided with inwardly protruded elasticity card post 22 in described joint 2, corresponding interior cover 3 is provided with the elasticity stuck point 32 to outer lug, when installing, and cover or joint in the rotation, it is fixing to make elasticity card post dock with the elasticity stuck point; And the bottom of described silica gel heat-conducting layer 5 is adhered on the metallic heat radiating plate 4, and there is the silica gel projection 52 of some layer of silica gel extrusion modlings through hole 8 positions of corresponding PCB wiring board, in the process of installing, layer of silica gel 5 is closely affixed with the PCB wiring board, under pressure, in through hole 8, will be extruded into formation silica gel projection 52; Described PCB wiring board is fixedlyed connected with metallic heat radiating plate and is fixedlyed connected with joint, interior cover by screw 11; The described lampshade other end is provided with the metallic lamp holder 12 that connects and fixes with lampshade, and lamp holder is provided with external screw thread 13, and external screw thread can be spirally connected with existing energy-saving lampholder, described lamp holder can perpendicular to install wall also can with wall is installed on same straight line.
Perhaps lampshade is provided with shackle member, correspondence can with existing energy-saving lampholder clamping, also should belong to protection domain of the present utility model.
Simultaneously, no matter the LED lamp be the 1W circle or 0.2W square, also should belong to protection domain of the present utility model.
When installing, only the lamp holder of this LED lamp and original electricity-saving lamp lamp socket need be spirally connected or clamping, do not need to change original lamp socket and destroy former circuit and finishing, easy for installation; Simultaneously, because the PCB wiring board is provided with the through hole corresponding with the LED lamp, thereby can be so that the heat that LED distributes when luminous directly outwards distributes by through hole, simultaneously, in through hole, also be provided with the thermal grease projection, form good heat conductor, directly dispel the heat by metallic heat radiating plate and inner cover, joint again, good heat dissipation effect can guarantee the quality of LED lamp and increases the service life.

Claims (9)

1. be convenient to the mounted LEDs lamp for one kind, comprise lampshade, it is characterized in that: also comprise the joint that links to each other with lampshade, the interior cover that cooperates with joint, and with this in cover, the metallic heat radiating plate that is wholely set of joint, metallic heat radiating plate is provided with the silica gel heat-conducting layer, metallic heat radiating plate is provided with the PCB wiring board away from an end face of joint, PCB wiring board correspondence position is provided with some LED lamps, and in PCB wiring board correspondence LED lamp place is set and is provided with some through holes.
2. the mounted LEDs lamp of being convenient to as claimed in claim 1 is characterized in that: be provided with led drive circuit in the described lampshade, and the drive circuit plug.
3. the mounted LEDs lamp of being convenient to as claimed in claim 2 is characterized in that: described metallic heat radiating plate is provided with the outlet of coming in and going out for the drive circuit plug, and pcb board is provided with the socket that cooperates with the drive circuit plug.
4. the mounted LEDs lamp of being convenient to as claimed in claim 1 is characterized in that: described LED lamp is provided with astigmatic cup, and described astigmatic cup one end is fixedly arranged on the joint, and the other end is provided with frosted glass plate.
5. the mounted LEDs lamp of being convenient to as claimed in claim 4 is characterized in that: described astigmatic cup is provided with some louvres.
6. as claim 1 or 2 or 3 or the 4 or 5 described mounted LEDs lamps of being convenient to, it is characterized in that: be provided with inwardly protruded elasticity card post in the described joint, correspondence is processed the elasticity stuck point that is provided with to outer lug interior putting.
7. as claim 1 or 2 or 3 or the 4 or 5 described mounted LEDs lamps of being convenient to, it is characterized in that: the bottom of described silica gel heat-conducting layer is adhered on the metallic heat radiating plate, and the lead to the hole site of corresponding PCB wiring board has the silica gel projection of some layer of silica gel extrusion modlings.
8. as claim 1 or 2 or 3 or the 4 or 5 described mounted LEDs lamps of being convenient to, it is characterized in that: described PCB wiring board is fixedlyed connected with metallic heat radiating plate by screw and is fixedlyed connected with joint, interior cover.
9. as claim 1 or 2 or 3 or the 4 or 5 described mounted LEDs lamps of being convenient to, it is characterized in that: described lampshade one end is provided with metallic lamp holder, and lamp holder is provided with external screw thread, and external screw thread and existing energy-saving lampholder are spirally connected.
CN2010201163554U 2010-02-09 2010-02-09 LED lamp convenient for installing Expired - Fee Related CN201636687U (en)

Priority Applications (1)

Application Number Priority Date Filing Date Title
CN2010201163554U CN201636687U (en) 2010-02-09 2010-02-09 LED lamp convenient for installing

Applications Claiming Priority (1)

Application Number Priority Date Filing Date Title
CN2010201163554U CN201636687U (en) 2010-02-09 2010-02-09 LED lamp convenient for installing

Publications (1)

Publication Number Publication Date
CN201636687U true CN201636687U (en) 2010-11-17

Family

ID=43081179

Family Applications (1)

Application Number Title Priority Date Filing Date
CN2010201163554U Expired - Fee Related CN201636687U (en) 2010-02-09 2010-02-09 LED lamp convenient for installing

Country Status (1)

Country Link
CN (1) CN201636687U (en)

Cited By (3)

* Cited by examiner, † Cited by third party
Publication number Priority date Publication date Assignee Title
CN102364210A (en) * 2011-10-25 2012-02-29 江门海琪电子科技有限公司 LED (Light-Emitting Diode) lamp with hidden heat radiator
CN103398360A (en) * 2013-08-10 2013-11-20 宁波丽星照明科技有限公司 Heat dissipation structure of LED lamp
CN104061554A (en) * 2013-03-20 2014-09-24 深圳市海洋王照明工程有限公司 Heat dissipation structure and LED lamp with same

Cited By (5)

* Cited by examiner, † Cited by third party
Publication number Priority date Publication date Assignee Title
CN102364210A (en) * 2011-10-25 2012-02-29 江门海琪电子科技有限公司 LED (Light-Emitting Diode) lamp with hidden heat radiator
CN104061554A (en) * 2013-03-20 2014-09-24 深圳市海洋王照明工程有限公司 Heat dissipation structure and LED lamp with same
CN104061554B (en) * 2013-03-20 2018-02-23 深圳市海洋王照明工程有限公司 A kind of radiator structure and the LED lamp with the radiator structure
CN103398360A (en) * 2013-08-10 2013-11-20 宁波丽星照明科技有限公司 Heat dissipation structure of LED lamp
CN103398360B (en) * 2013-08-10 2016-04-27 宁波丽星照明科技有限公司 Heat dissipation structure of LED lamp

Similar Documents

Publication Publication Date Title
CN201636687U (en) LED lamp convenient for installing
CN202048418U (en) Light-emitting diode (LED) fluorescent tube
CN202253244U (en) Ceiling lamp
CN202402990U (en) Novel light-emitting diode (LED) energy-saving bulb lamp
CN201748278U (en) A new type of LED street lamp
CN204099991U (en) A kind of LED lamp tube
CN101539248A (en) LED energy-saving lamp
CN202561588U (en) Energy-saving high-power light-emitting diode (LED) street lamp
CN202165894U (en) T-shaped LED (light-emitting diode) lamp tube
CN204853058U (en) Better LED lamps and lanterns of radiating effect
CN102374397A (en) LED (light emitting diode) illumination lamp fitting
CN207094245U (en) A kind of LED lamp tube of quick heat radiating
CN207486605U (en) A kind of more power LED lamps of mine explosion-suppression and intrinsic safety type
CN205316078U (en) LED bulb of easy dismouting
CN204554438U (en) A kind of T5 glass LED light pipe
CN204986471U (en) Heat radiating structure of LED bulb
CN202613278U (en) High-power light-emitting diode (LED) car lamp
CN203176842U (en) Integrated fluorescent lamp
CN202101001U (en) LED fluorescent tube
CN202992780U (en) A circular light-emitting LED lamp
CN201373369Y (en) Combined LED cylindrical lamp
CN102242874A (en) High-power light emitting diode (LED) light source module
CN202065760U (en) LED fluorescent lamp
CN205402399U (en) Novel light -emitting diode (LED) spotlight
CN207146143U (en) A kind of novel LED ceiling lamp heat abstractor

Legal Events

Date Code Title Description
C14 Grant of patent or utility model
GR01 Patent grant
ASS Succession or assignment of patent right

Owner name: SHENZHEN INSTITUTE OF TECHNOLOGY

Free format text: FORMER OWNER: LI ZHONGXIAO

Effective date: 20110914

C41 Transfer of patent application or patent right or utility model
TR01 Transfer of patent right

Effective date of registration: 20110914

Address after: 518000 No. 1007 Fu Qiang Road, Shenzhen, Futian District

Patentee after: Shenzhen Institute of Technology

Address before: 34 518000 lotus North Village, Shenzhen City, Guangdong Province, 801, Futian District

Patentee before: Li Zhongxiao

C17 Cessation of patent right
CF01 Termination of patent right due to non-payment of annual fee

Granted publication date: 20101117

Termination date: 20130209