CN201624780U - Gynecological perineum disinfector - Google Patents
Gynecological perineum disinfector Download PDFInfo
- Publication number
- CN201624780U CN201624780U CN2010201306172U CN201020130617U CN201624780U CN 201624780 U CN201624780 U CN 201624780U CN 2010201306172 U CN2010201306172 U CN 2010201306172U CN 201020130617 U CN201020130617 U CN 201020130617U CN 201624780 U CN201624780 U CN 201624780U
- Authority
- CN
- China
- Prior art keywords
- gynecological
- disinfector
- perineum
- saving
- technical
- Prior art date
- Legal status (The legal status is an assumption and is not a legal conclusion. Google has not performed a legal analysis and makes no representation as to the accuracy of the status listed.)
- Expired - Fee Related
Links
- 210000002640 perineum Anatomy 0.000 title abstract 5
- 235000009161 Espostoa lanata Nutrition 0.000 claims abstract description 9
- 240000001624 Espostoa lanata Species 0.000 claims abstract description 9
- 238000004659 sterilization and disinfection Methods 0.000 claims abstract description 9
- 239000000645 desinfectant Substances 0.000 description 2
- 206010011409 Cross infection Diseases 0.000 description 1
- 206010029803 Nosocomial infection Diseases 0.000 description 1
- 230000009286 beneficial effect Effects 0.000 description 1
- 239000000284 extract Substances 0.000 description 1
- 239000012467 final product Substances 0.000 description 1
- 230000008595 infiltration Effects 0.000 description 1
- 238000001764 infiltration Methods 0.000 description 1
Images
Landscapes
- Infusion, Injection, And Reservoir Apparatuses (AREA)
Abstract
A gynecological perineum disinfector belongs to the technical field of medical instruments. The technical scheme includes that the gynecological perineum disinfector comprises a catheter and an injector, and is characterized in that a cotton ball clip is arranged at the front section of the catheter. The gynecological perineum disinfector has simple structure, is convenient in operation, labor-saving and time-saving when in perineum disinfection in gynecological examination for patients, and reduces working difficulty of medical staff.
Description
Technical field: this utility model belongs to the medical instruments technical field, is a kind of gynecological vulvar disinfection device specifically.
Background technology: at present, need carry out disinfection to patient's perineal position with tweezers clamping sterilized cotton ball when carrying out gynecologial examination to patient clinically, avoid taking place cross infection, operation very bothers, wastes time and energy like this, has increased work difficulty to the medical worker.
Summary of the invention: the purpose of this utility model provide a kind of when carrying out the gynecologial examination vulvar disinfection to patient easy and simple to handle, time saving and energy saving gynecological vulvar disinfection device.
The technical solution of the utility model is: comprise conduit and syringe, it is characterized in that being provided with the cotton balls folder at the conduit leading portion.
The beneficial effects of the utility model are: this utility model is simple in structure, and is easy and simple to handle, time saving and energy saving when carrying out the gynecologial examination vulvar disinfection to patient, alleviated medical worker's work difficulty.
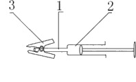
Description of drawings: accompanying drawing 1 is a structural representation of the present utility model.
Among the figure 1, conduit, 2, syringe, 3, the cotton balls folder.
The specific embodiment: comprise conduit 1 and syringe 2, it is characterized in that being provided with cotton balls folder 3 at conduit 1 leading portion.When carrying out the gynecologial examination vulvar disinfection to patient, syringe 2 extracts disinfectant solution, presss from both sides 3 gripping cotton balls and push syringe 2 with cotton balls disinfectant solution infiltration cotton balls is got final product.
Claims (1)
1. gynecological's vulvar disinfection device comprises conduit (1) and syringe (2), it is characterized in that: be provided with cotton balls folder (3) at conduit (1) leading portion.
Priority Applications (1)
| Application Number | Priority Date | Filing Date | Title |
|---|---|---|---|
| CN2010201306172U CN201624780U (en) | 2010-02-06 | 2010-02-06 | Gynecological perineum disinfector |
Applications Claiming Priority (1)
| Application Number | Priority Date | Filing Date | Title |
|---|---|---|---|
| CN2010201306172U CN201624780U (en) | 2010-02-06 | 2010-02-06 | Gynecological perineum disinfector |
Publications (1)
| Publication Number | Publication Date |
|---|---|
| CN201624780U true CN201624780U (en) | 2010-11-10 |
Family
ID=43056159
Family Applications (1)
| Application Number | Title | Priority Date | Filing Date |
|---|---|---|---|
| CN2010201306172U Expired - Fee Related CN201624780U (en) | 2010-02-06 | 2010-02-06 | Gynecological perineum disinfector |
Country Status (1)
| Country | Link |
|---|---|
| CN (1) | CN201624780U (en) |
Cited By (2)
| Publication number | Priority date | Publication date | Assignee | Title |
|---|---|---|---|---|
| CN109224283A (en) * | 2018-11-18 | 2019-01-18 | 周杰 | A kind of multifunction nursing chlorination equipment |
| CN110917446A (en) * | 2019-12-03 | 2020-03-27 | 郝卫芳 | Vaccine injection device based on prevention animal disease |
-
2010
- 2010-02-06 CN CN2010201306172U patent/CN201624780U/en not_active Expired - Fee Related
Cited By (3)
| Publication number | Priority date | Publication date | Assignee | Title |
|---|---|---|---|---|
| CN109224283A (en) * | 2018-11-18 | 2019-01-18 | 周杰 | A kind of multifunction nursing chlorination equipment |
| CN110917446A (en) * | 2019-12-03 | 2020-03-27 | 郝卫芳 | Vaccine injection device based on prevention animal disease |
| CN110917446B (en) * | 2019-12-03 | 2022-03-29 | 郝卫芳 | Vaccine injection device based on prevention animal disease |
Similar Documents
| Publication | Publication Date | Title |
|---|---|---|
| CN201624780U (en) | Gynecological perineum disinfector | |
| CN201357377Y (en) | Novel forceps for sterilize cotton balls | |
| CN202666049U (en) | Catheter intubation fixing device | |
| CN203001675U (en) | Skin sterilizer | |
| CN202270255U (en) | Injection sterilizer | |
| CN203252736U (en) | Gynecologic surgery skin preparation protector | |
| CN201939879U (en) | Nursing disinfector | |
| CN202437975U (en) | Sterilized cotton ball plier | |
| CN201920836U (en) | Sterilizing cotton ball forceps | |
| CN201692068U (en) | Gynecological perineum sterilizer | |
| CN201912629U (en) | Vulvar sterilizer | |
| CN201921305U (en) | Gynecological nursing disinfector | |
| CN203107985U (en) | Injection sterilizing device | |
| CN201271427Y (en) | Medicine-introducing device for gynaecology | |
| CN202822078U (en) | Gynecology vulva sterilizer | |
| CN202459826U (en) | Nursing sterilizer | |
| CN201921310U (en) | Vulva disinfector | |
| CN202314937U (en) | Vulva sterilizer | |
| CN201912626U (en) | Vulva sterilizing device | |
| CN201537312U (en) | injection sterilizer | |
| CN201912630U (en) | Nursing sterilizer | |
| CN201668860U (en) | Gynecological sterilizer | |
| CN202822467U (en) | Nursing sterilizer | |
| CN202427045U (en) | Skin sterilizer | |
| CN201939877U (en) | Local sterilizer |
Legal Events
| Date | Code | Title | Description |
|---|---|---|---|
| C14 | Grant of patent or utility model | ||
| GR01 | Patent grant | ||
| C17 | Cessation of patent right | ||
| CF01 | Termination of patent right due to non-payment of annual fee |
Granted publication date: 20101110 Termination date: 20110206 |