CN201618257U - 注射针头 - Google Patents
注射针头 Download PDFInfo
- Publication number
- CN201618257U CN201618257U CN2010201270804U CN201020127080U CN201618257U CN 201618257 U CN201618257 U CN 201618257U CN 2010201270804 U CN2010201270804 U CN 2010201270804U CN 201020127080 U CN201020127080 U CN 201020127080U CN 201618257 U CN201618257 U CN 201618257U
- Authority
- CN
- China
- Prior art keywords
- needle
- handle
- syringe needle
- utility
- model
- Prior art date
- Legal status (The legal status is an assumption and is not a legal conclusion. Google has not performed a legal analysis and makes no representation as to the accuracy of the status listed.)
- Expired - Fee Related
Links
- 238000002347 injection Methods 0.000 claims description 5
- 239000007924 injection Substances 0.000 claims description 5
- 206010011409 Cross infection Diseases 0.000 abstract description 4
- 206010029803 Nosocomial infection Diseases 0.000 abstract description 4
- 230000000474 nursing effect Effects 0.000 abstract description 4
- 230000009286 beneficial effect Effects 0.000 description 1
- 239000012467 final product Substances 0.000 description 1
- 230000037431 insertion Effects 0.000 description 1
- 238000003780 insertion Methods 0.000 description 1
- 239000000243 solution Substances 0.000 description 1
Images
Landscapes
- Infusion, Injection, And Reservoir Apparatuses (AREA)
Abstract
注射针头,属于医疗用具技术领域。本实用新型的技术方案是:包括针体和针柄,其特征是在针柄上设有支臂,支臂上设有提环。本实用新型结构简单,在给病人进行注射时操作简便、省时省力,且能够避免引发交叉感染,减轻了护理人员的工作难度。
Description
技术领域:本实用新型属于医疗用具技术领域,具体地讲是一种注射针头。
背景技术:目前,临床上所使用的注射针头主要由针体和针柄构成,这种注射器在给病人进行注射时,需要护理人员用镊子夹持针柄,并将针柄安装在针管上,这样操作十分麻烦、费时费力,且容易造成交叉感染,给护理人员增加了极大的工作难度。
发明内容:本实用新型的目的是提供一种在给病人进行注射时操作简便、省时省力,且能够避免引发交叉感染的注射针头。
本实用新型的技术方案是:包括针体和针柄,其特征是在针柄上设有支臂,支臂上设有提环。
本实用新型的有益效果是:本实用新型结构简单,在给病人进行注射时操作简便、省时省力,且能够避免引发交叉感染,减轻了护理人员的工作难度。
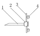
附图说明:附图1为本实用新型的结构示意图。
图中1、针体,2、针柄,3、支臂,4、提环。
具体实施方式:包括针体1和针柄2,其特征是在针柄2上设有支臂3,支臂3上设有提环4。在给病人进行注射时,将手指插入提环4内安装针柄2即可。
Claims (1)
1.注射针头,包括针体(1)和针柄(2),其特征是:在针柄(2)上设有支臂(3),支臂(3)上设有提环(4)。
Priority Applications (1)
| Application Number | Priority Date | Filing Date | Title |
|---|---|---|---|
| CN2010201270804U CN201618257U (zh) | 2010-02-02 | 2010-02-02 | 注射针头 |
Applications Claiming Priority (1)
| Application Number | Priority Date | Filing Date | Title |
|---|---|---|---|
| CN2010201270804U CN201618257U (zh) | 2010-02-02 | 2010-02-02 | 注射针头 |
Publications (1)
| Publication Number | Publication Date |
|---|---|
| CN201618257U true CN201618257U (zh) | 2010-11-03 |
Family
ID=43021711
Family Applications (1)
| Application Number | Title | Priority Date | Filing Date |
|---|---|---|---|
| CN2010201270804U Expired - Fee Related CN201618257U (zh) | 2010-02-02 | 2010-02-02 | 注射针头 |
Country Status (1)
| Country | Link |
|---|---|
| CN (1) | CN201618257U (zh) |
-
2010
- 2010-02-02 CN CN2010201270804U patent/CN201618257U/zh not_active Expired - Fee Related
Similar Documents
| Publication | Publication Date | Title |
|---|---|---|
| CN201618257U (zh) | 注射针头 | |
| CN201257199Y (zh) | 新型注射器 | |
| CN201537291U (zh) | 注射器 | |
| CN201564573U (zh) | 小儿骨髓穿刺针 | |
| CN202185059U (zh) | 皮肤消毒器 | |
| CN201564901U (zh) | 注射器 | |
| CN201329088Y (zh) | 新型注射器 | |
| CN201609530U (zh) | 注射器针头 | |
| CN201519342U (zh) | 新型注射器针头 | |
| CN201194971Y (zh) | 新型注射器 | |
| CN201516208U (zh) | 新型注射器 | |
| CN201855480U (zh) | 护理消毒器 | |
| CN201578695U (zh) | 麻醉针体固定装置 | |
| CN201668787U (zh) | 多功能输液架 | |
| CN201719632U (zh) | 多功能注射器 | |
| CN201329096Y (zh) | 新型注射针头 | |
| CN201361316Y (zh) | 新型注射器 | |
| CN202223290U (zh) | 输液静脉结扎器 | |
| CN201342160Y (zh) | 新型自动注射器 | |
| CN202605408U (zh) | 注射撑拉固定器 | |
| CN201939877U (zh) | 局部消毒器 | |
| CN202207370U (zh) | 一种注射器 | |
| CN201870682U (zh) | 护理注射止血器 | |
| CN201770701U (zh) | 血液标本采集培养瓶 | |
| CN201692494U (zh) | 皮肤消毒护理器 |
Legal Events
| Date | Code | Title | Description |
|---|---|---|---|
| C14 | Grant of patent or utility model | ||
| GR01 | Patent grant | ||
| C17 | Cessation of patent right | ||
| CF01 | Termination of patent right due to non-payment of annual fee |
Granted publication date: 20101103 Termination date: 20110202 |