CN201612783U - Nursing tray - Google Patents

Nursing tray Download PDF

Info

Publication number
CN201612783U
CN201612783U CN2010201333447U CN201020133344U CN201612783U CN 201612783 U CN201612783 U CN 201612783U CN 2010201333447 U CN2010201333447 U CN 2010201333447U CN 201020133344 U CN201020133344 U CN 201020133344U CN 201612783 U CN201612783 U CN 201612783U
Authority
CN
China
Prior art keywords
nursing tray
nursing
technical
plug
medicated cap
Prior art date
Legal status (The legal status is an assumption and is not a legal conclusion. Google has not performed a legal analysis and makes no representation as to the accuracy of the status listed.)
Expired - Fee Related
Application number
CN2010201333447U
Other languages
Chinese (zh)
Inventor
高焕云
颜艳军
Current Assignee (The listed assignees may be inaccurate. Google has not performed a legal analysis and makes no representation or warranty as to the accuracy of the list.)
Individual
Original Assignee
Individual
Priority date (The priority date is an assumption and is not a legal conclusion. Google has not performed a legal analysis and makes no representation as to the accuracy of the date listed.)
Filing date
Publication date
Application filed by Individual filed Critical Individual
Priority to CN2010201333447U priority Critical patent/CN201612783U/en
Application granted granted Critical
Publication of CN201612783U publication Critical patent/CN201612783U/en
Anticipated expiration legal-status Critical
Expired - Fee Related legal-status Critical Current

Links

Images

Landscapes

  • Medical Preparation Storing Or Oral Administration Devices (AREA)

Abstract

A nursing tray belongs to the technical field of medical appliances. The technical scheme includes that the nursing tray comprises a rectangular plate, and the nursing tray is characterized in that a rubber caps are arranged on the wall of the rectangular plate, and root of each rubber cap is provided with an elastic press arm. The nursing tray is simple in structure, can avoid pollution on rubber stoppers of infusion bags during storage of the infusion bags, and relieves working difficulty of nursing staff.

Description

The nursing pallet
Technical field: this utility model belongs to the medical instruments technical field, is a kind of nursing pallet specifically.
Background technology: at present, employed clinically nursing pallet mainly is made of a rectangle dish, be mainly used in and deposit various care implements, and this rectangle dish is when placing transfusion bag, because bag softness, the plug portion of transfusion bag is easy to contaminated, has increased great work difficulty to the nursing staff.
Summary of the invention: the purpose of this utility model provides a kind of nursing pallet that can avoid polluting transfusion bag plug portion when depositing transfusion bag.
The technical solution of the utility model is: comprise the rectangle dish, it is characterized in that being provided with the plug medicated cap on rectangle Pan Bi, plug medicated cap root is provided with the elastic force pressure arm.
The beneficial effects of the utility model are: this utility model is simple in structure, can avoid polluting transfusion bag plug portion when depositing transfusion bag, has alleviated nursing staff's work difficulty.
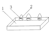
Description of drawings: accompanying drawing 1 is a structural representation of the present utility model.
Among the figure 1, the rectangle dish, 2, the plug medicated cap, 3, the elastic force pressure arm.
The specific embodiment: comprise rectangle dish 1, it is characterized in that being provided with plug medicated cap 2 on rectangle Pan1Bi, plug medicated cap 2 roots are provided with elastic force pressure arm 3.When depositing transfusion bag, with in the transfusion bag plug portion insertion plug medicated cap 2 and by elastic force pressure arm 3 fixing getting final product.

Claims (1)

1. the nursing pallet comprises rectangle dish (1), it is characterized in that: be provided with plug medicated cap (2) on rectangle dish (1) wall, plug medicated cap (2) root is provided with elastic force pressure arm (3).
CN2010201333447U 2010-02-04 2010-02-04 Nursing tray Expired - Fee Related CN201612783U (en)

Priority Applications (1)

Application Number Priority Date Filing Date Title
CN2010201333447U CN201612783U (en) 2010-02-04 2010-02-04 Nursing tray

Applications Claiming Priority (1)

Application Number Priority Date Filing Date Title
CN2010201333447U CN201612783U (en) 2010-02-04 2010-02-04 Nursing tray

Publications (1)

Publication Number Publication Date
CN201612783U true CN201612783U (en) 2010-10-27

Family

ID=42999155

Family Applications (1)

Application Number Title Priority Date Filing Date
CN2010201333447U Expired - Fee Related CN201612783U (en) 2010-02-04 2010-02-04 Nursing tray

Country Status (1)

Country Link
CN (1) CN201612783U (en)

Similar Documents

Publication Publication Date Title
CN201612783U (en) Nursing tray
CN201949434U (en) Automatic infusion bag
CN202505882U (en) Contamination-preventing nursing tray
CN202821977U (en) Infusion tray
CN202459114U (en) Nursing tray
CN201596107U (en) Infusion bag
CN202933221U (en) Soft-package liquid medicine making-up frame
CN201625136U (en) Transfusion bag
CN202184934U (en) Flexibly packaged liquid medicine preparation rack
CN202207304U (en) Convenient infusion bag
CN201625138U (en) Multifunctional infusing bag
CN202020679U (en) Portable transfusion bag
CN202387051U (en) Infusion dispensing device
CN202437682U (en) Medicine box
CN202892425U (en) Disinfectant bottle
CN202386909U (en) Nursing tray
CN201316407Y (en) Novel infusion bottle
CN201625137U (en) Anti-pollution infusing bag
CN202143694U (en) Nursing tray
CN202920545U (en) Nursing tray
CN202437560U (en) Nursing tray
CN202409505U (en) Transfusion liquid dosing device
CN201624929U (en) Multifunctional nursing tray
CN202015348U (en) Infusion bag
CN201625135U (en) Anti-pollution infusing bag

Legal Events

Date Code Title Description
C14 Grant of patent or utility model
GR01 Patent grant
C17 Cessation of patent right
CF01 Termination of patent right due to non-payment of annual fee

Granted publication date: 20101027

Termination date: 20110204