CN201612560U - 一种坐便器上的一次性座垫 - Google Patents
一种坐便器上的一次性座垫 Download PDFInfo
- Publication number
- CN201612560U CN201612560U CN2010201478304U CN201020147830U CN201612560U CN 201612560 U CN201612560 U CN 201612560U CN 2010201478304 U CN2010201478304 U CN 2010201478304U CN 201020147830 U CN201020147830 U CN 201020147830U CN 201612560 U CN201612560 U CN 201612560U
- Authority
- CN
- China
- Prior art keywords
- seat cushion
- disposable
- toilet
- fence
- disposable seat
- Prior art date
- Legal status (The legal status is an assumption and is not a legal conclusion. Google has not performed a legal analysis and makes no representation as to the accuracy of the status listed.)
- Expired - Fee Related
Links
- 230000007246 mechanism Effects 0.000 claims abstract description 9
- 229920003023 plastic Polymers 0.000 description 3
- 239000004033 plastic Substances 0.000 description 3
- 230000015572 biosynthetic process Effects 0.000 description 2
- 238000010586 diagram Methods 0.000 description 2
- 239000000463 material Substances 0.000 description 2
- 239000007779 soft material Substances 0.000 description 2
- 230000009286 beneficial effect Effects 0.000 description 1
- 238000003763 carbonization Methods 0.000 description 1
- 230000000694 effects Effects 0.000 description 1
- 239000004744 fabric Substances 0.000 description 1
- 239000012467 final product Substances 0.000 description 1
- 238000003756 stirring Methods 0.000 description 1
Images
Landscapes
- Toilet Supplies (AREA)
Abstract
本实用新型公开了一种坐便器上的一次性座垫,包括含系固件的圈状座垫,所述圈状座垫的内环边缘连有栅栏且交连处设置有易断机构,所述圈状座垫的外环边缘连接有提手柄。具有让使用者确信该一次性座垫为首次提供,翻动时手不至于触及固有座垫的特点。
Description
技术领域
本实用新型属于座垫,更具体地说涉及一种坐便器上的一次性座垫。
背景技术
住宾馆者在使用坐式便器时,总想复用一次性座垫以确保卫生意义上的安全,现有坐式便器上的一次性座垫,是一个盖装在可翻动的固有座垫上的,效果与该固有座垫相当的圈状物,但盖装时手免不了与固有座垫接触,因此使用者不愿自行盖装,往往由宾馆方盖装,但除非是服务员当着使用者面,当场拆封并盖装,否则使用者难以确信该一次性座垫为首次使用。因此提供一种能让使用者确信该一次性座垫为首次使用的一次性座垫,具有十分重要的意义。
发明内容
本实用新型的目的是提供一种坐便器上的一次性座垫。
本实用新型一种坐便器上的一次性座垫,包括含系固件的圈状座垫,所述圈状座垫的内环边缘连有栅栏且交连处设置有易断机构,所述圈状座垫的外环边缘连接有提手柄。
本实用新型一种坐便器上的一次性座垫与现有技术相比较有如下有益效果:
无论何方人盖装的本实用新型一次性座垫,只要所述圈状座垫的内环边缘所连的栅栏及交连处设置的易断机构完好,则使用者确信该一次性座垫为首次提供,使用者借易断机构轻易去掉栅栏后,即可放心使用;使用者借所述圈状座垫的外环边缘上所连接的提手柄,连带固有座垫一齐翻动时,手也不至于触及固有座垫。
附图说明
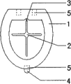
图1是以软质材料构成的本实用新型一次性座垫的俯视结构示意图;
图2是以硬质材料构成的本实用新型一次性座垫的俯视结构示意图。
具体实施方式
下面结合附图对本实用新型一种坐便器上的一次性座垫作进一步的描述。
图1所示,本实用新型一种坐便器上的一次性座垫,包括含系固件5的圈状座垫1,所述圈状座垫1的内环边缘连有栅栏2且交连处设置有易断机构3,所述圈状座垫1的外环边缘连接有提手柄4。所述圈状座垫1的大小和形状以恰好盖复固有座垫为宜,因有固有座垫承重,故所述圈状座垫1及栅栏2可由软质材料,如由织物一体化构成,易断机构3最好是经碳化形成的折痕,并且所述圈状座垫1的内环边缘与栅栏2至少有二处交连,由绳子作系固件5将所述圈状座垫1盖装在固有座垫上;图2所示,如所述圈状座垫1及栅栏2由硬质材料如塑料构成,则易断机构3只要一处即可,所述系固件5也可用塑料件横向扣住固有座垫,并且所述圈状座垫1及栅栏2,易断机构3,提手柄4,系固件5均可用塑料一体化模压制成。
使用者只有在去掉栅栏2后,则坐式便器的功能才可发挥,使用者以小的劳动换来大的放心,何乐而不为之。
Claims (1)
1.一种坐便器上的一次性座垫,包括含系固件的圈状座垫,其特征在于,所述圈状座垫的内环边缘连有栅栏且交连处设置有易断机构,所述圈状座垫的外环边缘连接有提手柄。
Priority Applications (1)
| Application Number | Priority Date | Filing Date | Title |
|---|---|---|---|
| CN2010201478304U CN201612560U (zh) | 2010-03-06 | 2010-03-06 | 一种坐便器上的一次性座垫 |
Applications Claiming Priority (1)
| Application Number | Priority Date | Filing Date | Title |
|---|---|---|---|
| CN2010201478304U CN201612560U (zh) | 2010-03-06 | 2010-03-06 | 一种坐便器上的一次性座垫 |
Publications (1)
| Publication Number | Publication Date |
|---|---|
| CN201612560U true CN201612560U (zh) | 2010-10-27 |
Family
ID=42998932
Family Applications (1)
| Application Number | Title | Priority Date | Filing Date |
|---|---|---|---|
| CN2010201478304U Expired - Fee Related CN201612560U (zh) | 2010-03-06 | 2010-03-06 | 一种坐便器上的一次性座垫 |
Country Status (1)
| Country | Link |
|---|---|
| CN (1) | CN201612560U (zh) |
Cited By (1)
| Publication number | Priority date | Publication date | Assignee | Title |
|---|---|---|---|---|
| CN101791207A (zh) * | 2010-03-06 | 2010-08-04 | 俞钟晓 | 用于坐式便器的一次性座垫 |
-
2010
- 2010-03-06 CN CN2010201478304U patent/CN201612560U/zh not_active Expired - Fee Related
Cited By (1)
| Publication number | Priority date | Publication date | Assignee | Title |
|---|---|---|---|---|
| CN101791207A (zh) * | 2010-03-06 | 2010-08-04 | 俞钟晓 | 用于坐式便器的一次性座垫 |
Similar Documents
| Publication | Publication Date | Title |
|---|---|---|
| CN201612560U (zh) | 一种坐便器上的一次性座垫 | |
| CN102133029A (zh) | 一种蒜泥制作器具 | |
| CN101791207A (zh) | 用于坐式便器的一次性座垫 | |
| CN201734347U (zh) | 一种带筷子的碗 | |
| CN202775165U (zh) | 一种凳子 | |
| CN202775544U (zh) | 一种卫生保温杯杯盖 | |
| CN202408210U (zh) | 一种提手可两用的杯子 | |
| CN202027384U (zh) | 一种蒜泥制作器具 | |
| CN204410212U (zh) | 带垃圾桶的凳子 | |
| CN206025988U (zh) | 一种削苹果机 | |
| CN202751138U (zh) | 手指残疾人使用的杯子 | |
| CN202232506U (zh) | 便便清理器 | |
| CN202515081U (zh) | 一种椅子 | |
| CN203016497U (zh) | 一种防误用水杯 | |
| CN201452661U (zh) | 一种菜罩 | |
| CN203302764U (zh) | 一种多功能卫生碗 | |
| CN203388738U (zh) | 一种碾压饺子皮器 | |
| CN202820657U (zh) | 茶杯用的滤棒 | |
| CN201897777U (zh) | 一种一次性卫生鼠标套 | |
| CN202574889U (zh) | 省力密封瓶盖 | |
| CN201929558U (zh) | 两用水壶 | |
| CN202775565U (zh) | 带圆口的八棱杯结构 | |
| CN202515079U (zh) | 一种椅子 | |
| CN202277299U (zh) | 卫生坐便器 | |
| CN202244935U (zh) | 一种新型垃圾桶 |
Legal Events
| Date | Code | Title | Description |
|---|---|---|---|
| C14 | Grant of patent or utility model | ||
| GR01 | Patent grant | ||
| C17 | Cessation of patent right | ||
| CF01 | Termination of patent right due to non-payment of annual fee |
Granted publication date: 20101027 Termination date: 20110306 |