CN201608089U - Three-position isolating grounding switch electrical connection device - Google Patents
Three-position isolating grounding switch electrical connection device Download PDFInfo
- Publication number
- CN201608089U CN201608089U CN2009203128641U CN200920312864U CN201608089U CN 201608089 U CN201608089 U CN 201608089U CN 2009203128641 U CN2009203128641 U CN 2009203128641U CN 200920312864 U CN200920312864 U CN 200920312864U CN 201608089 U CN201608089 U CN 201608089U
- Authority
- CN
- China
- Prior art keywords
- connecting rod
- electric connecting
- grounding
- rotating
- rotating shaft
- Prior art date
- Legal status (The legal status is an assumption and is not a legal conclusion. Google has not performed a legal analysis and makes no representation as to the accuracy of the status listed.)
- Expired - Fee Related
Links
Images
Landscapes
- Switch Cases, Indication, And Locking (AREA)
Abstract
本实用新型涉及一种三工位隔离接地开关电联接装置,属于电力设备领域。设有四通筒体,接地盖板和盘式绝缘子分别用螺栓固定在四通筒体上,接地电联杆通过螺栓固定在接地盖板上,隔离电联接杆通过螺栓固定在盘式绝缘子上,转动电联接杆中间与通过转轴连为一体,转轴两端通过轴承和支座相连,转轴通过转动绝缘子将三相导体连为一体,驱动轴和转轴之间经转动绝缘子相连,接地电联接杆、转动电联接杆、隔离电联接杆上分别开有表带触指安装槽,表带触指安装槽内装有多触点式表带触指,转动电联接杆分别与接地电联接杆及隔离电联接杆垂直。本实用新型安装方便,电联接的整体结构更加紧凑,节省了隔离开关的内部空间,电联接的可靠性更高。
The utility model relates to an electric connection device for a three-station isolating grounding switch, which belongs to the field of electric equipment. There is a four-way cylinder, the grounding cover plate and the disc insulator are respectively fixed on the four-way cylinder with bolts, the grounding electrical connecting rod is fixed on the grounding cover plate through bolts, and the isolation electrical connecting rod is fixed on the disc insulator through bolts , the middle of the rotating electric connecting rod is connected with the rotating shaft, the two ends of the rotating shaft are connected with the bearing and the support, the rotating shaft connects the three-phase conductors as a whole through the rotating insulator, the driving shaft and the rotating shaft are connected through the rotating insulator, and the grounding electric connecting rod , the rotating electric connecting rod, and the isolating electric connecting rod are respectively provided with watch strap contact finger installation grooves, and multi-contact watch strap contact fingers are installed in the watch strap finger mounting grooves, and the rotating electric connecting rod is connected with the grounding electric connecting rod and the isolation The electric connecting rod is vertical. The utility model is easy to install, the overall structure of the electrical connection is more compact, the inner space of the isolating switch is saved, and the reliability of the electrical connection is higher.
Description
技术领域technical field
本实用新型涉及输送电设备领域,详细讲是一种72.5千伏三工位隔离接地开关电联接装置。The utility model relates to the field of electric transmission equipment, in detail it is an electric connection device for a 72.5 kV three-position isolation grounding switch.
背景技术Background technique
众所周知:封闭式组合电器隔离接地开关经过不断更新换代,产品向着简单、方便、安全、整合方向发展,三工位隔离接地开关以它自身的优势也越来越被用户看好,但是隔离接地开关里面的导电部件结构复杂,对安装要求比较苛刻,对于开关的总体性能控制比较困难;原来采用的触指是瓣状触指,由于载流量的需求,电联接的结构比较庞大,对于开关的筒体空间尺寸要求比较大,制约了隔离接地开关向简单化小型化的方向发展。As we all know: the closed combined electrical isolation and grounding switch has been continuously updated, and the products are developing in the direction of simplicity, convenience, safety, and integration. The structure of the conductive parts is complex, the installation requirements are relatively strict, and it is difficult to control the overall performance of the switch; the original contact fingers are petal-shaped contacts. Due to the demand for current carrying capacity, the structure of the electrical connection is relatively large. The space size requirement is relatively large, which restricts the development of the isolation and grounding switch in the direction of simplification and miniaturization.
发明内容Contents of the invention
本实用新型的目的就在于克服现技术的不足,提供一种三工位隔离接地开关电联接装置,结构简单、安装方便,在满足额定电流的情况下,电联接的整体结构更加紧凑,外形更小,节省了隔离开关的内部空间,电联接的可靠性更高。The purpose of this utility model is to overcome the deficiencies of the existing technology and provide a three-position isolation grounding switch electrical connection device, which has a simple structure and is easy to install. Under the condition of meeting the rated current, the overall structure of the electrical connection is more compact and the appearance is more compact. Small size saves the internal space of the isolating switch, and the reliability of electrical connection is higher.
本实用新型采用如下技术解决方案:一种三工位隔离接地开关电联接装置,设有四通筒体,接地盖板和盘式绝缘子分别用螺栓固定在四通筒体上,接地电联杆通过螺栓固定在接地盖板上,隔离电联接杆通过螺栓固定在盘式绝缘子上,转动电联接杆中间与通过转轴连为一体,转轴两端通过轴承和支座相连,转轴通过转动绝缘子将三相导体连为一体,驱动轴和转轴之间经转动绝缘子相连,接地电联接杆、转动电联接杆、隔离电联接杆上分别开有表带触指安装槽,表带触指安装槽内装有多触点式表带触指,转动电联接杆分别与接地电联接杆及隔离电联接杆垂直。The utility model adopts the following technical solution: a three-station isolation grounding switch electrical connection device, which is provided with a four-way cylinder, the ground cover plate and the disc insulator are respectively fixed on the four-way cylinder with bolts, and the grounding electric connecting rod It is fixed on the ground cover plate by bolts, and the isolation electric connecting rod is fixed on the disc insulator by bolts. The middle of the rotating electric connecting rod is connected with the rotating shaft. The phase conductors are connected as a whole, and the drive shaft and the rotating shaft are connected through a rotating insulator. The grounding electric connecting rod, the rotating electric connecting rod, and the isolation electric connecting rod are respectively provided with watch strap contact finger installation slots, and the watch strap contact finger installation slots are equipped with The contact fingers of the multi-contact watch strap, the rotating electric connecting rods are respectively perpendicular to the grounding electric connecting rods and the isolation electric connecting rods.
本实用新型的有益效果是,结构简单、安装方便,在满足额定电流的情况下,电联接的整体结构更加紧凑,外形更小,节省了隔离开关的内部空间,电联接的可靠性更高。The beneficial effect of the utility model is that the structure is simple, the installation is convenient, the overall structure of the electrical connection is more compact and the shape is smaller when the rated current is satisfied, the internal space of the isolating switch is saved, and the reliability of the electrical connection is higher.
附图说明Description of drawings
下面结合附图和实施例对本实用新型进一步说明。Below in conjunction with accompanying drawing and embodiment the utility model is further described.
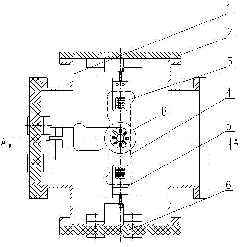
图1为本实用新型的结构示意图。Fig. 1 is the structural representation of the utility model.
图2是图1的A-A剖视图。Fig. 2 is a cross-sectional view along line A-A of Fig. 1 .
图3是图1中B部的局部放大图。Fig. 3 is a partial enlarged view of part B in Fig. 1 .
图中1.四通筒体,2.接地盖板,3.接地电联接杆,4.转动电联接杆,5.隔离电联接杆,6.盘式绝缘子,7.支座,8.转动绝缘子,9.轴承,10.转轴,11.驱动轴,12.表带触指。In the figure 1. Four-way cylinder, 2. Grounding cover, 3. Grounding electrical connecting rod, 4. Rotating electrical connecting rod, 5. Isolation electrical connecting rod, 6. Disc insulator, 7. Support, 8. Rotating Insulator, 9. Bearing, 10. Rotating shaft, 11. Drive shaft, 12. Watch strap contact finger.
具体实施方式Detailed ways
下面结合附图和具体实施例对本实用新型作进一步说明,以助于理解本实用新型的内容The utility model will be further described below in conjunction with the accompanying drawings and specific embodiments, to help understand the content of the utility model
如图1、图2、图3所示,本实用新型设有四通筒体1,接地盖板2和盘式绝缘子6分别用螺栓固定在四通筒体1上,接地电联杆3通过螺栓固定在接地盖板2上,隔离电联接杆5通过螺栓固定在盘式绝缘子6上,转动电联接杆4中间与通过转轴10连为一体,转轴10两端通过轴承9和支座7相连,转轴10通过转动绝缘子8将三相导体连为一体,驱动轴11和转轴10之间经转动绝缘子8相连,既能传动扭矩又能保证绝缘,接地电联接杆3、转动电联接杆4、隔离电联接杆5上分别开有表带触指安装槽,表带触指安装槽内装有多触点式表带触指12,转动电联接杆4分别与接地电联接杆3及隔离电联接杆5垂直。As shown in Fig. 1, Fig. 2 and Fig. 3, the utility model is provided with a four-way cylinder body 1, and the grounding cover plate 2 and the
Claims (1)
Priority Applications (1)
| Application Number | Priority Date | Filing Date | Title |
|---|---|---|---|
| CN2009203128641U CN201608089U (en) | 2009-10-20 | 2009-10-20 | Three-position isolating grounding switch electrical connection device |
Applications Claiming Priority (1)
| Application Number | Priority Date | Filing Date | Title |
|---|---|---|---|
| CN2009203128641U CN201608089U (en) | 2009-10-20 | 2009-10-20 | Three-position isolating grounding switch electrical connection device |
Publications (1)
| Publication Number | Publication Date |
|---|---|
| CN201608089U true CN201608089U (en) | 2010-10-13 |
Family
ID=42952793
Family Applications (1)
| Application Number | Title | Priority Date | Filing Date |
|---|---|---|---|
| CN2009203128641U Expired - Fee Related CN201608089U (en) | 2009-10-20 | 2009-10-20 | Three-position isolating grounding switch electrical connection device |
Country Status (1)
| Country | Link |
|---|---|
| CN (1) | CN201608089U (en) |
Cited By (1)
| Publication number | Priority date | Publication date | Assignee | Title |
|---|---|---|---|---|
| CN102024606A (en) * | 2010-12-16 | 2011-04-20 | 上海思源高压开关有限公司 | Three-station isolation ground switch |
-
2009
- 2009-10-20 CN CN2009203128641U patent/CN201608089U/en not_active Expired - Fee Related
Cited By (2)
| Publication number | Priority date | Publication date | Assignee | Title |
|---|---|---|---|---|
| CN102024606A (en) * | 2010-12-16 | 2011-04-20 | 上海思源高压开关有限公司 | Three-station isolation ground switch |
| CN102024606B (en) * | 2010-12-16 | 2013-10-30 | 上海思源高压开关有限公司 | Three-station isolation ground switch |
Similar Documents
| Publication | Publication Date | Title |
|---|---|---|
| CN105448578B (en) | A kind of disconnecting switch and its conductor | |
| CN201893269U (en) | High-voltage disconnector contact component | |
| CN103377849B (en) | Three-phase combined type isolation earthing switch | |
| CN202871668U (en) | Three-position switch for combined electric appliance | |
| CN201498869U (en) | Vacuum ring main unit | |
| CN103325557B (en) | A kind of GIS voltage transformer | |
| CN203491172U (en) | Conductive arm structure of high voltage disconnector | |
| CN201608089U (en) | Three-position isolating grounding switch electrical connection device | |
| CN104332335A (en) | High-speed grounding switch | |
| CN202564793U (en) | Inner conic type bus connecting device for gas insulated switch cabinet | |
| CN202260234U (en) | A grounding transition plate and a grounding switch using the grounding transition plate | |
| CN203734251U (en) | Three-phase common box bus used for 252kV high-voltage switch | |
| CN203491177U (en) | Built-in isolating device of load switch on outdoor column | |
| CN203481121U (en) | Outdoor enclosed type visual intelligent isolating and grounding switch | |
| CN202678187U (en) | Three-position isolation grounding combination switch | |
| CN101882528A (en) | Embedded pole type vacuum load switch | |
| CN202178527U (en) | Linear grounding switch | |
| CN203631395U (en) | High-speed grounding switch of high-voltage composite electric appliance | |
| CN202957469U (en) | Box body for sealing high-voltage switch | |
| CN202977287U (en) | Insulation pull bar structure | |
| CN204045481U (en) | A kind of 110kV isolating switch | |
| CN201860059U (en) | Compound high-voltage combined electric appliance | |
| CN202749288U (en) | Fixedly embedded pole for vacuum load switch | |
| CN201663088U (en) | Wire holder structure of outdoor high-voltage isolating switch | |
| CN201904263U (en) | Enhanced circuit connecting plate |
Legal Events
| Date | Code | Title | Description |
|---|---|---|---|
| C14 | Grant of patent or utility model | ||
| GR01 | Patent grant | ||
| CF01 | Termination of patent right due to non-payment of annual fee |
Granted publication date: 20101013 Termination date: 20141020 |
|
| EXPY | Termination of patent right or utility model |
