CN201577521U - Device for wrinkling and setting of sheet in papermaking method - Google Patents
Device for wrinkling and setting of sheet in papermaking method Download PDFInfo
- Publication number
- CN201577521U CN201577521U CN2009202894592U CN200920289459U CN201577521U CN 201577521 U CN201577521 U CN 201577521U CN 2009202894592 U CN2009202894592 U CN 2009202894592U CN 200920289459 U CN200920289459 U CN 200920289459U CN 201577521 U CN201577521 U CN 201577521U
- Authority
- CN
- China
- Prior art keywords
- wrinkling
- roller
- papermaking
- sheets
- utility
- Prior art date
- Legal status (The legal status is an assumption and is not a legal conclusion. Google has not performed a legal analysis and makes no representation as to the accuracy of the status listed.)
- Expired - Fee Related
Links
Images
Landscapes
- Paper (AREA)
Abstract
本实用新型公开了一种造纸法薄片起皱定型的装置,属于卷烟薄片技术领域。造纸法薄片起皱定型的装置由相互邻接的压辊和托辊组成,其中,转动速度较快的压辊位于上方,转动速度较慢的托辊位于下方;压辊的表面为平坦面,托辊的表面设置有均匀的沿轴向分布的凸起纹。所述的凸起纹是连续的长条形的,或间隔的短条形的。所述的托辊内设置有对其表面进行加热的热水管。本实用新型设计合理,结构简单,使用方便,实施容易,起皱定型效果好,能较好地提高造纸法薄片的质量。
The utility model discloses a device for wrinkling and shaping thin sheets by a papermaking method, which belongs to the technical field of cigarette thin sheets. The device for wrinkling and shaping of thin sheets in papermaking is composed of pressing rollers and supporting rollers adjacent to each other. Among them, the pressing roller with a faster rotating speed is located at the top, and the supporting roller with a slower rotating speed is located at the bottom; the surface of the pressing roller is flat, and the supporting roller The surface of the roller is provided with uniform raised lines distributed along the axial direction. The raised lines are continuous long strips or spaced short strips. A hot water pipe for heating the surface of the idler roller is arranged inside. The utility model has the advantages of reasonable design, simple structure, convenient use, easy implementation, good wrinkling and setting effect, and can better improve the quality of papermaking sheets.
Description
技术领域technical field
本实用新型属于卷烟薄片技术领域,具体涉及一种能将造纸法薄片加工为起皱定型薄片的装置。The utility model belongs to the technical field of cigarette sheets, in particular to a device capable of processing paper-making sheets into wrinkled and shaped sheets.
背景技术Background technique
现有技术中,造纸法薄片具有良好的降焦特性,作为卷烟产品降焦降耗的重要手段之一,其在卷烟产品中的应用日益广泛。薄片起皱定型可提高其卷曲度,提高填充性能,进一步改善燃烧性,提高感官质量,达到降低消耗,提高产品质量的目的。实现薄片起皱定型的工艺有不同的方式,目前,只有辊压法薄片有起皱产品,但其起皱效果不够理想,而且,其装置不适用于造纸法薄片的起皱定型。In the prior art, paper-making thin sheets have good tar reduction properties, and as one of the important means for reducing tar and consumption of cigarette products, they are increasingly widely used in cigarette products. Sheet wrinkling and shaping can increase its curling degree, improve filling performance, further improve combustibility, improve sensory quality, achieve the purpose of reducing consumption and improving product quality. There are different ways to realize the wrinkling and setting of the sheet. At present, only the rolling method has the wrinkling products, but the wrinkling effect is not ideal, and the device is not suitable for the wrinkling and setting of the paper-making method.
实用新型内容Utility model content
针对现有技术的上述不足,本实用新型要解决的技术问题是提供一种造纸法薄片起皱定型的装置,将造纸法薄片起皱定型,从而,提高造纸法薄片的质量。Aiming at the above-mentioned deficiencies in the prior art, the technical problem to be solved by the utility model is to provide a device for wrinkling and shaping paper-making sheets, which can wrinkle and shape paper-making sheets, thereby improving the quality of paper-making sheets.
本实用新型的技术方案是:造纸法薄片起皱定型的装置含有机架、传动机构、轴承,本装置的起皱定型部分由相互邻接的压辊和托辊组成,其中,转动速度较快的压辊位于上方,转动速度较慢的托辊位于下方;压辊的表面为平坦面,托辊的表面设置有均匀的沿轴向分布的凸起纹。所述的凸起纹是连续的长条形的,或间隔的短条形的。所述的托辊内设置有对其表面进行加热的热水管。The technical scheme of the utility model is: the device for wrinkling and shaping of thin sheets in the papermaking method includes a frame, a transmission mechanism and a bearing, and the wrinkling and shaping part of the device is composed of pressing rollers and supporting rollers adjacent to each other. The pressure roller is located above, and the idler roller with slower rotation speed is located below; the surface of the press roller is flat, and the surface of the idler roller is provided with uniform raised lines distributed along the axial direction. The raised lines are continuous long strips or spaced short strips. A hot water pipe for heating the surface of the idler roller is arranged inside.
本实用新型设计合理,结构简单,使用方便,实施容易,起皱定型效果好,能较好地提高造纸法薄片的质量。The utility model has the advantages of reasonable design, simple structure, convenient use, easy implementation, good wrinkling and setting effect, and can better improve the quality of papermaking sheets.
附图说明Description of drawings
附图1是本实用新型一实施例结构示意图;Accompanying drawing 1 is a structural representation of an embodiment of the utility model;
附图2是附图1的右视结构示意图;Accompanying drawing 2 is the right view structure diagram of accompanying drawing 1;
附图3是附图2中A处放大剖视结构示意图。Accompanying drawing 3 is the enlarged cross-sectional structure schematic diagram of A place in accompanying
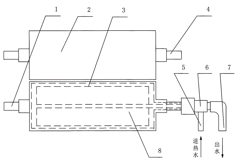
附图中标记分述如下:1-托辊轴;2-压辊;3-热水管;4-压辊轴;5-热水进口;6-旋转接头;7-热水出口;8-托辊;9-薄片;10-凸起纹。The marks in the drawings are described as follows: 1- idler shaft; 2- pressure roller; 3- hot water pipe; 4- pressure roller shaft; 5- hot water inlet; 6- rotary joint; Roller; 9-sheet; 10-raised pattern.
具体实施方式Detailed ways
下面结合附图对本实用新型的具体实施方式作进一步详细的描述。首先说明,为简便起见,本装置固定在机架上,并与电机和控制系统相连接等内容未显示在图上,因这些内容都是现有技术中常用的,本领域的普通技术人员均能自行完成。如附图1所示,本装置由压辊2和托辊8组成,位于上方的压辊2表面为平坦面,位于下方的托辊8表面设置有凸起纹10,在托辊8的内部还设置有对其表面进行加热的热水管3。热水管3中的热水经旋转接头6上的热水进口5和热水出口7输送和输出。附图2所示,本装置工作时,是将薄片从压辊2和托辊8之间经过。附图3所示为凸起纹10,此凸起纹10可以是与托辊8长度一致的长条,也可以是间隔的短条,短条可以交叉设置也可以平行设置。本装置使用时在生产线上,设置于涂布工序与干燥工序之间,从涂布工序来的薄片进入本装置的压辊2和托辊8之间,本装置的压辊2和托辊8是相向转动的,薄片随压辊2和托辊8在两辊之间经过。由于压辊2的速度较快,托辊8速度较慢,在转动的同时,托辊8上的凸起纹10将薄片推成起皱的状态,在托辊8内热水管3的加热作用下,使已起皱的薄片初步干燥并定型,本装置加工的造纸法薄片的起皱效果很好。起皱后的薄片再送入干燥工序干燥到设定指标。Below in conjunction with accompanying drawing, the specific embodiment of the present utility model is described in further detail. First of all, for the sake of simplicity, the device is fixed on the frame and connected with the motor and the control system, etc. are not shown in the figure, because these contents are commonly used in the prior art, and those of ordinary skill in the art can understand Can do it by yourself. As shown in Figure 1, the device is composed of a
Claims (3)
Priority Applications (1)
| Application Number | Priority Date | Filing Date | Title |
|---|---|---|---|
| CN2009202894592U CN201577521U (en) | 2009-12-22 | 2009-12-22 | Device for wrinkling and setting of sheet in papermaking method |
Applications Claiming Priority (1)
| Application Number | Priority Date | Filing Date | Title |
|---|---|---|---|
| CN2009202894592U CN201577521U (en) | 2009-12-22 | 2009-12-22 | Device for wrinkling and setting of sheet in papermaking method |
Publications (1)
| Publication Number | Publication Date |
|---|---|
| CN201577521U true CN201577521U (en) | 2010-09-15 |
Family
ID=42719513
Family Applications (1)
| Application Number | Title | Priority Date | Filing Date |
|---|---|---|---|
| CN2009202894592U Expired - Fee Related CN201577521U (en) | 2009-12-22 | 2009-12-22 | Device for wrinkling and setting of sheet in papermaking method |
Country Status (1)
| Country | Link |
|---|---|
| CN (1) | CN201577521U (en) |
Cited By (4)
| Publication number | Priority date | Publication date | Assignee | Title |
|---|---|---|---|---|
| CN102835731A (en) * | 2012-07-24 | 2012-12-26 | 云南瑞升烟草技术(集团)有限公司 | Paper-making method reconstituted tobacco with stripes or patterns |
| CN103082396A (en) * | 2013-03-05 | 2013-05-08 | 中国烟草总公司郑州烟草研究院 | Manufacturing technique of tobacco remaking with fold paper-making method |
| CN106714587A (en) * | 2014-08-20 | 2017-05-24 | 菲利普莫里斯生产公司 | Methods for forming aerosol-generating substrates having a reduced amount of tobacco specific nitrosamines |
| CN110381753A (en) * | 2017-04-19 | 2019-10-25 | 菲利普莫里斯生产公司 | Method for producing sheet-like tobacco material |
-
2009
- 2009-12-22 CN CN2009202894592U patent/CN201577521U/en not_active Expired - Fee Related
Cited By (7)
| Publication number | Priority date | Publication date | Assignee | Title |
|---|---|---|---|---|
| CN102835731A (en) * | 2012-07-24 | 2012-12-26 | 云南瑞升烟草技术(集团)有限公司 | Paper-making method reconstituted tobacco with stripes or patterns |
| CN103082396A (en) * | 2013-03-05 | 2013-05-08 | 中国烟草总公司郑州烟草研究院 | Manufacturing technique of tobacco remaking with fold paper-making method |
| CN106714587A (en) * | 2014-08-20 | 2017-05-24 | 菲利普莫里斯生产公司 | Methods for forming aerosol-generating substrates having a reduced amount of tobacco specific nitrosamines |
| CN106714587B (en) * | 2014-08-20 | 2021-10-22 | 菲利普莫里斯生产公司 | Method for forming an aerosol-generating matrix with reduced amounts of tobacco-specific nitrosamines |
| CN110381753A (en) * | 2017-04-19 | 2019-10-25 | 菲利普莫里斯生产公司 | Method for producing sheet-like tobacco material |
| CN110381753B (en) * | 2017-04-19 | 2022-03-11 | 菲利普莫里斯生产公司 | Method for producing sheet-like tobacco material |
| US11825869B2 (en) | 2017-04-19 | 2023-11-28 | Philip Morris Products S.A. | Method for the production of sheet-like tobacco material |
Similar Documents
| Publication | Publication Date | Title |
|---|---|---|
| CN201577521U (en) | Device for wrinkling and setting of sheet in papermaking method | |
| CN210070369U (en) | Hot air drying device for paper sheet forming | |
| CN204641064U (en) | The radium-shine PET moulding press of wide cut | |
| CN206644506U (en) | A commercial printing press with height self-adjusting platen rollers | |
| CN207808753U (en) | A kind of smooth drying unit of printed matter surface | |
| CN203401786U (en) | A stone paper wall wallpaper vertical rotary screen printing machine | |
| CN206347836U (en) | A kind of steam-powered sheet material drying conveying device | |
| CN204398468U (en) | A kind of laminating machine device | |
| CN211764207U (en) | Environment-friendly printing paperboard drying mechanism | |
| CN202644295U (en) | Energy-saving environment-friendly double-face fluffing paper machine | |
| CN206357696U (en) | A kind of corrugated paper impression device for being used to produce packing case | |
| CN204547534U (en) | A kind of high-temperature hot transfer device | |
| CN213798724U (en) | Adsorption type printing product printing ink air drying device | |
| CN204933849U (en) | A kind of device of anti-cell coating pole piece roll banding | |
| CN206663862U (en) | Corrugated paper composite drying device | |
| CN203407454U (en) | Feeding hole of tea leaf water removing machine | |
| CN102839558B (en) | Papermaking equipment, papermaking method and living paper | |
| CN204183958U (en) | The printing device of wallpaper machine | |
| CN204589706U (en) | Paper handkerchief fast-drying device | |
| CN221480410U (en) | Pulp forming differential transfer mechanism | |
| CN203726981U (en) | Continuous heat transfer printing device for steel plate | |
| CN202062782U (en) | Multifunctional compounding-machine heating device | |
| CN218203614U (en) | A drying device for special paper production | |
| CN217705156U (en) | Drying device for water-based ink printing paper | |
| CN202626747U (en) | Papermaking equipment |
Legal Events
| Date | Code | Title | Description |
|---|---|---|---|
| C14 | Grant of patent or utility model | ||
| GR01 | Patent grant | ||
| CF01 | Termination of patent right due to non-payment of annual fee | ||
| CF01 | Termination of patent right due to non-payment of annual fee |
Granted publication date: 20100915 Termination date: 20171222 |
